Термекс IRP 150 V combi ЭдЭБ00582 - Инструкция по эксплуатации

Термекс IRP 150 V combi ЭдЭБ00582

Водонагреватель Термекс IRP 150 V combi ЭдЭБ00582 - инструкция пользователя по применению, эксплуатации и установке на русском языке. Мы надеемся, она поможет вам решить возникшие у вас вопросы при эксплуатации техники.

Если остались дополнительные вопросы — свяжитесь с нами через контактную форму.

1 Страница 1
2 Страница 2
3 Страница 3
4 Страница 4
5 Страница 5
6 Страница 6
7 Страница 7
8 Страница 8
9 Страница 9
10 Страница 10
11 Страница 11
12 Страница 12
13 Страница 13
14 Страница 14
15 Страница 15
16 Страница 16
Страница: / 16

Содержание:

  • Страница 2 – hermex; Комплект поставки; Назначение
  • Страница 4 – Указание мер безопасности; только квалифицированным персоналом!; Принцип действия
  • Страница 8 – II
  • Страница 14 – Сведения об изготовителе; ICS
Загрузка инструкции

Руководство по эксплуатации

User manual

www.thermex.ru

Серия

Series

IRP (combi)

RU

Электрический накопительный

ВОДОН АГРЕ ВАТЕЛЬ

Electric storage water heater

IRP 150 V

(combi)

Модели

Models

IRP 200 V

(combi)

IRP 280 V

(combi)

IRP 300 V

(combi)

"Загрузка инструкции" означает, что нужно подождать пока файл загрузится и можно будет его читать онлайн. Некоторые инструкции очень большие и время их появления зависит от вашей скорости интернета.

Краткое содержание

Страница 2 - hermex; Комплект поставки; Назначение

0,05 / 0,7 МПа 230/400 В~ , 50 Гц 6 кВт 3/4 " IPX4 0 + 3 ...+ 40 С 0 +18…+74 С ±5 0 С Давление в магистрали холодной воды, min / max Питающая электросеть – трехфазная (или однофазная), напряжение, частота Мощность трубчатого электронагревателя (ТЭНа) Диаметр резьбы патрубков подключения холодной...

Страница 4 - Указание мер безопасности; только квалифицированным персоналом!; Принцип действия

Информация о месте нанесения и способе определения даты изготовления: Дата выпуска изделия закодирована в уникальном серийном номере, расположенном на идентификационной табличке (стикере), расположенной в нижней части на корпусе изделия. Серийный номер изделия состоит из тринадцати цифр. Третья и че...

Страница 8 - II

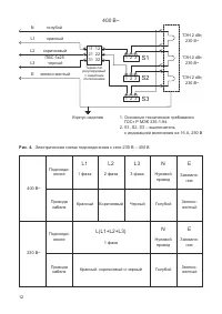
При подключении ЭВН в местах, не снабженных водопроводом, допускается подавать воду в ЭВН из вспомогательной емкости с использованием насосной станции, либо из емкости, размещённой на высоте не менее 5 метров от верхней точки ЭВН. Подключение к электросети Перед включением водонагревателя к электрич...

Характеристики

Другие модели - Водонагреватели Термекс

Все водонагреватели Термекс