Тепловые завесы Тепломаш КЭВ-45П5031Е - инструкция пользователя по применению, эксплуатации и установке на русском языке. Мы надеемся, она поможет вам решить возникшие у вас вопросы при эксплуатации техники.
Если остались вопросы, задайте их в комментариях после инструкции.
"Загружаем инструкцию", означает, что нужно подождать пока файл загрузится и можно будет его читать онлайн. Некоторые инструкции очень большие и время их появления зависит от вашей скорости интернета.

26
Руководство по эксплуатации и монтажу. Технический паспорт
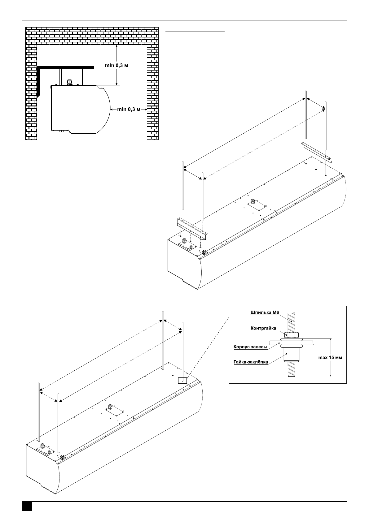
МОНТАЖ
А2
290 мм
ТМ310252
А2
290 мм
ТМ310253
Монтаж на шпильки.
Горизонтальный монтаж может быть осуществлён за счет
подвешивания завесы на шпильки с резьбой. Подвешивание
может осуществляться как прямо в корпус завесы, так и с
помощью кронштейнов, входящих в комплектность. Для этого
на верхней крышки корпуса завесы предусмотрены гайки-
заклёпки с резьбой М8.
ТМ310057
ТМ310062
Содержание
- 2 многолетний опыт и профессионализм при изготовлении продукции.; Поздравляем Вас с приобретением; Внешний вид изделий или отдельных компонентов может отличаться; Филиал АО «НПО» Тепломаш» в Москве
- 3 Содержание
- 4 ОПАСНО; МЕРЫ БЕЗОПАСНОСТИ
- 5 за советом и информацией.; ВНИМАНИЕ; в технических характеристиках.; Не устанавливайте завесу в следующих местах:; г внутри рефрижератора или другого холодильного оборудования; ПРЕДУПРЕЖДЕНИЕ; Места для установки
- 6 Срок службы завесы составляет не менее 5 лет; Шум и вибрация
- 7 Идентификатор продукции; Маркировка воздушно-тепловых завес; МАРКИРОВКА И ЗНАКИ; Серийный номер
- 8 Знаки нанесенные на изделие:; Предупреждающие знаки
- 9 Обязательный комплект поставки; КОМПЛЕКТНОСТЬ
- 10 ТЕХНИЧЕСКИЕ ХАРАКТЕРИСТИКИ
- 12 Функциональные возможности:; НАЗНАЧЕНИЕ И УСТРОЙСТВО; Назначение и функции
- 13 не снабжены самовозвратным механизмом.; Аварийное отключение нагревателей
- 14 Принудительное включение вентилятора
- 15 Проводной пульт HL10 с электронным термостатом; находится внутри упаковочной коробки.; Пульт HL10 с электронным термостатом; УПРАВЛЕНИЕ
- 16 Панель дисплея; Room; Установка скорости вентилятора:; Управление завесой
- 17 Установка заданной температуры:; При нажатии кнопок на пульте
- 18 Установка/снятие защиты от низких температур:; Установка параметров пульта
- 19 Выбор единицы измерения температуры С; Коды ошибок пульта; Разъём КВ
- 20 Схема подключения группы завес; люка завесы установить резиновую втулку или кабельный ввод.; Управление группой
- 21 • Контакты КВ замкнуты; срабатывания КВ или выключатся, если они были выключены.; Схема подключения концевого выключателя к группе завес; Подключение концевого выключателя
- 22 Настройка и установка температуры внешнего термостата:; где Т; то частота вращения минимальная.; КВ; Подключение концевого выключателя и внешнего термостата
- 23 поставлено за отдельную плату по желанию заказчика.; Опционное оборудование; Схема подключения ПКП к группе завес; Подключение ПКП охранно-пожарной сигнализации
- 24 Модель; воздуховыпускные окна/сопла; МОНТАЖ; Габаритные и установочные размеры
- 25 min; Основные этапы монтажа:; Горизонтальная установка
- 28 МОНТАЖ, ПОДКЛЮЧЕНИЕ И ОБСЛУЖИВАНИЕ ЗАВЕСЫ; подключения трёхфазной завесы.; ПОДКЛЮЧЕНИЕ К ЭЛЕКТРОСЕТИ; Защитные устройства
- 29 Основные этапы подключения:; Монтажный люк завесы; Ведущая; Схема подключения к электросети
- 30 Цепь питания Х1; Цепь питания Х2
- 31 Перед включением выполнить следующие проверки:; завесу на 20 минут в хорошо проветриваемом помещении.; Транспортные повреждения:; Проверка безопасности; ВВОД В ЭКСПЛУАТАЦИЮ; Пробный пуск; ТРАНСПОРТИРОВКА
- 32 Перечень работ по техническому обслуживанию:; УХОД И ТЕХНИЧЕСКОЕ ОБСЛУЖИВАНИЕ; Периодичность технического обслуживания
- 33 Проблема; Устранение неисправностей
- 34 Страна происхождения товара: Российская Федерация; СВЕДЕНИЯ О СЕРТИФИКАЦИИ; AC
- 35 Для заметок
- 36 Печатное издание доступно в электронном формате PDF.












