Тепловые завесы Тепломаш КЭВ-27П6049Е - инструкция пользователя по применению, эксплуатации и установке на русском языке. Мы надеемся, она поможет вам решить возникшие у вас вопросы при эксплуатации техники.
Если остались вопросы, задайте их в комментариях после инструкции.
"Загружаем инструкцию", означает, что нужно подождать пока файл загрузится и можно будет его читать онлайн. Некоторые инструкции очень большие и время их появления зависит от вашей скорости интернета.

22
Руководство по эксплуатации и монтажу. Технический паспорт
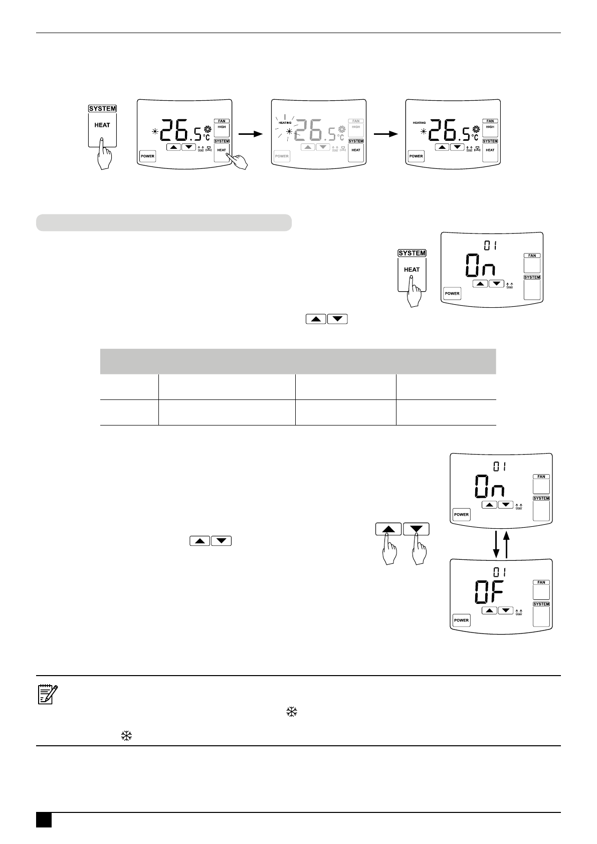
УПРАВЛЕНИЕ
• В том случае, если при активной первой ступени нагрева
недостаточно мощности или необходимо достичь заданную
температуру (Set To) в короткий срок, необходимо активировать
вторую ступень нагрева.
Номер
параметра
Название
Значение параметра
Значение параметра
по умолчанию
01
Защита от низких температур
On: установлено
OF: снято
On: установлено
02
Выбор единицы измерения
температуры С°/F°
C: Цельсий
F: Фаренгейт
С: Цельсий
Установка/снятие защиты от низких температур:
• В нормальном режиме прикоснитесь к полю SYSTEM пульта
HL18 и удерживайте палец в течении 5-ти секунд. На дисплее
отобразится меню параметров.
• Выберите номер параметра 01 – защита от низких температур
(малые цифры), прикоснувшись к полю SYSTEM.
• Затем прикоснитесь к полю
, чтобы выбрать значение
параметра
On
– установлено или
OF
– снято. Пульт установит
режим по истечении 15-ти секунд, если нет дальнейших действий
и вернется в нормальный режим работы.
Вход в меню параметров пульта:
• В нормальном режиме прикоснитесь к полю SYSTEM пульта
HL18 и удерживайте палец в течении 5-ти секунд. На дисплее
отобразится меню параметров.
• Выберите номер параметра (малые цифры), прикоснувшись к
полю SYSTEM.
• Выберите значение параметра, прикоснувшись к полю
.
В нормальном режиме работы пульта, когда текущая температура в помещении (Room) установится
ниже чем минус 20°C (-4°F), принудительно включится низкая скорость вентилятора и первая ступень
нагрева, на дисплее отобразится индикатор . При повышении текущей температуры в помещении
(Room) до минус 15°C (5°F) защита от низких температур будет отключена, на дисплее исчезнет
индикатор и пульт продолжит работать в режиме, который был установлен ранее.
ТМ310072
ТМ310073
5 сек
Установка параметров пульта
ТМ310071
5 сек
Содержание
- 2 Руководство по эксплуатации и монтажу. Технический паспорт; многолетний опыт и профессионализм при изготовлении продукции.; Поздравляем Вас с приобретением; Внешний вид изделий или отдельных компонентов может отличаться; Филиал АО «НПО» Тепломаш» в Москве; Оптовые и розничные продажи
- 3 Серия 600 Колонны прямоточные с электрическим источником тепла; Содержание
- 4 ОПАСНО; МЕРЫ БЕЗОПАСНОСТИ
- 5 за советом и информацией.; ВНИМАНИЕ; в технических характеристиках.; Не устанавливайте завесу в следующих местах:; г внутри рефрижератора или другого холодильного оборудования; ПРЕДУПРЕЖДЕНИЕ; Места для установки
- 6 Срок службы завесы составляет не менее 5 лет; Шум и вибрация
- 7 Идентификатор продукции; Маркировка воздушно-тепловых завес; МАРКИРОВКА И ЗНАКИ; Серийный номер
- 8 Знаки нанесенные на изделие:; Предупреждающие знаки
- 9 Обязательный комплект поставки; КОМПЛЕКТНОСТЬ
- 10 ТЕХНИЧЕСКИЕ ХАРАКТЕРИСТИКИ
- 16 Функциональные возможности:; НАЗНАЧЕНИЕ И УСТРОЙСТВО; Назначение и функции
- 17 не снабжены самовозвратным механизмом.; Аварийное отключение нагревателей
- 18 Принудительное включение вентилятора
- 19 Проводной пульт HL18 с электронным термостатом; находится внутри упаковочной коробки.; Пульт HL18 с электронным термостатом; УПРАВЛЕНИЕ
- 20 Панель дисплея; Управление завесой
- 21 Установка заданной температуры:; SYSTEM; Активация режима мощности:; При нажатии кнопок на пульте
- 22 Установка/снятие защиты от низких температур:; Установка параметров пульта
- 23 Выбор единицы измерения температуры С; Коды ошибок пульта; Разъём КВ
- 24 дублирующие провода от кабеля управления.
- 25 Схема подключения группы завес; люка завесы установить резиновую втулку или кабельный ввод.; Управление группой
- 26 • Контакты КВ замкнуты; срабатывания КВ или выключатся, если они были выключены.; Схема подключения концевого выключателя к группе завес; Подключение концевого выключателя
- 27 Схема подключения ПКП к группе завес; поставлено за отдельную плату по желанию заказчика.; Наименование оборудования может; Опционное оборудование
- 28 МОНТАЖ, ПОДКЛЮЧЕНИЕ И ОБСЛУЖИВАНИЕ ЗАВЕСЫ; МОНТАЖ; Габаритные и установочные размеры; Вид сверху
- 29 Установка на основание завесы; max h; Основные этапы монтажа:
- 30 используется двухполюсный и двухполюсное УЗО.; ПОДКЛЮЧЕНИЕ К ЭЛЕКТРОСЕТИ; Защитные устройства
- 31 Схема подключения к электросети; Подключение может осуществляться как сверху, так и снизу завесы.; Верхний монтажный люк завесы; PE
- 32 или нижнего подключения к электросети.
- 33 данной модели завесы.; Цепь питания Х2; Цепь питания Х2
- 34 Ведущая завеса
- 35 Транспортные повреждения:; некомплекта незамедлительно свяжитесь с вашим продавцом.; Безопасность при транспортировке:; от внешних воздействий; Перед включением выполнить следующие проверки:; табличным данным завесы; Проверка безопасности; ВВОД В ЭКСПЛУАТАЦИЮ; Пробный пуск; ТРАНСПОРТИРОВКА
- 36 Перечень работ по техническому обслуживанию:; УХОД И ТЕХНИЧЕСКОЕ ОБСЛУЖИВАНИЕ; Периодичность технического обслуживания; остальные панели изделия.
- 37 При снятии панели необходимо отвернуть винты по
- 38 Проблема; Устранение неисправностей
- 39 Страна происхождения товара: Российская Федерация; СВЕДЕНИЯ О СЕРТИФИКАЦИИ; AC
- 40 Изготовитель: АО «НПО «Тепломаш»; Печатное издание доступно в электронном формате PDF.; Произведено в Российской Федерации












