Тепловые завесы Тепломаш КЭВ-18П4041Е - инструкция пользователя по применению, эксплуатации и установке на русском языке. Мы надеемся, она поможет вам решить возникшие у вас вопросы при эксплуатации техники.
Если остались вопросы, задайте их в комментариях после инструкции.
"Загружаем инструкцию", означает, что нужно подождать пока файл загрузится и можно будет его читать онлайн. Некоторые инструкции очень большие и время их появления зависит от вашей скорости интернета.

Серия 400 Комфорт с электрическим источником тепла
31
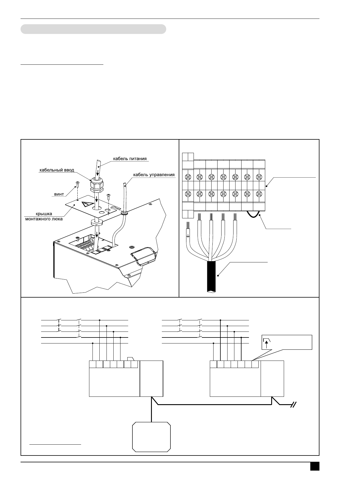
ПОДКЛЮЧЕНИЕ К ЭЛЕКТРОСЕТИ
Питание завес осуществляется от электросети переменного тока с номинальным
напряжением ~380 (400) В.
Основные этапы подключения:
.
а Установите в электрощите автоматический выключатель и УЗО, соответствующие
данной модели завесы.
.
б Подключите к выходным клеммам автоматического выключателя и УЗО кабель
питания, соответствующий данной модели.
.
в С помощью отвёртки с крестовым наконечником, откройте крышку монтажного
люка завесы, открутив винты.
.
г
Заведите кабель питания к клеммной колодке через кабельный ввод монтажного
люка и подключите в соответствии со схемой.
.
д Закройте крышку монтажного люка в обратном порядке.
Монтажный люк завесы
Подключение кабеля питания ~380 (400) В
PE
PE L1
L1
L2
L2
L3
L3 N
N
N3
N3
N4
N4
L1
L2
L3
N
кабель питания
перемычка
клеммная колодка
Схема подключения группы завес к трёхфазной сети переменного тока с напряжением ~380 (400) В
PE
PE
L1
L1
L2
L2
L3
L3
N
N
N3
N3
N4
N4
Ведущая
завеса
Ведомая
завеса 1
PCB-AC
PCB-AC
перемычку удалить
с ведомых завес!
Master
Slave 1
L1
L2
L3
N
N
3/
N
/PE
~
380 В 50 Гц
3/
N
/PE
~
380 В 50 Гц
PE
PE
УЗО
УЗО
QF*
QF*
Условные обозначения:
*QF - автоматический выключатель
Кабель управления
(Master)
Кабель управления (Slave 1)
L1
L2
L3
ТМ310048
ТМ310149
ТМ310150
Схема подключения к электросети
Пульт HL10
Содержание
- 2 многолетний опыт и профессионализм при изготовлении продукции.; Поздравляем Вас с приобретением; Внешний вид изделий или отдельных компонентов может отличаться; Филиал АО «НПО» Тепломаш» в Москве
- 3 Содержание
- 4 ОПАСНО; МЕРЫ БЕЗОПАСНОСТИ
- 5 за советом и информацией.; ВНИМАНИЕ; в технических характеристиках.; Не устанавливайте завесу в следующих местах:; г внутри рефрижератора или другого холодильного оборудования; ПРЕДУПРЕЖДЕНИЕ; Места для установки
- 6 Срок службы завесы составляет не менее 5 лет; Шум и вибрация
- 7 Идентификатор продукции; Маркировка воздушно-тепловых завес; МАРКИРОВКА И ЗНАКИ; Серийный номер
- 8 Знаки нанесенные на изделие:; Предупреждающие знаки
- 9 Обязательный комплект поставки; КОМПЛЕКТНОСТЬ
- 10 ТЕХНИЧЕСКИЕ ХАРАКТЕРИСТИКИ
- 14 Функциональные возможности:; НАЗНАЧЕНИЕ И УСТРОЙСТВО; Назначение и функции
- 15 не снабжены самовозвратным механизмом.; Аварийное отключение нагревателей
- 16 Принудительное включение вентилятора
- 17 Проводной пульт HL10 с электронным термостатом; находится внутри упаковочной коробки.; Пульт HL10 с электронным термостатом; УПРАВЛЕНИЕ; Пульт дистанционного управления
- 18 Панель дисплея; Room; Установка скорости вентилятора:; Управление завесой
- 19 Установка заданной температуры:; При нажатии кнопок на пульте
- 20 Установка/снятие защиты от низких температур:; Установка параметров пульта
- 21 Выбор единицы измерения температуры С; Коды ошибок пульта; Разъём КВ
- 22 Схема подключения группы завес; люка завесы установить резиновую втулку или кабельный ввод.; Управление группой
- 23 • Контакты КВ замкнуты; срабатывания КВ или выключатся, если они были выключены.; Схема подключения концевого выключателя к группе завес; Подключение концевого выключателя
- 24 Настройка и установка температуры внешнего термостата:; где Т; то частота вращения минимальная.; КВ; Подключение концевого выключателя и внешнего термостата
- 25 поставлено за отдельную плату по желанию заказчика.; Опционное оборудование; Схема подключения ПКП к группе завес; Подключение ПКП охранно-пожарной сигнализации
- 26 Модель; воздухозаборное окно; МОНТАЖ; Габаритные и установочные размеры
- 27 проём; max 5 м; Основные этапы монтажа:; Монтаж завес рекомендуется осуществлять; Горизонтальная установка
- 28 Горизонтальный монтаж может быть осуществлён за счет
- 29 Вертикальная установка
- 30 МОНТАЖ, ПОДКЛЮЧЕНИЕ И ОБСЛУЖИВАНИЕ ЗАВЕСЫ; подключения трёхфазной завесы.; ПОДКЛЮЧЕНИЕ К ЭЛЕКТРОСЕТИ; Защитные устройства
- 31 Основные этапы подключения:; Монтажный люк завесы; Ведущая; Схема подключения к электросети
- 32 Цепь питания Х1; Цепь питания Х2
- 33 Перед включением выполнить следующие проверки:; завесу на 20 минут в хорошо проветриваемом помещении.; Транспортные повреждения:; Проверка безопасности; ВВОД В ЭКСПЛУАТАЦИЮ; Пробный пуск; ТРАНСПОРТИРОВКА
- 34 Перечень работ по техническому обслуживанию:; УХОД И ТЕХНИЧЕСКОЕ ОБСЛУЖИВАНИЕ; Периодичность технического обслуживания
- 35 Проблема; Устранение неисправностей
- 36 Страна происхождения товара: Российская Федерация; СВЕДЕНИЯ О СЕРТИФИКАЦИИ; AC
- 37 Для заметок
- 40 Печатное издание доступно в электронном формате PDF.












