Тепловентиляторы Ballu BHP-W3-15LN - инструкция пользователя по применению, эксплуатации и установке на русском языке. Мы надеемся, она поможет вам решить возникшие у вас вопросы при эксплуатации техники.
Если остались вопросы, задайте их в комментариях после инструкции.
"Загружаем инструкцию", означает, что нужно подождать пока файл загрузится и можно будет его читать онлайн. Некоторые инструкции очень большие и время их появления зависит от вашей скорости интернета.

16
ye
llo
w
-g
re
en
bla
ck
blu
e
low speed
hight speed
middle speed
re
d
gr
ey
br
ow
n
C
or
an
ge
1
2
3
4
5
6
7
ХТ
2
VENT 2/3
L <- BRC-C
VENT MAX
VENT 1/3
HEAT N
N
HEAT L
YA1
Пульт В
RC-W
SA1
I
II
III
0
SK1
t ,° C
GND
Y
X
RK1
- t°
R e m o t e te m p e r a t u r e
s e n s o r (R T S )
ХТ
1
12
11
10
9
8
ye
llo
w
-g
re
en
bla
ck
blu
e
low speed
hight speed
middle speed
re
d
gr
ey
br
ow
n
C
or
an
ge
PE
N
L
~ 230V
QF1
ye
llo
w
-g
re
en
bla
ck
blu
e
low speed
hight speed
middle speed
re
d
gr
ey
br
ow
n
C
or
an
ge
1
2
3
4
5
6
7
ХТ
2
VENT 2/3
L <- BRC-C
VENT MAX
VENT 1/3
HEAT N
N
HEAT L
YA1
Пульт В
RC-W
SA1
I
II
III
0
SK1
t ,°C
GND
Y
X
RK1
- t°
R e m o t e t e m p e r a t u r e
s e n s o r (R T S )
ХТ
1
12
11
10
9
8
PE
N
L
~ 230V
QF1
Тепловентилятор
Тепловентилятор
Тепловентилятор
ye
llo
w
-g
re
en
bla
ck
blu
e
low speed
hight speed
middle speed
re
d
gr
ey
br
ow
n
C
or
an
ge
Тепловентилятор
ye
llo
w
-g
re
en
bla
ck
blu
e
low speed
hight speed
middle speed
re
d
gr
ey
br
ow
n
C
or
an
ge
ср
ед
ня
я
ск
ор
ос
ть
ми
ни
ма
ль
на
я
ск
ор
ос
ть
Тепловентилятор
ма
кс
им
ал
ьн
ая
ск
ор
ос
ть
N
L
~ 230V
QF1
PE
ср
ед
ня
я
ск
ор
ос
ть
ми
ни
ма
ль
на
я
ск
ор
ос
ть
ма
кс
им
ал
ьн
ая
ск
ор
ос
ть
ye
llo
w
-g
re
en
bla
ck
blu
e
low speed
hight speed
middle speed
re
d
gr
ey
br
ow
n
C
or
an
ge
Тепловентилятор
ср
ед
ня
я
ск
ор
ос
ть
ми
ни
ма
ль
на
я
ск
ор
ос
т
ь
ма
кс
им
ал
ьн
ая
ск
ор
ос
ть
N
L
~ 230V
QF1
PE
Подключение электромагнитного
привода двух
-/
трехходового вентиля без возвратной пружины
:
1
2
HEAT L
HEAT N
Контроллер
BRC-W
КМ
1
YA1
КМ
1.1
КМ
1.2
L
N
КМ
1 -
электромагнитное реле
;
КМ
1.1 -
нормально разомкнутый контакт реле
;
КМ
1.2 -
нормально замкнутый контакт реле
.
ХТ
1 -
клеммная колодка
;
YA1 -
привод электромагнитного клапана без возвратной пружины
.
ye
llo
w
-g
re
en
bla
ck
blu
e
low speed
hight speed
middle speed
re
d
gr
ey
br
ow
n
C
or
an
ge
Тепловентилятор
ср
ед
ня
я
ск
ор
ос
т
ь
ми
ни
ма
ль
на
я
ск
ор
ос
т
ь
ма
кс
им
ал
ьн
ая
ск
ор
ос
ть
N
L
~ 230V
QF1
PE
ye
llo
w
-g
re
en
bla
ck
blu
e
low speed
hight speed
middle speed
re
d
gr
ey
br
ow
n
C
or
an
ge
Тепловентилятор
N
L
~ 230V
QF1
PE
ср
ед
ня
я
ск
ор
ос
ть
ми
ни
ма
ль
на
я
ск
ор
ос
ть
ма
кс
им
ал
ьн
ая
ск
ор
ос
ть
ye
llo
w
-g
re
en
bla
ck
blu
e
low speed
hight speed
middle speed
re
d
gr
ey
br
ow
n
C
or
an
ge
Тепловентилятор
N
L
~ 230V
QF1
PE
ср
ед
ня
я
ск
ор
ос
ть
ми
ни
ма
ль
на
я
ск
ор
ос
ть
ма
кс
им
ал
ьн
ая
ск
ор
ос
т
ь
3
4
1
5
6
SK1
HL1
t ,° C
Термостат
BMT-1
ye
llo
w
-g
re
en
bla
ck
blu
e
low speed
hight speed
middle speed
re
d
gr
ey
br
ow
n
C
or
an
ge
Тепловентилятор
ма
кс
им
ал
ьн
ая
ск
ор
ос
т
ь
ср
ед
ня
я
ск
ор
ос
ть
ми
ни
ма
ль
на
я
ск
ор
ос
ть
ye
llo
w
-g
re
en
bla
ck
blu
e
low speed
hight speed
middle speed
re
d
gr
ey
br
ow
n
C
or
an
ge
Тепловентилятор
N
L
~ 230V
QF1
PE
ср
ед
ня
я
ск
ор
ос
ть
ми
ни
ма
ль
на
я
ск
ор
ос
ть
ма
кс
им
ал
ьн
ая
ск
ор
ос
ть
ye
llo
w
-g
re
en
bla
ck
blu
e
low speed
hight speed
middle speed
re
d
gr
ey
br
ow
n
C
or
an
ge
Тепловентилятор
ма
кс
им
ал
ьн
ая
ск
ор
ос
ть
ср
ед
ня
я
ск
ор
ос
ть
ми
ни
ма
ль
на
я
ск
ор
ос
ть
ye
llo
w
-g
re
en
bla
ck
blu
e
low speed
hight speed
middle speed
re
d
gr
ey
br
ow
n
C
or
an
ge
Тепловентилятор
ср
ед
ня
я
ск
ор
ос
ть
ми
ни
ма
ль
на
я
ск
ор
ос
ть
N
L
~ 230V
QF1
PE
ма
кс
им
ал
ьн
ая
ск
ор
ос
ть
ye
llo
w
-g
re
en
bla
ck
blu
e
low speed
hight speed
middle speed
re
d
gr
ey
br
ow
n
C
or
an
ge
Тепловентилятор
N
L
~ 230V
QF1
PE
ср
ед
ня
я
ск
ор
ос
ть
ми
ни
ма
ль
на
я
ск
ор
ос
ть
ма
кс
им
ал
ьн
ая
ск
ор
ос
т
ь
ye
llo
w
-g
re
en
bla
ck
blu
e
low speed
hight speed
middle speed
re
d
gr
ey
br
ow
n
C
or
an
ge
Тепловентилятор
ма
кс
им
ал
ьн
ая
ск
ор
ос
т
ь
ср
ед
ня
я
ск
ор
ос
ть
ми
ни
ма
ль
на
я
ск
ор
ос
ть
3
4
1
5
6
SK1
HL1
2
SA1
t ,° C
Термостат
BMT-2
ye
llo
w
-g
re
en
bla
ck
blu
e
low speed
hight speed
middle speed
re
d
gr
ey
br
ow
n
C1
or
an
ge
Тепловентилятор
YAn
YA1
YAn
YA1
YA1
YA1
YAn
Внутренее устройство клеммной коробки
:
ХТ
1 -
клеммная колодка
;
С
1 -
конденсатор
;
М
1 -
электродвигатель
;
Расцветка выводных проводов электродвигателя
:
Yellow-green (
желто
-
зеленый
) -
провод заземления
.
Black, orange (
черный
,
оранжевый
) -
провода нейтрали
.
Brown (
коричневый
) -
провод максимальной скорости
.
Grey (
серый
) -
провод средней скорости
.
Red (
красный
) -
провод минимальной скорости
.
ХТ
1
М
1
ХТ
1
SK1 -
терморегулятор
;
ХТ
1-XT2 -
колодка клеммная
;
SA1 -
переключатель режимов вентиляции
;
RK1 -
термодатчик
.
YA1 -
привод электромагнитного вентиля
;
QF1 -
автоматический выключатель
.
SK1 -
терморегулятор
;
ХТ
1-XT2 -
колодка клеммная
;
SA1 -
переключатель режимов вентиляции
;
RK1 -
термодатчик
.
YA1-YAn -
привод электромагнитного вентиля
;
QF1 -
автоматический выключатель
.
n
n
n
n
n
n
n
n
n
n
n
n
n
n
n
n
n
QF1 -
автоматический выключатель
.
SK1 -
терморегулятор
;
HL1 -
индикатор
;
ХТ
1 -
колодка клеммная
;
YA1-YAn -
привод электромагнитного вентиля
;
QF1 -
автоматический выключатель
.
ХТ
1
3
4
1
5
6
SK1
HL1
t ,° C
Термостат
BMT-1
ХТ
1
3
4
1
5
6
SK1
HL1
t,° C
Термостат
BMT-1
ХТ
1
3
4
1
5
6
SK1
HL1
t,° C
Термостат
BMT-1
ХТ
1
ХТ
1
3
4
1
5
6
SK1
HL1
2
SA1
t,° C
Термостат
BMT-2
ХТ
1
SK1 -
терморегулятор
;
HL1 -
индикатор
;
ХТ
1 -
колодка клеммная
;
YA1 -
привод электромагнитного вентиля
;
QF1 -
автоматический выключатель
.
SK1 -
терморегулятор
;
HL1 -
индикатор
;
ХТ
1 -
колодка клеммная
;
QF1 -
автоматический выключатель
.
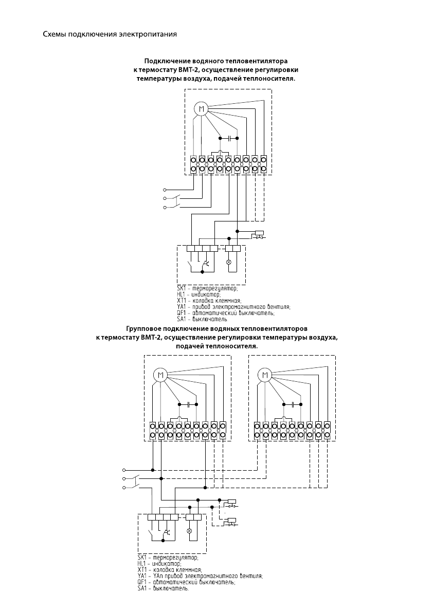
SK1 -
терморегулятор
;
HL1 -
индикатор
;
ХТ
1 -
колодка клеммная
;
QF1 -
автоматический выключатель
.
SK1 -
терморегулятор
;
HL1 -
индикатор
;
ХТ
1 -
колодка клеммная
;
YA1-YAn -
привод электромагнитного вентиля
;
QF1 -
автоматический выключатель
;
SA1 -
выключатель
.
SK1 -
терморегулятор
;
HL1 -
индикатор
;
ХТ
1 -
колодка клеммная
;
YA1 -
привод электромагнитного вентиля
;
QF1 -
автоматический выключатель
;
SA1 -
выключатель
.
QF1 -
автоматический выключатель
.
Подключение водяного тепловентилятора к термостату ВМТ
-1,
осуществление регулировки температуры воздуха
,
подачей теплоносителя
.
Подключение водяного тепловентилятора к термостату ВМТ
-1,
осуществление регулировки температуры воздуха
,
выключением вентилятора
.
Подключение водяного тепловентилятора к термостату ВМТ
-2,
осуществление регулировки температуры воздуха
,
подачей теплоносителя
..
Групповое подключение водяных тепловентиляторов к термостату ВМТ
-1,
осуществление регулировки температуры воздуха
,
подачей теплоносителя
.
Групповое подключение водяных тепловентиляторов к термостату ВМТ
-1,
осуществление регулировки температуры воздуха
,
выключением вентилятора
.
Групповое подключение водяных тепловентиляторов к термостату ВМТ
-2,
осуществление регулировки температуры воздуха
,
подачей теплоносителя
.
Подключение водяного тепловентилятора через автоматический выключатель
.
Групповое подключение водяных тепловентиляторов через автоматический выключатель
.
Подключение водяного тепловентилятора к пульту
BRC-W.
Групповое подключение водяных тепловентиляторов к пульту
BRC-W.
PDF created with pdfFactory Pro trial version
www.pdffactory.com
ye
llo
w
-g
re
en
bla
ck
blu
e
low speed
hight speed
middle speed
re
d
gr
ey
br
ow
n
C
or
an
ge
1
2
3
4
5
6
7
ХТ
2
VENT 2/3
L <- BRC-C
VENT MAX
VENT 1/3
HEAT N
N
HEAT L
YA1
Пульт В
RC-W
SA1
I
II
III
0
SK1
t ,° C
GND
Y
X
RK1
- t°
R e m o t e te m p e r a t u r e
s e n s o r (R T S )
ХТ
1
12
11
10
9
8
ye
llo
w
-g
re
en
bla
ck
blu
e
low speed
hight speed
middle speed
re
d
gr
ey
br
ow
n
C
or
an
ge
PE
N
L
~ 230V
QF1
ye
llo
w
-g
re
en
bla
ck
blu
e
low speed
hight speed
middle speed
re
d
gr
ey
br
ow
n
C
or
an
ge
1
2
3
4
5
6
7
ХТ
2
VENT 2/3
L <- BRC-C
VENT MAX
VENT 1/3
HEAT N
N
HEAT L
YA1
Пульт В
RC-W
SA1
I
II
III
0
SK1
t ,°C
GND
Y
X
RK1
- t°
R e m o t e t e m p e r a t u r e
s e n s o r (R T S )
ХТ
1
12
11
10
9
8
PE
N
L
~ 230V
QF1
Тепловентилятор
Тепловентилятор
Тепловентилятор
ye
llo
w
-g
re
en
bla
ck
blu
e
low speed
hight speed
middle speed
re
d
gr
ey
br
ow
n
C
or
an
ge
Тепловентилятор
ye
llo
w
-g
re
en
bla
ck
blu
e
low speed
hight speed
middle speed
re
d
gr
ey
br
ow
n
C
or
an
ge
ср
ед
ня
я
ск
ор
ос
ть
ми
ни
ма
ль
на
я
ск
ор
ос
ть
Тепловентилятор
ма
кс
им
ал
ьн
ая
ск
ор
ос
ть
N
L
~ 230V
QF1
PE
ср
ед
ня
я
ск
ор
ос
ть
ми
ни
ма
ль
на
я
ск
ор
ос
ть
ма
кс
им
ал
ьн
ая
ск
ор
ос
ть
ye
llo
w
-g
re
en
bla
ck
blu
e
low speed
hight speed
middle speed
re
d
gr
ey
br
ow
n
C
or
an
ge
Тепловентилятор
ср
ед
ня
я
ск
ор
ос
ть
ми
ни
ма
ль
на
я
ск
ор
ос
т
ь
ма
кс
им
ал
ьн
ая
ск
ор
ос
ть
N
L
~ 230V
QF1
PE
Подключение электромагнитного
привода двух
-/
трехходового вентиля без возвратной пружины
:
1
2
HEAT L
HEAT N
Контроллер
BRC-W
КМ
1
YA1
КМ
1.1
КМ
1.2
L
N
КМ
1 -
электромагнитное реле
;
КМ
1.1 -
нормально разомкнутый контакт реле
;
КМ
1.2 -
нормально замкнутый контакт реле
.
ХТ
1 -
клеммная колодка
;
YA1 -
привод электромагнитного клапана без возвратной пружины
.
ye
llo
w
-g
re
en
bla
ck
blu
e
low speed
hight speed
middle speed
re
d
gr
ey
br
ow
n
C
or
an
ge
Тепловентилятор
ср
ед
ня
я
ск
ор
ос
т
ь
ми
ни
ма
ль
на
я
ск
ор
ос
т
ь
ма
кс
им
ал
ьн
ая
ск
ор
ос
ть
N
L
~ 230V
QF1
PE
ye
llo
w
-g
re
en
bla
ck
blu
e
low speed
hight speed
middle speed
re
d
gr
ey
br
ow
n
C
or
an
ge
Тепловентилятор
N
L
~ 230V
QF1
PE
ср
ед
ня
я
ск
ор
ос
ть
ми
ни
ма
ль
на
я
ск
ор
ос
ть
ма
кс
им
ал
ьн
ая
ск
ор
ос
ть
ye
llo
w
-g
re
en
bla
ck
blu
e
low speed
hight speed
middle speed
re
d
gr
ey
br
ow
n
C
or
an
ge
Тепловентилятор
N
L
~ 230V
QF1
PE
ср
ед
ня
я
ск
ор
ос
ть
ми
ни
ма
ль
на
я
ск
ор
ос
ть
ма
кс
им
ал
ьн
ая
ск
ор
ос
т
ь
3
4
1
5
6
SK1
HL1
t ,° C
Термостат
BMT-1
ye
llo
w
-g
re
en
bla
ck
blu
e
low speed
hight speed
middle speed
re
d
gr
ey
br
ow
n
C
or
an
ge
Тепловентилятор
ма
кс
им
ал
ьн
ая
ск
ор
ос
т
ь
ср
ед
ня
я
ск
ор
ос
ть
ми
ни
ма
ль
на
я
ск
ор
ос
ть
ye
llo
w
-g
re
en
bla
ck
blu
e
low speed
hight speed
middle speed
re
d
gr
ey
br
ow
n
C
or
an
ge
Тепловентилятор
N
L
~ 230V
QF1
PE
ср
ед
ня
я
ск
ор
ос
ть
ми
ни
ма
ль
на
я
ск
ор
ос
ть
ма
кс
им
ал
ьн
ая
ск
ор
ос
ть
ye
llo
w
-g
re
en
bla
ck
blu
e
low speed
hight speed
middle speed
re
d
gr
ey
br
ow
n
C
or
an
ge
Тепловентилятор
ма
кс
им
ал
ьн
ая
ск
ор
ос
ть
ср
ед
ня
я
ск
ор
ос
ть
ми
ни
ма
ль
на
я
ск
ор
ос
ть
ye
llo
w
-g
re
en
bla
ck
blu
e
low speed
hight speed
middle speed
re
d
gr
ey
br
ow
n
C
or
an
ge
Тепловентилятор
ср
ед
ня
я
ск
ор
ос
ть
ми
ни
ма
ль
на
я
ск
ор
ос
ть
N
L
~ 230V
QF1
PE
ма
кс
им
ал
ьн
ая
ск
ор
ос
ть
ye
llo
w
-g
re
en
bla
ck
blu
e
low speed
hight speed
middle speed
re
d
gr
ey
br
ow
n
C
or
an
ge
Тепловентилятор
N
L
~ 230V
QF1
PE
ср
ед
ня
я
ск
ор
ос
ть
ми
ни
ма
ль
на
я
ск
ор
ос
ть
ма
кс
им
ал
ьн
ая
ск
ор
ос
т
ь
ye
llo
w
-g
re
en
bla
ck
blu
e
low speed
hight speed
middle speed
re
d
gr
ey
br
ow
n
C
or
an
ge
Тепловентилятор
ма
кс
им
ал
ьн
ая
ск
ор
ос
т
ь
ср
ед
ня
я
ск
ор
ос
ть
ми
ни
ма
ль
на
я
ск
ор
ос
ть
3
4
1
5
6
SK1
HL1
2
SA1
t ,° C
Термостат
BMT-2
ye
llo
w
-g
re
en
bla
ck
blu
e
low speed
hight speed
middle speed
re
d
gr
ey
br
ow
n
C1
or
an
ge
Тепловентилятор
YAn
YA1
YAn
YA1
YA1
YA1
YAn
Внутренее устройство клеммной коробки
:
ХТ
1 -
клеммная колодка
;
С
1 -
конденсатор
;
М
1 -
электродвигатель
;
Расцветка выводных проводов электродвигателя
:
Yellow-green (
желто
-
зеленый
) -
провод заземления
.
Black, orange (
черный
,
оранжевый
) -
провода нейтрали
.
Brown (
коричневый
) -
провод максимальной скорости
.
Grey (
серый
) -
провод средней скорости
.
Red (
красный
) -
провод минимальной скорости
.
ХТ
1
М
1
ХТ
1
SK1 -
терморегулятор
;
ХТ
1-XT2 -
колодка клеммная
;
SA1 -
переключатель режимов вентиляции
;
RK1 -
термодатчик
.
YA1 -
привод электромагнитного вентиля
;
QF1 -
автоматический выключатель
.
SK1 -
терморегулятор
;
ХТ
1-XT2 -
колодка клеммная
;
SA1 -
переключатель режимов вентиляции
;
RK1 -
термодатчик
.
YA1-YAn -
привод электромагнитного вентиля
;
QF1 -
автоматический выключатель
.
n
n
n
n
n
n
n
n
n
n
n
n
n
n
n
n
n
QF1 -
автоматический выключатель
.
SK1 -
терморегулятор
;
HL1 -
индикатор
;
ХТ
1 -
колодка клеммная
;
YA1-YAn -
привод электромагнитного вентиля
;
QF1 -
автоматический выключатель
.
ХТ
1
3
4
1
5
6
SK1
HL1
t ,° C
Термостат
BMT-1
ХТ
1
3
4
1
5
6
SK1
HL1
t,° C
Термостат
BMT-1
ХТ
1
3
4
1
5
6
SK1
HL1
t,° C
Термостат
BMT-1
ХТ
1
ХТ
1
3
4
1
5
6
SK1
HL1
2
SA1
t,° C
Термостат
BMT-2
ХТ
1
SK1 -
терморегулятор
;
HL1 -
индикатор
;
ХТ
1 -
колодка клеммная
;
YA1 -
привод электромагнитного вентиля
;
QF1 -
автоматический выключатель
.
SK1 -
терморегулятор
;
HL1 -
индикатор
;
ХТ
1 -
колодка клеммная
;
QF1 -
автоматический выключатель
.
SK1 -
терморегулятор
;
HL1 -
индикатор
;
ХТ
1 -
колодка клеммная
;
QF1 -
автоматический выключатель
.
SK1 -
терморегулятор
;
HL1 -
индикатор
;
ХТ
1 -
колодка клеммная
;
YA1-YAn -
привод электромагнитного вентиля
;
QF1 -
автоматический выключатель
;
SA1 -
выключатель
.
SK1 -
терморегулятор
;
HL1 -
индикатор
;
ХТ
1 -
колодка клеммная
;
YA1 -
привод электромагнитного вентиля
;
QF1 -
автоматический выключатель
;
SA1 -
выключатель
.
QF1 -
автоматический выключатель
.
Подключение водяного тепловентилятора к термостату ВМТ
-1,
осуществление регулировки температуры воздуха
,
подачей теплоносителя
.
Подключение водяного тепловентилятора к термостату ВМТ
-1,
осуществление регулировки температуры воздуха
,
выключением вентилятора
.
Подключение водяного тепловентилятора к термостату ВМТ
-2,
осуществление регулировки температуры воздуха
,
подачей теплоносителя
..
Групповое подключение водяных тепловентиляторов к термостату ВМТ
-1,
осуществление регулировки температуры воздуха
,
подачей теплоносителя
.
Групповое подключение водяных тепловентиляторов к термостату ВМТ
-1,
осуществление регулировки температуры воздуха
,
выключением вентилятора
.
Групповое подключение водяных тепловентиляторов к термостату ВМТ
-2,
осуществление регулировки температуры воздуха
,
подачей теплоносителя
.
Подключение водяного тепловентилятора через автоматический выключатель
.
Групповое подключение водяных тепловентиляторов через автоматический выключатель
.
Подключение водяного тепловентилятора к пульту
BRC-W.
Групповое подключение водяных тепловентиляторов к пульту
BRC-W.
PDF created with pdfFactory Pro trial version
www.pdffactory.com