Телевизоры VEKTA LD-39SR4815BS - инструкция пользователя по применению, эксплуатации и установке на русском языке. Мы надеемся, она поможет вам решить возникшие у вас вопросы при эксплуатации техники.
Если остались вопросы, задайте их в комментариях после инструкции.
"Загружаем инструкцию", означает, что нужно подождать пока файл загрузится и можно будет его читать онлайн. Некоторые инструкции очень большие и время их появления зависит от вашей скорости интернета.

11
ВНЕШНИЕ ПОДКЛЮЧЕНИЯ
Подключение антенны
Вставьте штекер антенного кабеля в гнездо антенны, распо-
ложенное на задней стенке телевизора. Для обеспечения ка-
чественного приема телевизионного сигнала рекомендуется
использовать коллективную антенну. Для лучшего приема
эфирного вещания используйте коаксиальный радиочастот-
ный кабель с волновым сопротивлением 75 Ом (в комплект
поставки не входит). Антенный кабель не должен быть пере-
мотан со шнуром питания!
Только для ЦТВ или
источника сигнала HDMI
Подк лючите коаксиальный вход внешней аудиосис темы к
соответс твующему выходу на телевизоре. Коаксиальный
аудиовыход телевизора обеспечит вам наиболее каче-
с твенную передачу звука на внешнюю аудиосис тему без
иска жений.
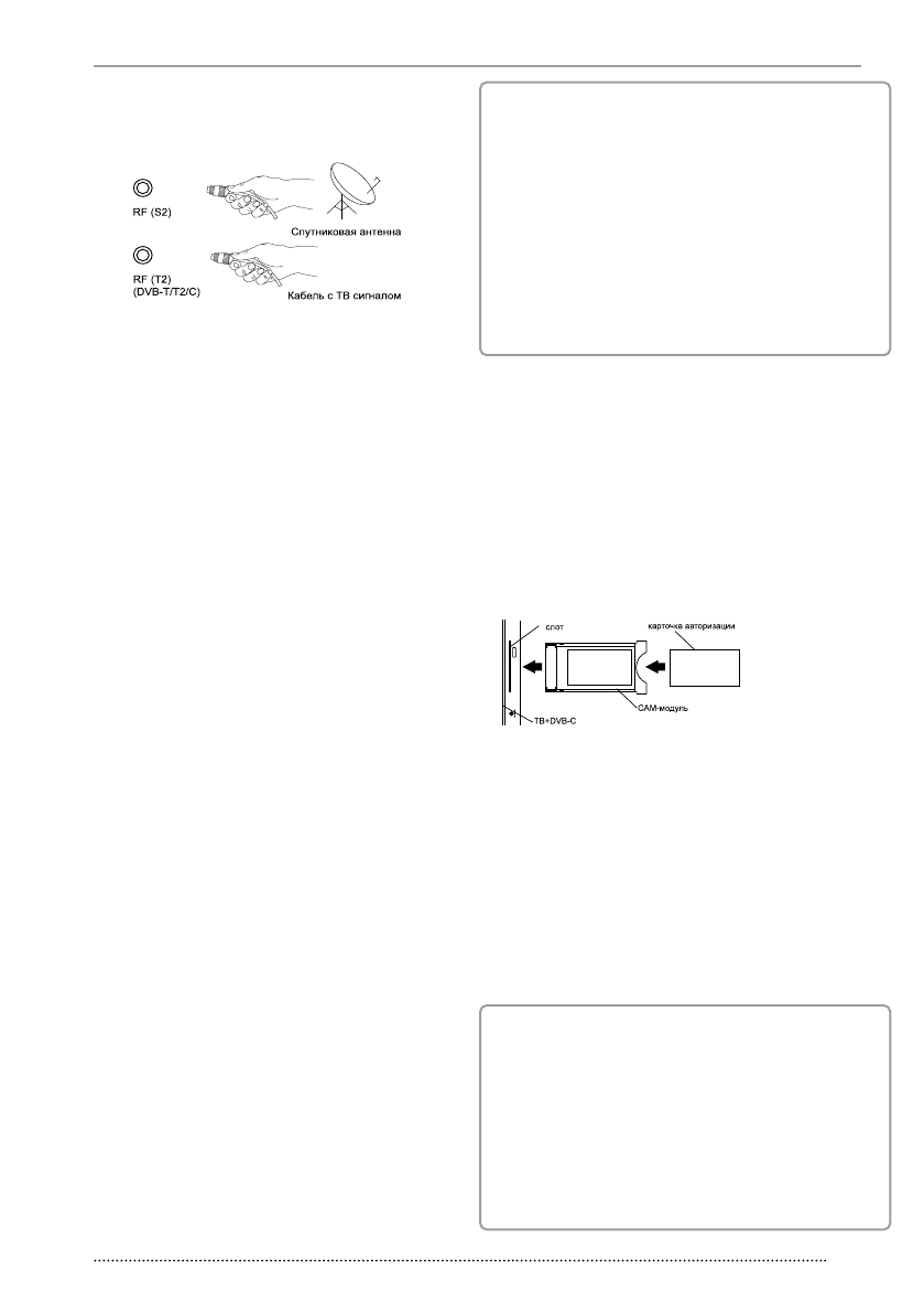
Подключение карты условного
доступа CI+
Подсоедините CAM-модуль с картой ус ловного дос т упа к
разъем у COMMON INTERFACE д ля подк лючения модуля
ус ловного дос т упа.
Выберите соответс твующий тип закодированного теле-
сигнала: Эфир, Кабель или Спу тник. Произведите поиск
каналов в ру чном или автоматическом режиме.
ПРИМЕЧАНИЕ!
•
Приобрес ти CAM-модуль с картой ус ловного дос т у-
па CI+, а так же полу чить информацию об исполь-
зовании карты CI+ можно у мес тного пос тавщика
ус луг цифрового кабельного вещания.
•
При возникновении затруднений при работе с кар-
той CI+ обращайтесь в с лу жбу сервиса.
Установка CAM-модуля в слот
COMMON INTERFACE
Ос торожно вс тавьте CAM-модуль в с лот COMMON
INTERFACE. Модуль должен быть направлен контак тами
впере д и поверну т к вам с тороной с нак лейкой. Не прила-
гайте чрезмерных усилий при подк лючении и удос товерь-
тесь, что модуль вс тавлен ровно и не изогну т.
1.
Ос торожно вс тавьте CAM-модуль в с лот COMMON
INTERFACE.
2.
Модуль должен быть направлен контак тами впере д
и поверну т к вам с тороной с нак лейкой.
3.
Не прилагайте чрезмерных усилий при подк люче-
нии и удос товерьтесь, что модуль вс тавлен ровно
и не изогну т.
ВНИМАНИЕ!
Преж де чем вс тавить/извлечь CAM-модуль, у бе дитесь,
что телевизор вык лючен. Затем вс тавьте карт у CI+ в
CAM-модуль в соответс твии с инс трукциями пос тавщика
ус луг. CI+ не под держивается в некоторых с транах и реги-
онах: проконс ультируйтесь с пос тавщиком ус л уг.
Характеристики
Остались вопросы?Не нашли свой ответ в руководстве или возникли другие проблемы? Задайте свой вопрос в форме ниже с подробным описанием вашей ситуации, чтобы другие люди и специалисты смогли дать на него ответ. Если вы знаете как решить проблему другого человека, пожалуйста, подскажите ему :)