Телевизоры Pioneer PDP-4280 XD - инструкция пользователя по применению, эксплуатации и установке на русском языке. Мы надеемся, она поможет вам решить возникшие у вас вопросы при эксплуатации техники.
Если остались вопросы, задайте их в комментариях после инструкции.
"Загружаем инструкцию", означает, что нужно подождать пока файл загрузится и можно будет его читать онлайн. Некоторые инструкции очень большие и время их появления зависит от вашей скорости интернета.

64
Ru
SR+
(
a
,
b
c
):
В
(
)
-
.
SR+
(
a
):
И
SR+
(
).
И
ь ва
а
i/o link.A
i/o
link.A,
.
One Touch Play (
а ь
в
в
)
К
,
(
,
, DVD).
WYSIWYR (What You See Is What You Record –
ч
в
ь
,
а
ва ь
)
WYSIWYR,
.
Preset Download (
а
а
а
х
а
)
Д
(
,
)
INPUT 2
INPUT 3.
В
а
а
SCART
я
ь ва я
i/o link.A
Д
i/o link.A
INPUT 2 INPUT 3.
В
,
.
1
а
HOME MENU.
2
В
“
У а в а
” (
/
,
а
ENTER).
3
В
“i/o link.A” (
/
,
а
ENTER).
4
В
а
(
/
,
а
ENTER).
5
а
HOME MENU
я
в х а
.
П
ча
•
i/o link.A
INPUT 2
INPUT 3
21-
SCART
.
•
.
.
•
SCART
INPUT 3
i/o link.A,
(
)
.
i/o link.A
,
,
RGB,
В
,
RGB, Y/C (S-
В
)
CVBS (
В
);
,
Y/C (S-
В
)
.
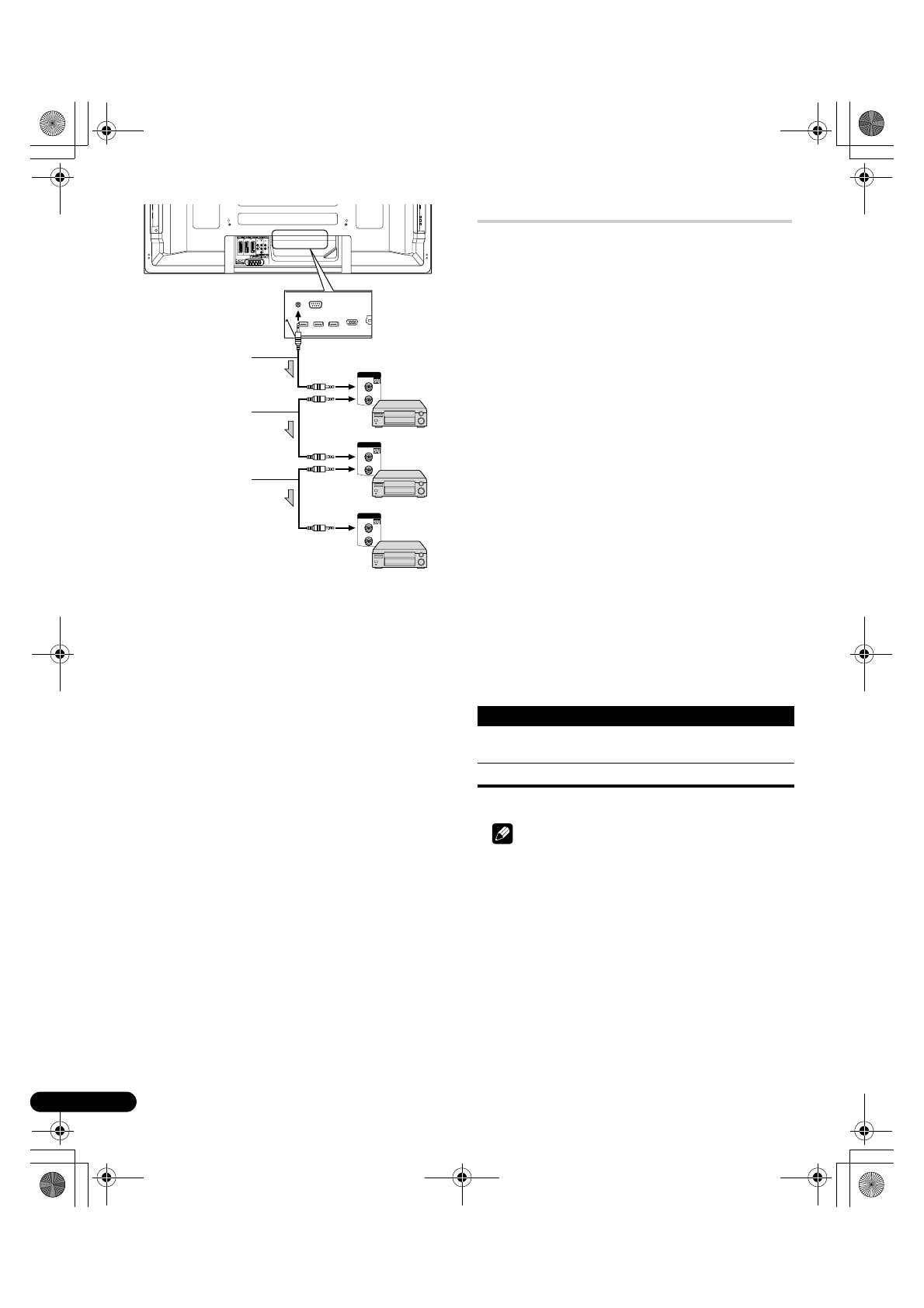
CONTROL
IN
OUT
CONTROL
IN
OUT
CONTROL
IN
OUT
В
а
a
b
c
П
а
ВХ Д
2 (
ча
)
INPUT 2
i/o link.A
ВХ Д
3
INPUT 3
i/o link.A
PDP-5080XD_Rus.book Page 64 Wednesday, August 1, 2007 6:46 PM