Телевизоры U43H8051E/G - инструкция пользователя по применению, эксплуатации и установке на русском языке. Мы надеемся, она поможет вам решить возникшие у вас вопросы при эксплуатации техники.
Если остались вопросы, задайте их в комментариях после инструкции.
"Загружаем инструкцию", означает, что нужно подождать пока файл загрузится и можно будет его читать онлайн. Некоторые инструкции очень большие и время их появления зависит от вашей скорости интернета.

53
Артқы панель
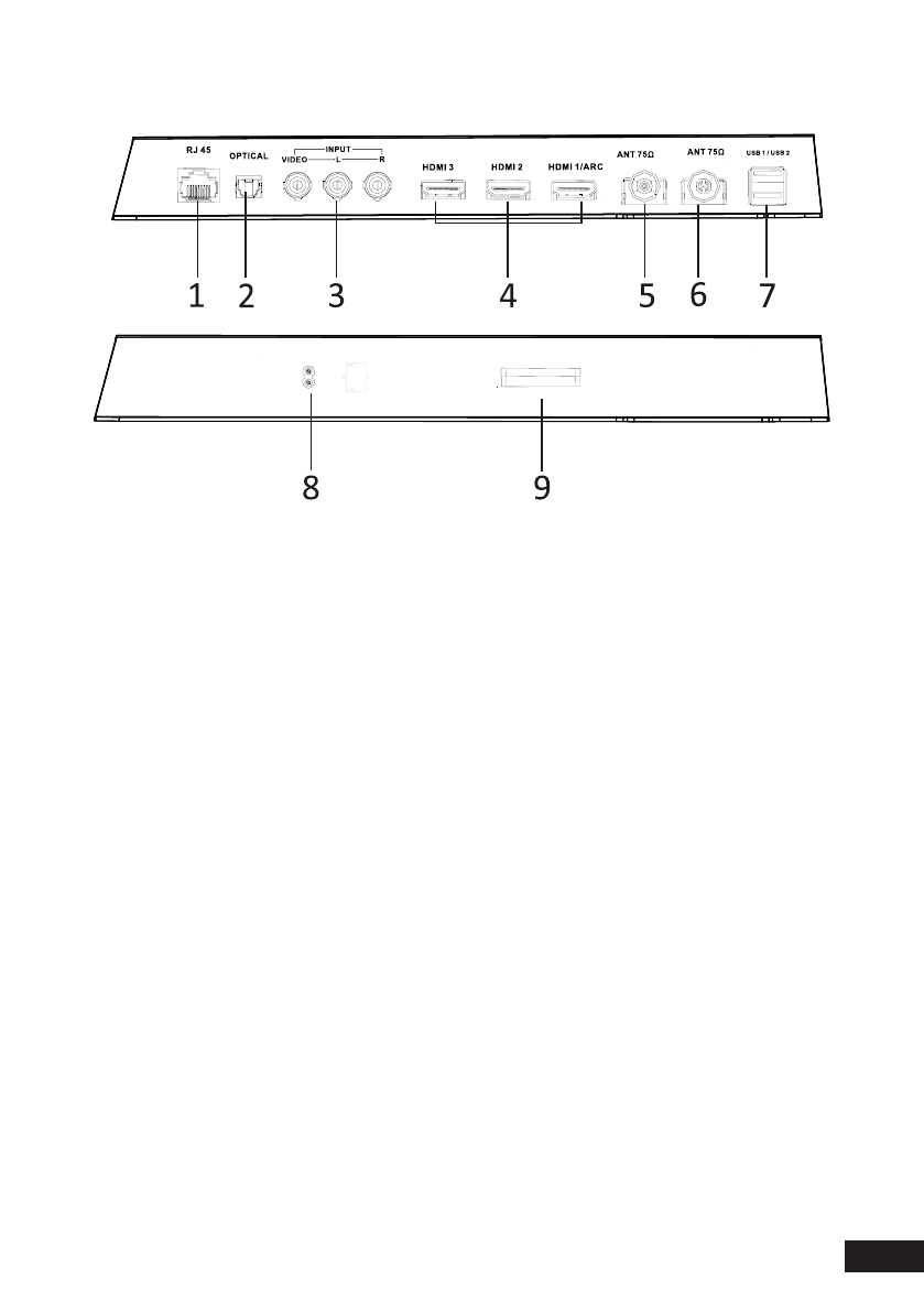
1. LAN RJ-45 жергiлiктi желiсiнiң жалғағышы. Желiнi қосу үшiн RJ-45 ашасы бар
LAN кабелiн қолданыңыз (жеткiзу жиынтығына кiрмейдi).
2. OPTICAL жалғағышы.
3. AV IN кабелін қосуға арналған жалғағыш.
4. HDMI кірісі, жоғары айқындыққа ие сигналды беру интерфейсі.
5. Жерсеріктік антеннаны қосуға арналған жалғағыш.
6. Антеннаны қосуға арналған жалғағыш.
7. USB жалғағышы.
8. Қуат кабелінің қосқышы.
9. САМ-модулін қосуға арналған слот.
• Кез келген қосылым алдында ағытпаларының күйі мен түрін тексеріңіз.
Бос қосылым кескін немесе түс проблемаларын тудыруы мүмкін. Барлық
қосылымдардың тығыз және сенімді екеніне көз жеткізіңіз.
Барлық аудио және бейне жабдықтарының теледидарға қосылу мүмкіндігі
жоқ. Толық ақпарат алу үшін үйлесімділік пен оның қосылу мүмкіндігіне
қатысты қосылатын құрылғының нұсқаулығын қараңыз.
• Электр тогының соғуын болдырмау үшін сыртқы жабдықты қоспас бұрын
қуат ашасын қабырғадағы розеткадан суырыңыз.
(S2)
NI
CA
CI
AC IN
CI
Содержание
- 5 Мазмұны
- 8 Меры предосторожности
- 10 Установка телевизора; Советы по установке телевизора
- 13 Сборка подставки и настенная установка; Сборка подставки
- 14 Спецификация настенного крепления
- 15 Схема телевизора; Передняя и боковая панели
- 16 Задняя панель
- 17 Внешние подключения; Подключение антенны
- 18 Подключение HDMI устройств; Подключение усилителя НЧ; Подключение компьютера
- 19 Подключение DVD-проигрывателя; Подключение карты условного доступа CI+; Установка CAM-модуля в слот COMMON INTERFACE
- 20 Подключение USB-устройств
- 21 Пульт дистанционного управления
- 23 Первое включение
- 24 Домашний экран
- 25 Настройка; Подключить пульт или другое устройство через Bluetooth; Изменить дату и время
- 26 Изменить настройки экрана; Изменить настройки звука
- 28 Обновить прошивку; Сбросить настройки; Другие настройки
- 30 Искать видео на КиноПоиске или в сети; Смотреть видео с внешнего устройства
- 31 Транслировать звук на внешнюю аудиосистему; Как пользоваться приложениями; Транслировать изображение со смартфона или
- 35 Справка и поддержка
- 36 Стандарт ISO 13406-2 различает 4 типа дефектных пикселей; Технические характеристики SMART-системы
- 37 Технические характеристики
- 38 Правила и условия монтажа, хранения, перевоз ки
- 39 Дополнительная информация; Техническое обслуживание
- 41 Гарантийный талон; Дата постановки на гарантию:
Характеристики
Остались вопросы?Не нашли свой ответ в руководстве или возникли другие проблемы? Задайте свой вопрос в форме ниже с подробным описанием вашей ситуации, чтобы другие люди и специалисты смогли дать на него ответ. Если вы знаете как решить проблему другого человека, пожалуйста, подскажите ему :)