Телевизоры H24G8100C - инструкция пользователя по применению, эксплуатации и установке на русском языке. Мы надеемся, она поможет вам решить возникшие у вас вопросы при эксплуатации техники.
Если остались вопросы, задайте их в комментариях после инструкции.
"Загружаем инструкцию", означает, что нужно подождать пока файл загрузится и можно будет его читать онлайн. Некоторые инструкции очень большие и время их появления зависит от вашей скорости интернета.

18
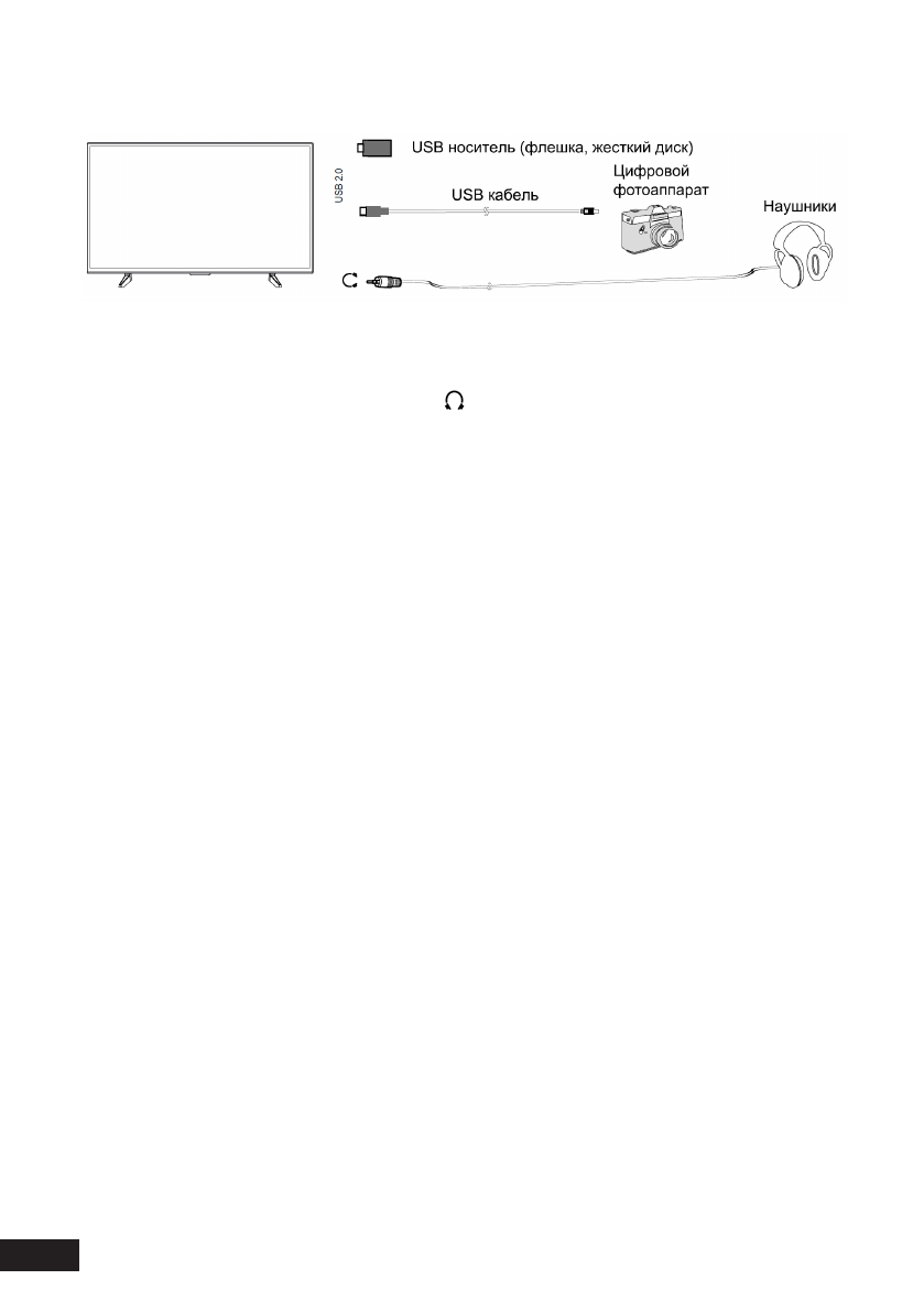
Подключение наушников, USB-устройств
Разъём для подключения USB-устройства телевизора становится активным
только в режиме USB.
1. Подключите цифровой фотоаппарат к телевизору, используя USB кабель.
2. Подключите наушники к разъёму . Громкость наушников регулируется
также, как и громкость динамиков телевизора.
3. Подключите Ваш USB диск непосредственно к разъёму USB 2.0.
Внимание!
• При подключении жёсткого диска или USB-носителя всегда подключайте
сетевой адаптер подключённого устройства к источнику питания. Превыше-
ние общего потребления тока может привести к неисправности устройства.
Максимальная сила тока для устройств USB 2.0 составляет 500 мА.
• Если сила тока жёсткого диска больше или равна 1 А, его подключение мо-
жет вызвать перезагрузку или самоблокировку телевизора.
• USB-порт поддерживает напряжение 5 В.
Содержание
- 5 Уважаемый покупатель!; Декларация
- 6 Меры предосторожности
- 8 Установка телевизора; Советы по установке телевизора
- 11 Сборка подставки и настенная установка; Сборка подставки
- 12 Спецификация настенного крепления
- 13 Схема телевизора; Передняя панель
- 14 Задняя панель
- 15 Внешние подключения; Подключение антенны
- 16 Подключение HDMI устройств; Подключение усилителя НЧ; Подключение компьютера
- 17 Подключение DVD-проигрывателя; Подключение карты условного доступа CI+; Установка CAM-модуля в слот COMMON INTERFACE
- 19 Пульт дистанционного управления
- 21 Основные операции; Первоначальная настройка
- 22 Включение/Выключение телевизора; Регулировка громкости
- 23 Включение и начало работы; Домашеий экран
- 24 Виртуальные ассистенты
- 27 Изменить настройки экрана; Изменить настройки звука; Заново подключить к интернету
- 28 Обновить прошивку; Вернуть заводские настройки; Смотреть телеканалы
- 29 Смотреть видео из интернета; Слушать музыку
- 30 Слушать радио
- 32 Как перезагрузить или выключить телевизор; Не получается подключиться к интернету; Узнать больше или связаться с нами
- 33 Возможные проблемы и их решения; Проблема
- 35 Информация; Стандарт ISO 13406-2 различает 4 типа дефектных пикселей; Технические характеристики SMART-системы
- 36 Технические характеристики; Таблица поддерживаемых разрешений
- 37 Правила и условия монтажа, хранения, перевозки
- 38 Дополнительная информация; Техническое обслуживание
- 40 Гарантийный талон; Дата постановки на гарантию:
Характеристики
Остались вопросы?Не нашли свой ответ в руководстве или возникли другие проблемы? Задайте свой вопрос в форме ниже с подробным описанием вашей ситуации, чтобы другие люди и специалисты смогли дать на него ответ. Если вы знаете как решить проблему другого человека, пожалуйста, подскажите ему :)









Как убрать с телевизора заставку Салют