Телевизоры F43H8050C - инструкция пользователя по применению, эксплуатации и установке на русском языке. Мы надеемся, она поможет вам решить возникшие у вас вопросы при эксплуатации техники.
Если остались вопросы, задайте их в комментариях после инструкции.
"Загружаем инструкцию", означает, что нужно подождать пока файл загрузится и можно будет его читать онлайн. Некоторые инструкции очень большие и время их появления зависит от вашей скорости интернета.

22
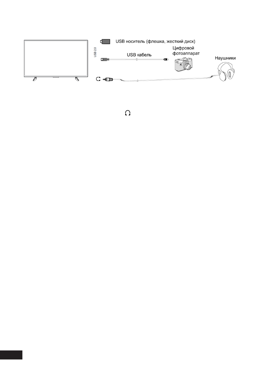
Подключение наушников, USB-устройств
Разъём для подключения USB-устройства телевизора становится активным
только в режиме USB.
1. Подключите цифровой фотоаппарат к телевизору, используя USB кабель.
2. Подключите наушники к разъёму . Громкость наушников регулируется
также, как и громкость динамиков телевизора.
3. Подключите Ваш USB диск непосредственно к разъёму USB 2.0.
Внимание!
• При подключении жёсткого диска или USB-носителя всегда подключайте
сетевой адаптер подключённого устройства к источнику питания. Превыше-
ние общего потребления тока может привести к неисправности устройства.
Максимальная сила тока для устройств USB 2.0 составляет 500 мА.
• Если сила тока жёсткого диска больше или равна 1 А, его подключение мо-
жет вызвать перезагрузку или самоблокировку телевизора.
• USB-порт поддерживает напряжение 5 В.
Содержание
- 8 Уважаемый покупатель!; Декларация
- 9 Меры предосторожности
- 11 Перевозка телевизора
- 12 Установка телевизора; Советы по установке телевизора
- 15 Сборка подставки и настенная установка; Сборка подставки
- 16 Спецификация настенного крепления
- 17 Схема телевизора; Передняя панель
- 18 Задняя панель
- 19 Внешние подключения; Подключение антенны
- 20 Подключение HDMI устройств; Подключение усилителя НЧ; Подключение компьютера
- 21 Подключение DVD-проигрывателя; Подключение карты условного доступа CI+; Установка CAM-модуля в слот COMMON INTERFACE
- 23 Пульт дистанционного управления
- 25 Первое включение
- 26 Домашний экран
- 27 Настройка; Подключить пульт или другое устройство через
- 30 и ролики
- 32 Смотреть медиафайлы с USB-носителя
- 34 Возможные проблемы и их решения
- 38 Стандарт ISO 13406-2 различает 4 типа дефектных пикселей; Технические характеристики SMART-системы
- 39 Технические характеристики
- 40 Правила и условия монтажа, хранения, перевоз ки
- 41 Дополнительная информация; Техническое обслуживание
- 43 Гарантийный талон; SN/IMEI:
Характеристики
Остались вопросы?Не нашли свой ответ в руководстве или возникли другие проблемы? Задайте свой вопрос в форме ниже с подробным описанием вашей ситуации, чтобы другие люди и специалисты смогли дать на него ответ. Если вы знаете как решить проблему другого человека, пожалуйста, подскажите ему :)









На смарт телевизоре DEXP F43H8050C не получается подключить DTV/ Прошу подсказать как правильно настроить бесплатные цифровые каналы. Благодарю
Как восстановить дтв каналы?