Телевизоры F32H8050C - инструкция пользователя по применению, эксплуатации и установке на русском языке. Мы надеемся, она поможет вам решить возникшие у вас вопросы при эксплуатации техники.
Если остались вопросы, задайте их в комментариях после инструкции.
"Загружаем инструкцию", означает, что нужно подождать пока файл загрузится и можно будет его читать онлайн. Некоторые инструкции очень большие и время их появления зависит от вашей скорости интернета.

56
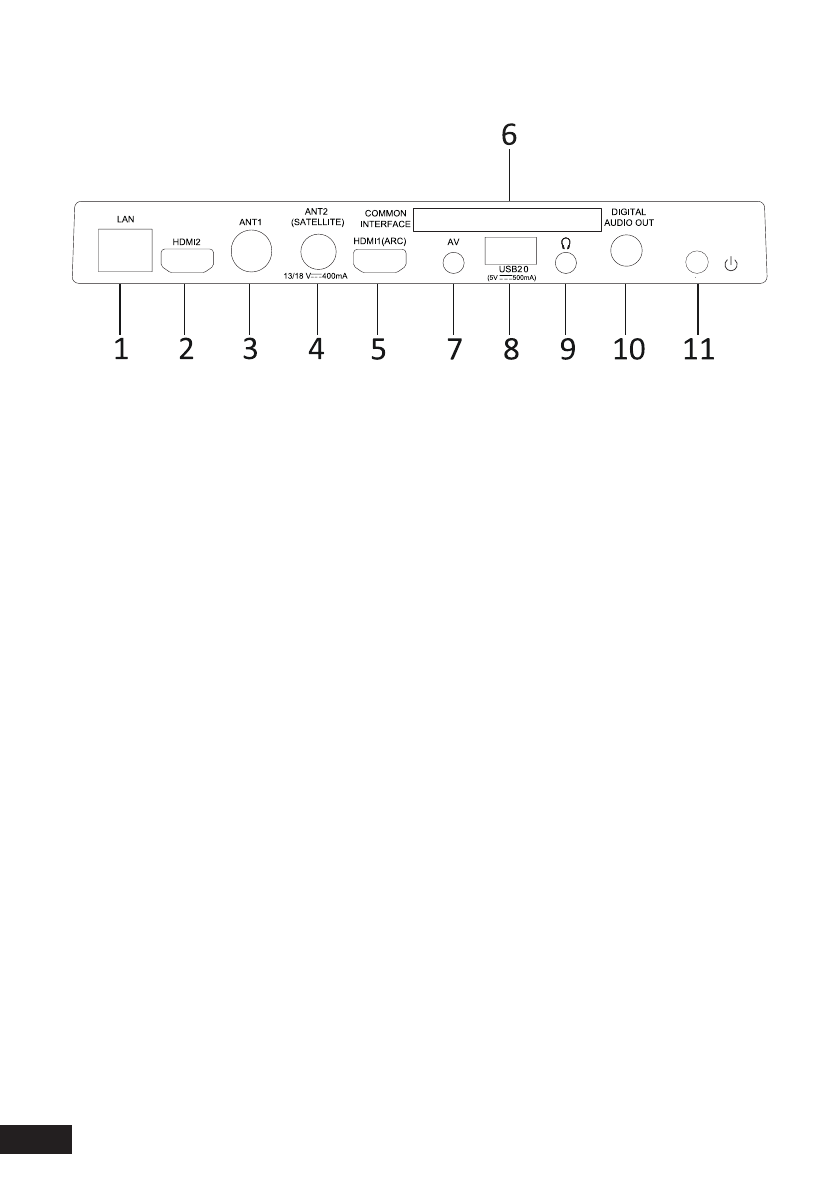
Артқы панель
1. LAN RJ-45 жергiлiктi желiсiнiң жалғағышы. Желiнi қосу үшiн RJ-45 ашасы бар
LAN кабелiн қолданыңыз (жеткiзу жиынтығына кiрмейдi).
2. HDMI кірісі, жоғары айқындыққа ие сигналды беру интерфейсі.
3. Антеннаны қосуға арналған жалғағыш.
4. Жерсеріктік антеннаны қосуға арналған жалғағыш.
5. HDMI кірісі, жоғары айқындыққа ие сигналды беру интерфейсі.
6. САМ-модулін қосуға арналған слот.
7. AV IN кабелін қосуға арналған жалғағыш.
8. Құлаққаптарды қосуға арналған жалғағыш.
9. USB жалғағышы.
10. DIGITAL AUDIO OUT жалғағышы.
11. Қосу/өшіру түймесі.
• Кез келген түрінде қосу үшін жалғағыштардың күй мен түрін тексеріңіз. Әлсіз
қосылыс кескінімен немесе түсімен ақау тудыруы мүмкін. Барлық қосылы-
стардың тығыздығына және сенімділігіне көз жеткізіңіз. Барлық аудио- және
бейнеаппаратурасының теледидарға қосу мүмкіндігі болмайды; үйлесімділі-
гі мен қосылуын байқау үшін Сіздің құрылғыңыздың нұсқаулығын қарауды
өтінеміз.
• Сыртқы жабдықты қосар алдында электр тоғымен зақымдануды болдырмау
үшін розеткадан желелік ашаны ажыратыңыз.
• Сыртқы құрылғыны қосуға арналған сервистік жалғағыш қолжетімсіз. Оны
өндіруші тек теңшеу мақсатында ғана пайдаланады.
.
Содержание
- 8 Уважаемый покупатель!; Декларация
- 9 Меры предосторожности
- 11 Перевозка телевизора
- 12 Установка телевизора; Советы по установке телевизора
- 15 Сборка подставки и настенная установка; Сборка подставки
- 16 Спецификация настенного крепления
- 17 Схема телевизора; Передняя панель
- 18 Задняя панель
- 19 Внешние подключения; Подключение антенны
- 20 Подключение HDMI устройств; Подключение усилителя НЧ; Подключение компьютера
- 21 Подключение DVD-проигрывателя; Подключение карты условного доступа CI+; Установка CAM-модуля в слот COMMON INTERFACE
- 23 Пульт дистанционного управления
- 25 Первое включение
- 26 Домашний экран
- 27 Настройка; Подключить пульт или другое устройство через
- 30 и ролики
- 32 Смотреть медиафайлы с USB-носителя
- 34 Возможные проблемы и их решения
- 38 Стандарт ISO 13406-2 различает 4 типа дефектных пикселей; Технические характеристики SMART-системы
- 39 Технические характеристики
- 40 Правила и условия монтажа, хранения, перевоз ки
- 41 Дополнительная информация; Техническое обслуживание
- 43 Гарантийный талон; SN/IMEI:
Характеристики
Остались вопросы?Не нашли свой ответ в руководстве или возникли другие проблемы? Задайте свой вопрос в форме ниже с подробным описанием вашей ситуации, чтобы другие люди и специалисты смогли дать на него ответ. Если вы знаете как решить проблему другого человека, пожалуйста, подскажите ему :)








