Телевизоры DEXP UE48J6530AU - инструкция пользователя по применению, эксплуатации и установке на русском языке. Мы надеемся, она поможет вам решить возникшие у вас вопросы при эксплуатации техники.
Если остались вопросы, задайте их в комментариях после инструкции.
"Загружаем инструкцию", означает, что нужно подождать пока файл загрузится и можно будет его читать онлайн. Некоторые инструкции очень большие и время их появления зависит от вашей скорости интернета.

Установка телевизора
Монтаж телевизора на стене
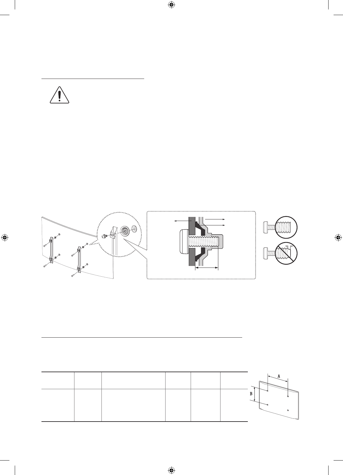
При креплении телевизора на стену следует строго придерживаться рекомендаций производителя.
В случае неправильной установки изделие может соскользнуть или упасть и нанести серьезные
травмы ребенку или взрослому человеку. Кроме того, возможны серьезные повреждения самого
устройства.
Установка настенного крепления
Крепление телевизора к стене можно осуществить с помощью набора для настенного монтажа (не входит в
комплект). Модели, имеющие в комплекте адаптер для крепления на стену, следует устанавливать, как показано на
рисунках ниже, перед установкой набора для настенного монтажа.
-
См. руководство по установке к набору Samsung для настенного монтажа.
Перед установкой винтов для настенного крепления приложите пенопласт из упаковки к фронтальной части
телевизора, чтобы не повредить его.Затем положите телевизор и затяните винты.
-
Для упаковки телевизоров с диагональю экрана 40 дюймов и менее пенопласт не используется.
При монтаже звуковой панели с телевизором на стену с помощью настенного крепления сначала установите на
телевизор звуковую панель, а потом прикрепите телевизор с установленной панелью к настенному креплению.
Дополнительные сведения см. в документации к звуковой панели.
-
Установка звуковой панели с настенным креплением может не поддерживаться в зависимости от страны или
модели.
ТВ
Кронштейн
для
настенного
монтажа
C
Адаптер для
крепления на
стену
Подробную информацию об установке настенного крепления см. в инструкциях, прилагаемых к набору для
настенного монтажа. Рекомендуем осуществлять установку настенного кронштейна под руководством технического
специалиста. Не следует выполнять установку самостоятельно. Samsung Electronics не несет ответственности за
повреждения изделия или травмы, полученные в результате самостоятельной установки настенного крепления
покупателем.
Характеристики набора для настенного крепления VESA
Устанавливайте настенное крепление на прочную стену перпендикулярно полу. В случае монтажа настенного
крепления на другие виды поверхностей, помимо изготовленных из гипсокартона, обратитесь за консультацией к
местному дилеру. При установке на потолке или наклонной стене телевизор может упасть и стать причиной тяжелой
травмы.
Семейство
продуктов
Размер
телевизора в
дюймах
Параметры отверстий для
винтов стандарта VESA, в
миллиметрах (A * B)
С (мм)
Стандартный
винт
Количество
Светодиодные
телевизоры
[с изогнутым
экраном]
48
400 X 400
27,4 ~ 32,4
M8
4
Русский - 10
UJ6500_RU_BN68-07076V-00_L04.indb 10
2016-04-12 오후 2:23:16
Содержание
- 3 Что входит в комплект?
- 4 Использование контроллера телевизора; Подключение ТВ-камеры
- 5 Пульт ДУ; Названия кнопок выше могут отличаться от фактических названий.; Установка батарей в пульт дистанционного управления
- 6 Подключение к сети; Беспроводное сетевое соединение
- 7 Электронное руководство e-Manual; Описание кнопок основного экрана электронного руководства; Обновление электронного руководства до последней версии; Исходная настройка
- 8 Устранение неисправностей и обслуживание; Поиск и устранение неисправностей
- 9 Датчик экономного режима и яркость экрана; Предупреждение относительно неподвижных изображений
- 10 Установка телевизора; Монтаж телевизора на стене; Установка настенного крепления; Характеристики набора для настенного крепления VESA
- 11 Укладка кабелей с помощью направляющей для кабеля
- 12 Предотвращение падения телевизора
- 13 Технические характеристики; Уменьшение потребления электроэнергии
- 14 Лицензии; Рекомендация – только для стран ЕС
- 15 Режим ожидания; Знак имеет форму квадрата
- 18 Содержание; Краткое руководство; Подключения
- 19 Интеллектуальные функции
- 21 Система и поддержка
- 23 Подключение к сети Интернет; Настройка Smart Hub; Настроить Smart; Добро пожал. в Smart Hub; Использование функции Smart Hub
- 24 Управление телевизором с помощью голоса; Настройка Распознавание голоса
- 26 Управление телевизором с помощью движений; Настройка Управл. движениями; Проверка среды управления движениями; Анимационное руководство по движениям
- 27 Управление телевизором с помощью жестов
- 28 Использование пульта Samsung Smart Control; Управление телевизором с помощью кнопки
- 29 Настройка пульта Samsung Smart Control; Сопряжение телевизора с пультом Samsung Smart Control
- 30 Улучшение качества просмотра спортивных событий; Включение функции Режим спорта; Режим спорта
- 31 Редактирование каналов; Запуск функции изменения канала; Перемещение или удаление каналов
- 32 Подключение антенны (Антенна; Тип подключения антенны; Двойной осциллятор
- 33 Установление проводного соединения с сетью Интернет; Использование кабелей локальной сети
- 34 Подключение к проводной сети Интернет автоматически; Установление беспроводного соединения с сетью Интернет; Подключение к беспроводной сети Интернет автоматически
- 35 Проверка состояния сетевого подключения; Изменение названия телевизора в списке сети
- 36 Подключение к сети с помощью мобильного адаптера
- 37 Устранение проблем с подключением к сети Интернет; Устранение проблем с подключением к проводной сети Интернет; Сетевой кабель не найден; Не удается подключиться к сети; Настройки IP; Выполнено подключение к беспроводной сети, но не к сети Интернет; Настройки IP; Настройка сети выполнена, но нет подключения к сети Интернет
- 38 Устранение проблем с беспроводным подключением к сети Интернет; Настройки сети
- 39 Подключение видеоустройств; Подключение через кабель HDMI
- 40 Подключение через компонентный кабель
- 41 Подключения аудиовхода и аудиовыхода; Подключение через кабель HDMI (ARC
- 42 Подключение с помощью аудиокабеля
- 43 Подключение компьютера; Использование телевизора в качестве монитора компьютера; Подключение через порт HDMI
- 44 Подключение с помощью кабеля HDMI-DVI; Подключение телевизора к домашней сети
- 45 Соединение с мобильным устройством; Подключение с помощью кабеля MHL-HDMI
- 46 Использование функции Screen Mirroring; Соединение через мобильное устройство; Подключение при автоматическом разрешении соединения
- 47 Подключение мобильных устройств без беспроводного
- 48 Подключение мобильного устройства через Samsung Smart View 2.0; Сопряжение ноутбука с телевизором - КИНO TV (функция
- 49 Выбор входного сигнала от внешних устройств; SOURCE
- 50 Примечания по подключению; Примечания относительно подключения через порт HDMI
- 51 Примечания по подключению аудиоустройств; Выбрать; Звук; Примечания по подключению компьютеров; Примечания по подключению мобильных устройств
- 52 Сведения о подключении для КИНO TV (функция беспроводного
- 53 О пульте Samsung Smart Control
- 55 Управлением телевизором с помощью кнопки; Управление телевизором с помощью навигационных кнопок и кнопки; Телегид
- 56 Отображение и использование экранного пульта
- 58 Настройка универсального пульта ДУ; Источник
- 59 Использование меню инструментов на экране телевизора; TOOLS
- 60 Управление телевизором с помощью клавиатуры; Подключение клавиатуры; Подключение USB-клавиатуры; Подключение клавиатуры Bluetooth
- 61 Использование клавиатуры; Изменение параметров клавиатуры
- 62 Управление телевизором с помощью мыши; Подключение мыши Bluetooth; Использование мыши; Выбор и запуск элемента; Прокрутка меню телевизора или экрана; Выход из меню телевизора или функции
- 63 Настройка работы кнопок мыши и скорости указателя; Подключение геймпада Bluetooth; Ввод текста с помощью экранной клавиатуры; Использование дополнительных функций
- 65 Тестирование соединения Smart Hub
- 66 Использование обучающего руководства к службе Smart Hub; Сброс настроек Smart Hub
- 67 Использование службы Smart Hub с Уч. зап. Samsung; Создание учетной записи Samsung
- 68 Вход в учетную запись Samsung; Регистрация учетной записи Samsung в телевизоре; Войти; Связывание учетной записи Samsung с учетными записями внешних; Привязка и отключение учетной записи службы
- 69 Изменение и добавление информации в учетную запись Samsung; Изменение изображения профиля; Удаление учетной записи Samsung с телевизора
- 70 Популярные; Моя страница; Управление службой игр с помощью всплывающего меню параметров; Просмотр подробной информации; Просмотр экрана с подробной информацией
- 71 Установка и запуск игры; Установка игр; Запуск установленной игры; Управление загруженными или приобретенными играми; Обновление игры
- 72 Включение автоматического обновления игр; Удаление игры
- 73 Использование службы Приложения; Управление загруженными приложениями с помощью всплывающего
- 74 Установка приложения; Быстрая установка приложения; Запуск приложения; Включение автоматического обновления приложений
- 75 Использование приложений, зависящих от канала
- 76 Использование e-Manual; Запуск электронного руководства; Использование кнопок в электронном руководстве
- 77 Использование веб-браузера; Настройки просмотра
- 78 Использование службы МОЕ СОДЕРЖИМОЕ; Прочите перед воспроизведением содержимого мультимедиа.
- 79 Воспроизведение мультимедийного содержимого, сохраненного на; RETURN
- 80 Безопасное извлечение устройства USB; Удаление устройства USB; Кнопки и функции, доступные во время просмотра фотографий; Пауза BGM
- 81 Кнопки и функции, доступные во время просмотра видео; Перемотка назад; Повтор
- 83 Кнопки и функции, доступные во время воспроизведения музыки; Пауза; Далее; Список громкоговорителей
- 84 Прослушивание музыки в HD-качестве; Функции на экране списка мультимедийного содержимого; Фильтр по
- 85 Использование службы NewsON; NewsON; Новости
- 86 Управление телевизором с помощью голосовых команд; Распознавание голоса
- 87 Прочтите перед использованием функции распознавания голоса; Изучение основ распознавания голоса; Просмотр всех голосовых команд:; Изменение языка распознавания голоса
- 88 управления; Распознавание; Использование функции распознавания голоса с помощью; Голосовое взаимодействие; Если нужно найти конкретный элемент содержимого:
- 89 Тестирование окружающего освещения с помощью ТВ-камеры
- 90 Проверка уровня окружающего шума и освещения; Включение функции управления движением
- 91 Изучение основных элементов управления жестами; Перемещение указателя; Выбор элемента
- 92 Регулировка скорости указателя
- 93 Изменение вида экрана управления движениями; Режим управления движениями в определенном направлении
- 95 Обзор информации о цифровой транслируемой программе; Использование телегида; Фильтр каналов; Запись
- 96 Просмотр информации о текущей программе; Переключение сигнала вещания; Просмотр информации о сигнале и мощности сигнала цифрового
- 97 Запись программ; Моментальная запись
- 98 Использование функций, доступных во время записи программ; Шаг; Замедленное воспроизведение
- 99 Управление настройками списка записи по расписанию; Просмотр записанных программ
- 101 Управление записанными файлами; Использование функций для работы со списком сохраненных файлов
- 102 Настройка параметра Просмотр по расписанию; Настройка просмотра по расписанию для канала; Настройка просмотра по расписанию для цифрового канала; Экран телегида; Настройка просмотра по расписанию для аналогового канала
- 103 Изменение настроек просмотра по расписанию; Отмена просмотра по расписанию; Использование функции Timeshift
- 104 Timeshift; Использование параметра Список каналов
- 105 Журнал; Добавить новый список; Все
- 106 Регистрация, удаление и редактирование каналов; Регистрация и удаление каналов; Удаление зарегистрированных каналов; Редактирование зарегистрированных каналов
- 107 Включение/выключение защиты паролем для каналов; Блокировка / разблокировка каналов
- 108 Создание личного списка избранного; Регистрация каналов в списке избранного; Выбор и просмотр только списков избранных каналов
- 109 Редактирование списка избранного
- 110 Удаление зарегистрированных каналов из списка избранного; Удалить; Упорядочивание элементов списка избранного; Готово; Копирование каналов из одного списка избранных каналов в другой; ОК
- 111 Выбор типа спортивной программы
- 112 Автоматическое определение ключевых моментов; Использование функций, доступных при просмотре спортивных
- 114 Просмотр фильма с оптимизированным качеством
- 115 Вспомогательные функции для просмотра; Просмотр телепередач с субтитрами; Выбор языка субтитров для каналов вещания
- 116 Чтение цифрового текста; Поиск доступных каналов; Выбор типа соединения антенны
- 117 Выбор языка аудио для каналов вещания; Описание аудио; Выбор жанра; Использование жанра для взрослых
- 118 Использование настроек каналов; Ручная настройка сигналов вещания; Настройка цифровых каналов
- 119 Настройка аналоговых каналов; Точная настройка экрана; Передача списка каналов; Удаление профиля оператора CAM
- 120 Настройка спутниковой системы; Изменение языка телетекста; Отображение меню параметров COMMON INTERFACE
- 121 Настройка качества изображения; Выбор режима изображения
- 123 Настройка дополнительных параметров
- 124 Настройка параметров изображения
- 125 Auto Motion Plus; Снижение размытия; Сброс
- 126 Дополнительные настройки изображения
- 127 Регулировка размера и положения изображения; Изменение размера изображения; Автоматическое изменение размера изображения
- 128 Регулировка размера изображения относительно экрана; Настройка положения изображения.; Изменение параметров режима изображения
- 129 Настройка параметров звука; Выбор режима звука
- 130 Применение звуковых эффектов
- 131 Использование дополнительных настроек звука; Выбор динамиков; Определение типа установки телевизора; Прослушивание звука телевизора через аудиоустройство Samsung
- 132 Воспроизведение звука через наушники Bluetooth; Прослушивание звука телевизора через динамик, совместимый с
- 134 Активация вывода цифрового аудиосигнала
- 135 Сброс всех настроек звука
- 136 Установка времени и использование таймера; Установка текущего времени
- 137 Настройка часов вручную; Автоматическая настройка часов; GMT
- 138 Использование таймеров; Включение телевизора по таймеру
- 139 Выключение телевизора по таймеру
- 140 Предотвращение выгорания экрана; Снижение уровня энергопотребления телевизора
- 141 Выбор внешнего устройства
- 143 Обновление программного обеспечения телевизора; Обновление программного обеспечения телевизора до последней; Автоматическое обновление ПО телевизора
- 144 Обновление ПО телевизора вручную; Защита телевизора от взлома и вредоносного кода; наличие вредоносного кода
- 145 Настройка дополнительных функций
- 146 Использование других функций; Быстрый запуск специальных функций; Белый шрифт на черном фоне (высокий контраст); Увеличение шрифта (для людей с нарушенным зрением)
- 147 Выбор языка меню; Установка пароля; Проверка уведомлений
- 148 Блокировка программ; Включение игрового режима; Наслаждайтесь насыщенными цветами и наивысшим качеством; Включение/отключение звуковых сигналов
- 149 Блокировка/разблокировка контроллера; Отображение/скрытие логотипа Samsung при загрузке; Ускорение включения телевизора; Устранение мерцания
- 150 Восстановление заводских настроек телевизора
- 151 Автоматический запуск службы передачи данных; HbbTV; Включить
- 152 Использование карты для просмотра телевизора (CI или; Подключение карты CI или CI+ к слоту COMMON INTERFACE
- 153 Подключение адаптера карты CI к слоту COMMON INTERFACE
- 154 Подключение карты CI или CI+; Использование карты CI или CI+
- 157 Получение Поддержки; Поддержка через Удаленное управление; Как работает служба удаленной поддержки?; Выполнить диагностику; Настроить параметры телевизора; обновление микропрограммного обеспечения
- 158 Поиск контактной информации службы
- 159 Проблема с изображением; Тестирование изображения; Тест изображения
- 161 Звук слышен неотчетливо; Тестирование звука
- 162 Проблема с трансляцией; Компьютер не подключается
- 163 Запись по расписанию/функция Timeshift не работает
- 166 Другие проблемы
- 168 Ознакомьтесь с данным разделом перед использованием функций
- 169 Таймер выключения; Автовыключение
- 170 Примечания по использованию сервиса S Recommendation; Сервис S Recommendation в сочетании с голосовым управлением
- 171 голоса и Управл. движениями; Использование ТВ-камеры; Проверка среды; движениями
- 172 Требования относительно использования функций Распознавание; Требования для использования функции распознавания голоса
- 173 Требования для использования функции распознавания движений
- 174 Прочтите перед использованием Приложения
- 175 Прочтите перед использованием Web Browser
- 176 Часы
- 177 музыкальных файлов; Ограничения использования фотографий, видео- и музыкальных
- 179 Поддерживаемые форматы и разрешение изображений; Поддерживаемые форматы музыкальных файлов и кодеки
- 180 Поддерживаемые видеокодеки
- 182 Ограничения; Гибкий CI
- 183 Размер изображения и входящие сигналы; Установка замка для защиты от краж
- 184 подключения к сети Интернет; Протоколы системы безопасности беспроводной сети
- 185 Прочтите перед подключением компьютера; IBM
- 186 VESA DMT
- 187 DVI
- 188 Ограничения при использовании соединения Bluetooth; Подключение звука ТВ
- 191 Глоссарий







