Телевизоры DEXP U55H8050E - инструкция пользователя по применению, эксплуатации и установке на русском языке. Мы надеемся, она поможет вам решить возникшие у вас вопросы при эксплуатации техники.
Если остались вопросы, задайте их в комментариях после инструкции.
"Загружаем инструкцию", означает, что нужно подождать пока файл загрузится и можно будет его читать онлайн. Некоторые инструкции очень большие и время их появления зависит от вашей скорости интернета.

15
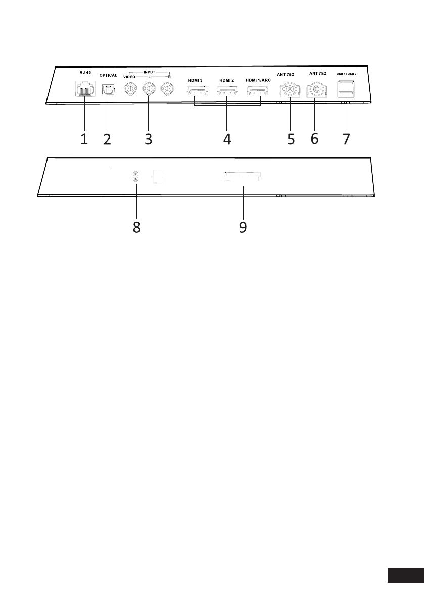
1. Разъём локальной сети LAN RJ-45. Для подключения сети используйте ка-
бель LAN со штекером RJ-45 (в комплект поставки не входит).
2. Разъем OPTICAL.
3. Разъём для подключения кабеля AV IN.
4. Вход для HDMI, интерфейс для подачи сигнала высокой чёткости.
5. Разъём для подключения спутниковой антенны.
6. Разъём для подключения антенны.
7. Разъём USB.
8. Разъем подключения кабеля питания.
9. Cлот для подключения CAM-модуля.
• Проверьте положение и тип разъёмов перед любым подсоединением.
Неплотное подсоединение может вызвать проблемы с изображением или
цветом. Убедитесь в плотности и надежности всех соединений.
Не вся аудио- и видеоаппаратура имеет возможность подключения к телевизо-
ру. Для получения более подробной информации, пожалуйста, обратитесь
к руководству по эксплуатации подключаемого устройства на предмет совме-
стимости и возможности его подключения.
• Перед подключением внешнего оборудования выключите сетевую вилку из
розетки во избежание поражения электрическим током.
Задняя панель
(S2)
NI
CA
CI
AC IN
CI
Содержание
- 4 Мазмұны
- 7 Меры предосторожности
- 9 Установка телевизора; Советы по установке телевизора
- 12 Сборка подставки и настенная установка; Сборка подставки
- 13 Спецификация настенного крепления
- 14 Схема телевизора; Передняя и боковая панели
- 15 Задняя панель
- 16 Внешние подключения; Подключение антенны
- 17 Подключение HDMI устройств; Подключение усилителя НЧ; Подключение компьютера
- 18 Подключение DVD-проигрывателя; Подключение карты условного доступа CI+; Установка CAM-модуля в слот COMMON INTERFACE
- 19 Подключение USB-устройств
- 20 Пульт дистанционного управления
- 22 Первое включение
- 23 Домашний экран
- 24 Настройка; Подключить пульт или другое устройство через Bluetooth; Изменить дату и время
- 25 Изменить настройки экрана; Изменить настройки звука
- 27 Обновить прошивку; Сбросить настройки; Другие настройки
- 29 Искать видео на КиноПоиске или в сети; Смотреть видео с внешнего устройства
- 30 Транслировать звук на внешнюю аудиосистему; Как пользоваться приложениями; Транслировать изображение со смартфона или
- 34 Справка и поддержка
- 35 Стандарт ISO 13406-2 различает 4 типа дефектных пикселей; Технические характеристики SMART-системы
- 36 Технические характеристики
- 37 Правила и условия монтажа, хранения, перевоз ки
- 38 Дополнительная информация; Техническое обслуживание
- 41 Гарантийный талон; Дата постановки на гарантию:
Характеристики
Остались вопросы?Не нашли свой ответ в руководстве или возникли другие проблемы? Задайте свой вопрос в форме ниже с подробным описанием вашей ситуации, чтобы другие люди и специалисты смогли дать на него ответ. Если вы знаете как решить проблему другого человека, пожалуйста, подскажите ему :)







