Телевизоры DEXP F32G8000C - инструкция пользователя по применению, эксплуатации и установке на русском языке. Мы надеемся, она поможет вам решить возникшие у вас вопросы при эксплуатации техники.
Если остались вопросы, задайте их в комментариях после инструкции.
"Загружаем инструкцию", означает, что нужно подождать пока файл загрузится и можно будет его читать онлайн. Некоторые инструкции очень большие и время их появления зависит от вашей скорости интернета.

16
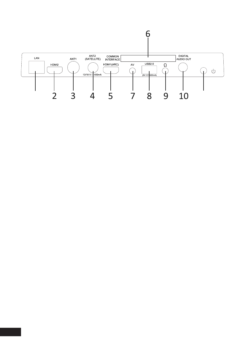
Задняя панель
1. Разъём локальной сети LAN RJ-45. Для подключения сети используйте ка-
бель LAN со штекером RJ-45 (в комплект поставки не входит).
2. Вход для HDMI, интерфейс для подачи сигнала высокой чёткости.
3. Разъём для подключения антенны.
4. Разъём для подключения спутниковой антенны.
5. Вход для HDMI, интерфейс для подачи сигнала высокой чёткости.
6. Cлот для подключения CAM-модуля.
7. Разъём для подключения кабеля AV IN.
8. Разъём USB.
9. Разъём для подключения наушников.
10. Разъём DIGITAL AUDIO OUT.
11. Кнопка включения/ выключения.
• Проверьте положение и тип разъёмов перед любым подсоединением.
Неплотное подсоединение может вызвать проблемы с изображением или
цветом. Убедитесь в плотности и надежности всех соединений. Не вся аудио-
и видеоаппаратура имеет возможность подключения к телевизору; пожалуй-
ста, обратитесь к инструкции Вашего устройства на предмет совместимости
и подключения.
• Перед подключением внешнего оборудования выключите сетевую вилку из
розетки во избежание поражения электрическим током.
• Сервисный разъем не доступен для подключения внешнего устройства. Он
используется производителем только в целях настройки.
1
11
Содержание
- 6 Уважаемый покупатель!; Декларация
- 7 Меры предосторожности
- 9 Перевозка телевизора
- 10 Установка телевизора; Советы по установке телевизора
- 13 Сборка подставки и настенная установка; Сборка подставки
- 14 Спецификация настенного крепления
- 15 Схема телевизора; Передняя панель
- 16 Задняя панель
- 17 Внешние подключения; Подключение антенны
- 18 Подключение HDMI устройств; Подключение усилителя НЧ; Подключение компьютера
- 19 Подключение DVD-проигрывателя; Подключение карты условного доступа CI+; Установка CAM-модуля в слот COMMON INTERFACE
- 21 Пульт дистанционного управления
- 23 Первое включение
- 24 Домашний экран
- 25 Настройка; Подключить пульт или другое устройство через
- 28 Другие настройки; и ролики
- 29 Искать видео на КиноПоиске или в сети; Смотреть видео с внешнего устройства
- 30 Транслировать звук на внешнюю аудиосистему; Как пользоваться приложениями; Транслировать изображение со смартфона или
- 34 Справка и поддержка
- 35 Стандарт ISO 13406-2 различает 4 типа дефектных пикселей; Технические характеристики SMART-системы
- 36 Технические характеристики
- 37 Правила и условия монтажа, хранения, перевоз ки
- 38 Дополнительная информация; Техническое обслуживание
- 41 Гарантийный талон; SN/IMEI:
- 75 Техникалық сипаттамалары
Характеристики
Остались вопросы?Не нашли свой ответ в руководстве или возникли другие проблемы? Задайте свой вопрос в форме ниже с подробным описанием вашей ситуации, чтобы другие люди и специалисты смогли дать на него ответ. Если вы знаете как решить проблему другого человека, пожалуйста, подскажите ему :)








