Телевизоры Telefunken TF-LED40S28T2 - инструкция пользователя по применению, эксплуатации и установке на русском языке. Мы надеемся, она поможет вам решить возникшие у вас вопросы при эксплуатации техники.
Если остались вопросы, задайте их в комментариях после инструкции.
"Загружаем инструкцию", означает, что нужно подождать пока файл загрузится и можно будет его читать онлайн. Некоторые инструкции очень большие и время их появления зависит от вашей скорости интернета.

Before you start
5
5
Before you start
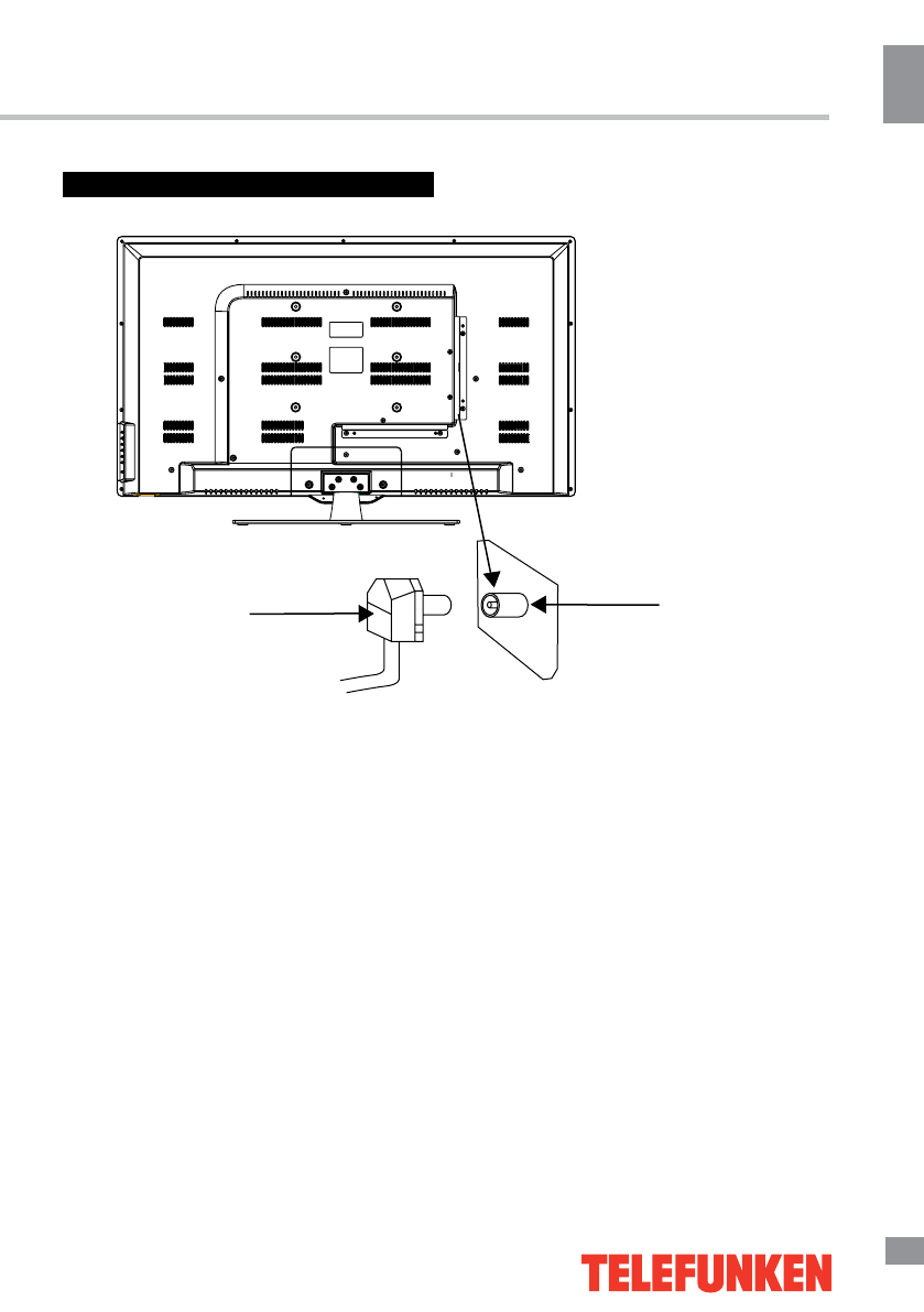
Connection
Outdoor Antenna Connection
Use 75
Ω
coaxial cable plug or 300-75
Ω
impedance converter to plug in antenna input
terminal on the rear of the cabinet.
Other connections
• Connect the audio sources (Including
DVD, VCDR, CAMCORDER and PC) to the
proper Audio input jacks ‘L’ and ‘R’.
• Connect the video source to the
Composite video jack by RCA cable.
• Plug the power cable in the electric outlet,
making sure the current voltage is supported.
• When using the LED as a computer
screen, connect the PC to the VGA jack from
the monitor by the relevant cable (not included).
• This unit has PC audio in jack. Connect
this jack to PC main unit with related audio
cable in PC mode and adjust the volume to
what you want.
• If the video source has a HDMI output
jack, you can connect the signal to the monitor
by the HDMI cable (not included).
• Coaxial output is intended for transmitting
multi-channel sound to an external decoder
(e.g. in 5.1-CH format). Coaxial cable should
be used for connection.
• Connect your headphones or earphones
(not included) to the headphone socket of
this unit. When earphones are connected, the
sound output through the built-in speakers of
this unit is mute.
• PCMCIA slot is used for CI modules that
are obtained from your digital TV provider.
75 Ohm co-axis cable
TVRF antenna jack
Antenna cable connector
Содержание
- 18 Перед началом эксплуатации; Утилизация изделия
- 20 Установка/Подключение; Установка; Выберите ровную плоскую горизонталь-; Крепление на стену; • Перед установкой телевизора на стену; Средства для монтажа аппаратуры на
- 21 Подключение
- 22 Управление устройством; Элементы управления
- 23 Пульт дистанционного управления; Снимите крышку отсека для батареек
- 24 Общие операции
- 25 Экранное меню
- 26 Меню “Звук”; Меню “Канал”
- 27 Меню “Блокировка”
- 28 Операции c USB
- 29 Timeshift
- 30 Руководство по устранению; Неисправность; Подсоедините шнур питания.; Источники помех
- 31 Общая информация; Комплект поставки