Телевизоры Supra STV-LC20LA0010W - инструкция пользователя по применению, эксплуатации и установке на русском языке. Мы надеемся, она поможет вам решить возникшие у вас вопросы при эксплуатации техники.
Если остались вопросы, задайте их в комментариях после инструкции.
"Загружаем инструкцию", означает, что нужно подождать пока файл загрузится и можно будет его читать онлайн. Некоторые инструкции очень большие и время их появления зависит от вашей скорости интернета.

РУКОВОДСТВО ПО ЭКСПЛУАТАЦИИ
13
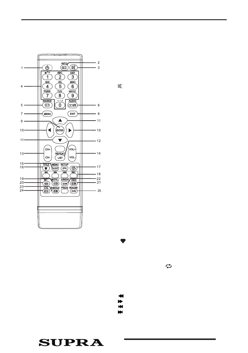
Пульт дистанционного управления
Определение кнопок на пульте дистанционного
управления:
1.
ПИТАНИЕ (POWER):
включение или
отключение телевизора.
2.
ИНФОРМАЦИЯ (INFO):
показывает
информацию о текущей программе.
3.
: отключение звука.
4.
цифровая кнопка переключает прямо на
соответствующий канал.
5.
ИСТОЧНИК (SOURCE)
: переключение между
доступными источниками сигнала.
6.
МЕНЮ (MENU)
: переход к экранному меню
(OSD).
7.
ВЫХОД (EXIT):
выход из текущего режима.
8.
ВХОД (ENTER):
выберите или подтвердите
пункт меню
9.
▲
/
▼:
выбор направления.
10.
◄/
►:
выбор направления.
11.
ПОВТОР (REPEAT):
нажмите для выбора
режима повторного воспроизведения. (В
режиме USB)
12.
CH+/CH-:
переход к следующему /
предыдущему каналу.
13.
VOL+/VOL-:
увеличение/уменьшение громкости
звука.
14.
СОН (SLEEP):
установка таймера отключения.
15.
:
нажмите, чтобы отобразить программу
Избранного в режиме ТВ.(Вы должны настроить
ваши любимые каналы в меню Program Edit
(Правка))
16.
ВОЗВРАТ (RECALL)
:
возврат к последней
просмотренной программе.
17.
переключения между двойной
I /
∞
I/II
:
Кнопка может использоваться
для
двойной
II / MONO /stereo.
НОМЕРНЫЕ КНОПКИ
R BUTTONS):
(NUMBE
ЦВЕТНЫЕ КНОПКИ (COLOR BUTTONS):
красная/зеленая/желтая/синяя навигационная
кнопка.
: быстрая перемотка назад (в режиме USB)
: быстрая перемотка вперед (в режиме USB)
:
предыдущая запись (в режиме USB)
: следующая запись (в режиме USB)
18.
15













