Телевизоры Supra STV-LC16500WL - инструкция пользователя по применению, эксплуатации и установке на русском языке. Мы надеемся, она поможет вам решить возникшие у вас вопросы при эксплуатации техники.
Если остались вопросы, задайте их в комментариях после инструкции.
"Загружаем инструкцию", означает, что нужно подождать пока файл загрузится и можно будет его читать онлайн. Некоторые инструкции очень большие и время их появления зависит от вашей скорости интернета.

Приложите подставку к ножке телевизора.
Закрепите подставку с помощью четырех винтов,
поставляемых в комплекте, и крестовой отвертки.
Не перетягивайте винты.
Выполнение присоединений
ПРИМЕЧАНИЕ:
Перед тем, как подключить к телевизору
какое-либо устройство, либо отключить
устройство от телевизора, отключите пи-
тание телевизора и устройства, выполни-
те необходимые соединения, затем включи-
те питание телевизора и подключенного
устройства. Когда вы отключаете или под-
ключаете кабель питания или сигнальный
кабель, то держите его за вилку (изолиро-
ванную часть) и не тяните за кабель
ПОДГОТОВКА ТЕЛЕВИЗОРА К РАБОТЕ
11
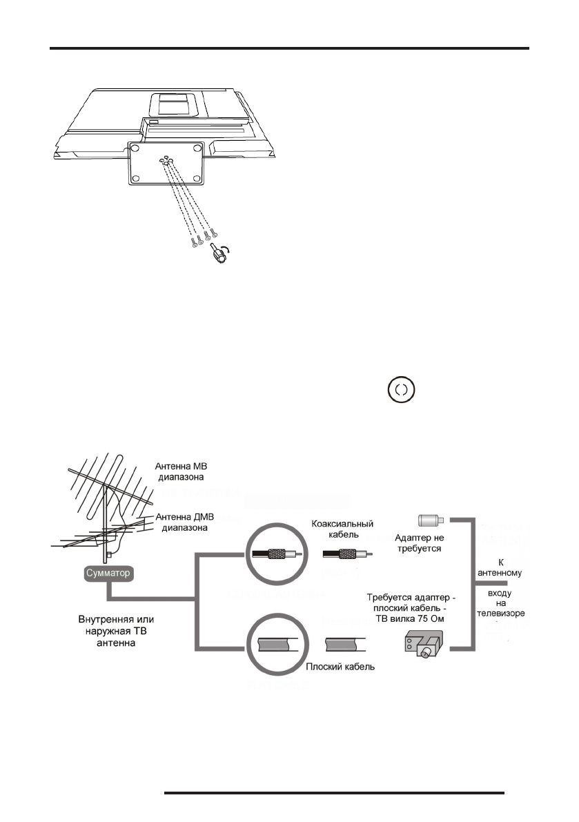
1. Подключение антенны и питания
1. Штекер антенного кабеля соединяется антенным гнездом телевизора.
В случае применения комнатной или индивидуальной наружной антенны следуйте следующим рекомен-
дациям:












