Телевизоры Sony KDL-46HX820 - инструкция пользователя по применению, эксплуатации и установке на русском языке. Мы надеемся, она поможет вам решить возникшие у вас вопросы при эксплуатации техники.
Если остались вопросы, задайте их в комментариях после инструкции.
"Загружаем инструкцию", означает, что нужно подождать пока файл загрузится и можно будет его читать онлайн. Некоторые инструкции очень большие и время их появления зависит от вашей скорости интернета.

32
RU
SU-WH500 (за исключением моделей KDL-65HX92x)
Для надлежащей установки см. инструкции, прилагаемые к кронштейну для 
размещения на стене SU-WH500.
~
•
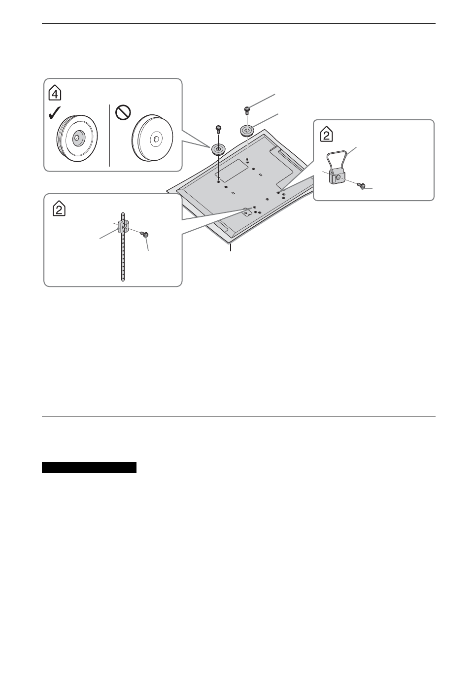
Расположив телевизор экраном вниз, прикрепите принадлежности кронштейна SU-WH500.
•
Нет необходимости прикреплять прокладки, прилагаемые к кронштейну SU-WH500. (
3
-1 в
разделе “Установка” в инструкциях к SU-WH500)
•
Прикрепите шкивы к двум верхним отверстиям под винты (см. рисунок выше) с помощью 
винтов, прилагаемых к кронштейну SU-WH500. (
3
-3 в разделе “Установка” инструкций для
кронштейна SU-WH500)
•
Прикрепите отклоняемый кронштейн и поддерживающий ремень (см. рисунок) с помощью 
винтов, прилагаемых к кронштейну SU-WH500. (
3
-4, 5 в разделе “Установка” инструкций для
кронштейна SU-WH500)
SU-WL700 (за исключением моделей KDL-65HX92x, 
KDL-60NX72x)
Обязательно надежно прикрепите монтажный кронштейн к стене, следуя инструкциям, 
приведенным в настоящем руководстве, а также в руководстве, прилагаемом к настенному 
монтажному кронштейну. Цифра в скобках обозначает количество шагов установки, описанных 
в руководстве по эксплуатации, прилагаемом к настенному монтажному кронштейну.
1
Проверьте детали, прилагаемые к настенному монтажному кронштейну 
(
1
).
См. руководство по эксплуатации, прилагаемое к настенному монтажному 
кронштейну.
2
Определите местоположение для установки. (
2
-1)
См. следующие материалы: “Таблица установочных размеров телевизора”. 
Обеспечьте наличие достаточного зазора между телевизором, потолком и 
выступающими частями стены, как указано в руководстве.
×
2
×
1
×
1
Шкив
Винт
Винт
Наклонный упор
Винт
Поддерживающий 
ремень
Меры предосторожности
Содержание
- 4 Просмотр телевизора
- 5 Утилизация телевизора
- 6 Установка принадлежностей (кронштейн для настенной установки/; Содержание
- 7 на пульте ДУ и; Содержимое руководства i-Manual; Использование i-Manual; HDMI”; Поддержка продукта; Описание частей
- 8 : Сборка настольной; Начало работы
- 10 просмотра телевизора
- 12 видеоустройств
- 14 Убедитесь, что переключатель; ENERGY SAVING; Нажмите кнопку
- 16 Использование телевизора BRAVIA; Включите переключатель; ENERGY; Выберите телевизионный канал.; в цифровом режиме; На цифровой кнопке; AUDIO; пульта
- 17 Компоненты и элементы управления пульта ДУ; и прочтите встроенное руководство; SYNC MENU; Выбор каналов в режиме телевизора.
- 18 С помощью кнопок; Для выхода из меню нажмите кнопку
- 19 После нажатия
- 20 Выбор элементов в i-Manual
- 21 Описание экрана руководства i-Manual; , чтобы вернуться к экрану телевизора. При повторном нажатии; HOME; и выберите “i-Manual” в; Отображается, только если функция доступна.
- 22 Настройка сети
- 23 Нас; Беспроводная локальная сеть; : Выполните настройку в; Нажмите; выберите
- 25 Просмотр состояния сети
- 26 Поиск и устранение неисправностей; Дополнительные сведения
- 27 Состояние
- 28 Технические характеристики
- 31 К сведению покупателей:
- 32 Определите местоположение для установки. (
- 34 Схема/таблица положения винтов и скоб; Таблица размеров для установки телевизора; Положение винтов
- 36 Кабель питания; Примечания
- 37 Предупреждение
 
  
  
  
  
  
  
  
  
  
  
  
  
  
  
  
  
  
  
  
  
  
  
  
  
  
  
  
  
  
  
  
  
  
  
  
  
 











