Телевизоры Sony KDL-42W817B - инструкция пользователя по применению, эксплуатации и установке на русском языке. Мы надеемся, она поможет вам решить возникшие у вас вопросы при эксплуатации техники.
Если остались вопросы, задайте их в комментариях после инструкции.
"Загружаем инструкцию", означает, что нужно подождать пока файл загрузится и можно будет его читать онлайн. Некоторые инструкции очень большие и время их появления зависит от вашей скорости интернета.

UA
9
UA
2
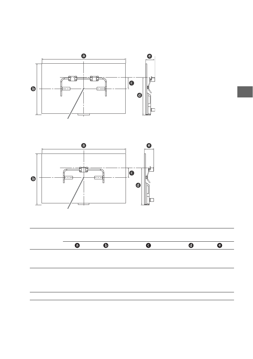
Переконайтеся, що стіна має достатні розміри і в змозі витримати вагу, щонайменше
в чотири рази більшу за вагу телевізора.
Дані, необхідні для встановлення телевізора на стіні, можна знайти в наведеній
нижче таблиці. Вагу телевізора див. на стор. 15-18 (Технічні характеристики).
KDL‐50W82xB, KDL‐50W81xB, KDL‐50W80xB
KDL-42W82xB, KDL-42W81xB, KDL-42W80xB, KDL-42/32W70xB
Одиниця виміру: см
Примітка
• Цифри у наведеній таблиці можуть дещо відрізнятися в залежності від монтажу.
Назва
моделі
KDL-
Габарити дисплея
Габарити центру
екрана
Розмір для монтажу
50W82xB/
50W81xB/
50W80xB
111,6
65,6
13,0
46,9
11,8
42W82xB/
42W81xB/
42W80xB/
42W70xB
95,8
56,3
17,5
46,5
11,8
32W70xB
72,9
43,3
18,8
41,3
11,3
Центральна точка екрана
Центральна точка екрана
Содержание
- 3 ВАЖНОЕ ПРИМЕЧАНИЕ
- 4 Кабель питания; ПРИМЕЧАНИЕ О СЕТЕВОМ АДАПТЕРЕ; Запрещенные типы установки
- 8 Установка телевизора на стену; Отсоединение настольной подставки от телевизора
- 9 Подготовка необходимых элементов.; Установка кронштейнов на стену
- 12 Подготовка к установке телевизора
- 13 Установка телевизора на стене
- 14 Размеры для расположения отверстий на стене
- 15 Поиск неисправностей; Поиск и устранение неисправностей
- 16 Не удается подключить к беспроводному; Технические характеристики; Система
- 17 Прочее; Электропитание и прочее
- 18 • Все функции, относящиеся к Цифровому
- 19 Информация о торговых марках