Телевизоры Sony KDL-26L4000 - инструкция пользователя по применению, эксплуатации и установке на русском языке. Мы надеемся, она поможет вам решить возникшие у вас вопросы при эксплуатации техники.
Если остались вопросы, задайте их в комментариях после инструкции.
"Загружаем инструкцию", означает, что нужно подождать пока файл загрузится и можно будет его читать онлайн. Некоторые инструкции очень большие и время их появления зависит от вашей скорости интернета.

33
RU
Дополнительн
ы
е
свед
ения
KDL-32L40xx
KDL-26L40xx
KDL-19L40xx
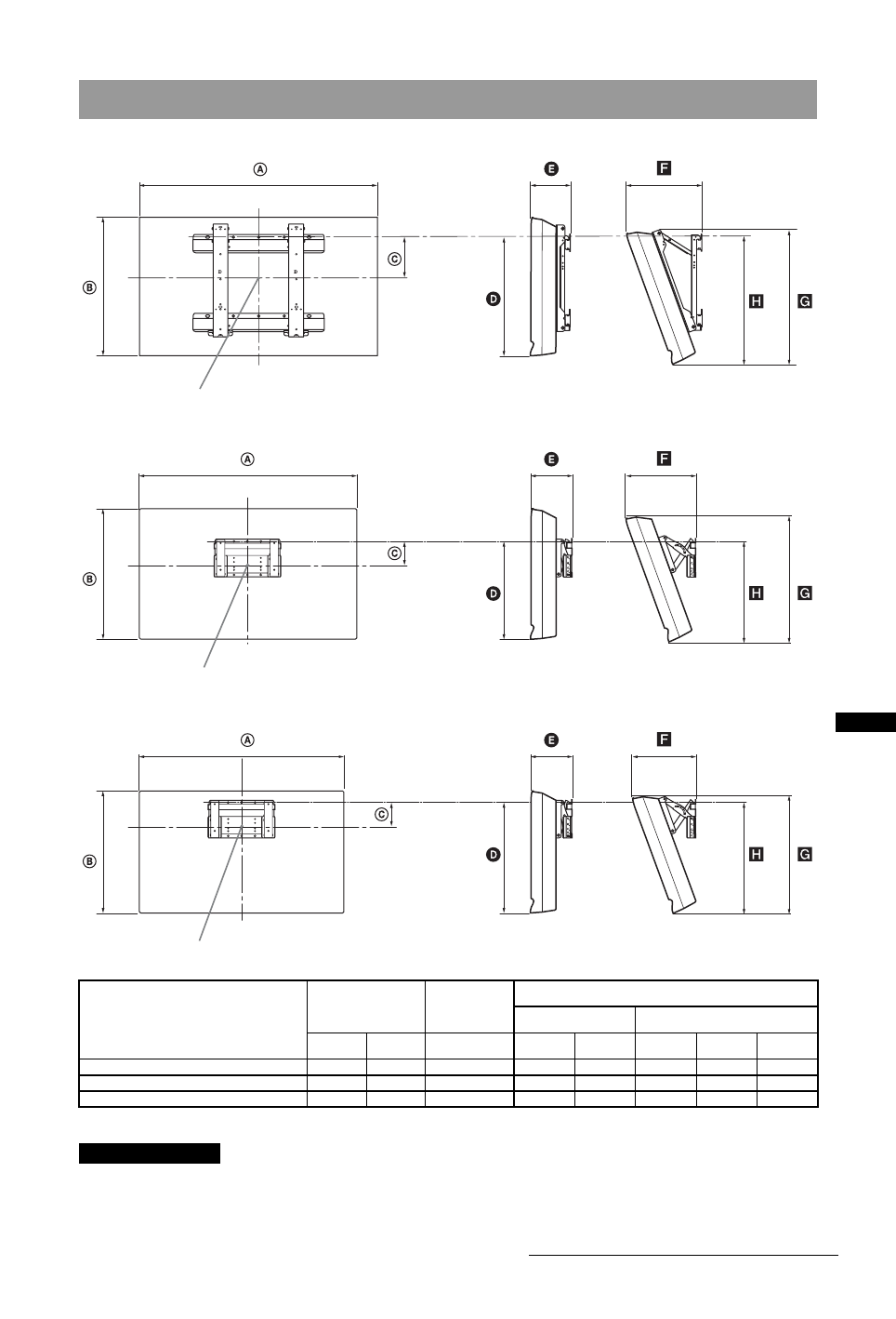
Единицы измерения: мм
Рисунки над таблицей могут немного отличаться в зависимости от установки.
Стена, на которую будет устанавливаться телевизор, должна быть достаточно прочной, чтобы
выдержать вес, по крайней мере, в четыре раза превышающий вес устанавливаемого
телевизора. Для определения веса телевизора см. пункт “Технические характеристики” (стр. 35).
Таблица установочных размеров телевизора
Название модели
Размеры экрана
Координата
положения
центра
экрана
Длина для каждого угла установки
Угол (0
°
)
Угол (20
°
)
A
B
C
D
E
F
G
H
KDL-32L40xx
807
548
172
485
167
304
532
513
KDL-26L40xx
674
470
92
352
153
258
456
357
KDL-19L40xx
479
376
125
339
136
215
362
340
Центральная точка экрана
Центральная точка экрана
Центральная точка экрана
ПРЕДУПРЕЖДЕНИЕ
Продолжение на следующей странице
Содержание
- 2 Введение
- 3 Использование цифрового электронного экранного телегида (EPG); Содержание; : только для цифровых каналов
- 4 Начало работы; Установка батареек в пульт ДУ; Прикрепление
- 7 С помощью кнопок
- 8 Установка и подключение; Установка
- 9 Кабель питания; Примечания; Запрещенные типы установки; Если телевизор не используется; выключите
- 10 Просмотр телевизора
- 11 Описание пульта ДУ
- 13 Просмотр телевиз; Просмотр телевизионных программ; Нажмите кнопку; В цифровом режиме; Дополнительные операции; Чтобы
- 14 Вход в режим телетекста; Несколько раз нажмите; СубтитрЫ
- 15 Опции
- 16 В цифровом режиме нажмите GUIDE.; GUIDE
- 18 Использование дополнительных устройств; Подключение дополнительных устройств
- 19 пользование д; Для других подключенных устройств
- 20 Использование меню “Сервис”; кнопку; Функции контроля по HDMI; • Одновременное с телевизором
- 21 Использование функций меню; Аналоговое ТВ
- 22 Меню “Настройка изображения”
- 23 Сброс
- 24 Меню “Настройка звука”
- 25 Меню “Функции”; Формат экрана; “Сдвиг по горизонтали”:
- 26 Таймер; Используется для установки таймера выключения телевизора.; Таймер выкл
- 27 Меню “Настройка”; Если Вы ввели неверный символ
- 28 Система
- 29 Аудиофильтр; Сохраняет изменения в настройках меню “
- 30 Меню “Цифровая конфигурация”; Автопоиск цифр. станций
- 32 Дополнительные сведения; К сведению покупателей:; монтажному кронштейну.
- 33 Дополнительн; Таблица установочных размеров телевизора; Центральная точка экрана
- 34 Схема/таблица расположения винтов и скоб
- 35 Технические характеристики
- 37 Посмотрите, не мигает ли индикатор; Если индикатор мигает; на верхней части телевизора,; Если индикатор не мигает; Изображение; Общие












