Телевизоры Shivaki STV-19LEDG7 - инструкция пользователя по применению, эксплуатации и установке на русском языке. Мы надеемся, она поможет вам решить возникшие у вас вопросы при эксплуатации техники.
Если остались вопросы, задайте их в комментариях после инструкции.
"Загружаем инструкцию", означает, что нужно подождать пока файл загрузится и можно будет его читать онлайн. Некоторые инструкции очень большие и время их появления зависит от вашей скорости интернета.

- 6 -
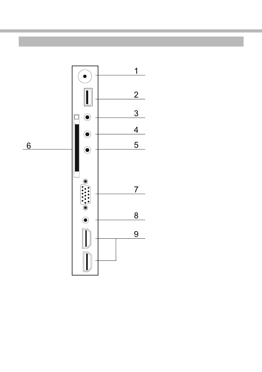
ɈɉɂɋȺɇɂȿ ɄɇɈɉɈɄ ɍɋɌɊɈɃɋɌȼȺ
ȻɈɄɈȼȺə ɂ ɁȺȾɇəə ɉȺɇȿɅɖ
1.
ȼɯɨɞɧɨɣ ɪɚɡɴɟɦ Ɍȼ ɫɢɝɧɚɥɚ
2.
Ʉɨɧɧɟɤɬɨɪ
USB
3.
ȼɵɯɨɞɧɨɣ ɚɭɞɢɨ ɪɚɡɴɟɦ ɧɚɭɲɧɢɤɨɜ
4.
ȼɯɨɞɧɨɣ ɪɚɡɴɟɦ
CVBS A/V
5.
ȼɯɨɞɧɨɣ ɪɚɡɴɟɦ ɞɥɹ ɤɨɦɩɨɧɟɧɬɧɨɝɨ
ɫɢɝɧɚɥɚ
6.
Ʉɨɧɧɟɤɬɨɪ
CI
7.
ȼɯɨɞɧɨɣ ɪɚɡɴɟɦ
PC-RGB VGA
8.
ȼɯɨɞɧɨɣ ɪɚɡɴɟɦ
PC
ɢ ɤɨɦɩɨɧɟɧɬɧɵɣ
ɚɭɞɢɨ
9.
ȼɯɨɞɧɨɣ ɪɚɡɴɟɦ
HDMI-2