Телевизоры Samsung UE49KS7000U - инструкция пользователя по применению, эксплуатации и установке на русском языке. Мы надеемся, она поможет вам решить возникшие у вас вопросы при эксплуатации техники.
Если остались вопросы, задайте их в комментариях после инструкции.
"Загружаем инструкцию", означает, что нужно подождать пока файл загрузится и можно будет его читать онлайн. Некоторые инструкции очень большие и время их появления зависит от вашей скорости интернета.

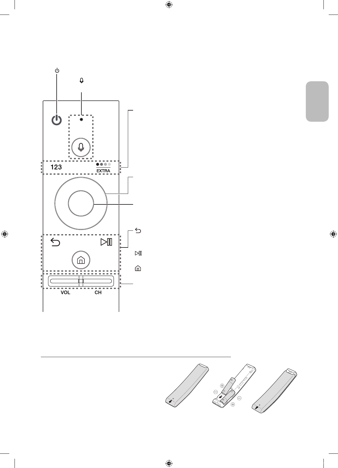
The Samsung Smart Remote
(Voice recognition): Runs Voice Interaction. Press the button, say a voice command, and then release
the button to run Voice Interaction. When pressed once, the guide to Voice Interaction appears.
(Power): Press to turn the TV on or off.
123
(Number pad): When pressed, a number strip appears on the screen.
Select numbers and then select
Done
to enter a numeric value. Use to change
the channel, enter a PIN, enter a ZIP code, etc.
-
When pressed for 1 second or more, the TTX menu appears.
EXTRA
(extra): While watching content, press to display extra information from
the content provider.
4 colour buttons
(colour): Use these coloured buttons to access additional
options specific to the feature in use.
VOL
(Volume): Move the button up or down to adjust the volume.
To mute the sound, press the button. When pressed for 1 second or more, the
Accessibility Shortcuts
menu appears.
CH
(Channel): Move the button up or down to change the channel. To see the
Guide
screen, press the button.
-
When pressed for 1 second or more, the
Channel List
screen appears.
Directional pad
: Moves the focus and changes the values seen on the TV's
menu.
(Return): Returns to the previous menu. When pressed for 1 second
or more, the running function is terminated. When pressed while you are
watching a programme, the previous channel appears.
(Play/pause): When pressed, the playback controls appear. Using these
controls, you can control the media content that is playing.
(Smart hub): Returns to the
Home Screen
.
Select
: Selects or runs a focused item. When pressed while you are watching
content, detailed programme information appears. When pressed again, you
can select or run any of the functions displayed.
Installing batteries into the Samsung Smart Remote
To use the Samsung Smart Remote, push the rear cover
open in the direction of the arrow and insert the batteries
as shown in the figure. Make sure that the positive and
negative ends are facing the correct direction.
-
Alkaline batteries are recommended for longer
battery life.
Engl
ish
English - 5
KS7000_RU_BN68-07864H-00_L04.indb 5
2016-04-21 오전 10:52:19













