Телевизоры Samsung UE48J6500AU - инструкция пользователя по применению, эксплуатации и установке на русском языке. Мы надеемся, она поможет вам решить возникшие у вас вопросы при эксплуатации техники.
Если остались вопросы, задайте их в комментариях после инструкции.
"Загружаем инструкцию", означает, что нужно подождать пока файл загрузится и можно будет его читать онлайн. Некоторые инструкции очень большие и время их появления зависит от вашей скорости интернета.

TV Installation
Mounting the TV on a wall
If you mount this product on a wall, follow the instructions exactly as recommended by the manufacturer.
Unless it is correctly mounted, the product may slide or fall, thus causing serious injury to a child or adult
and serious damage to the product.
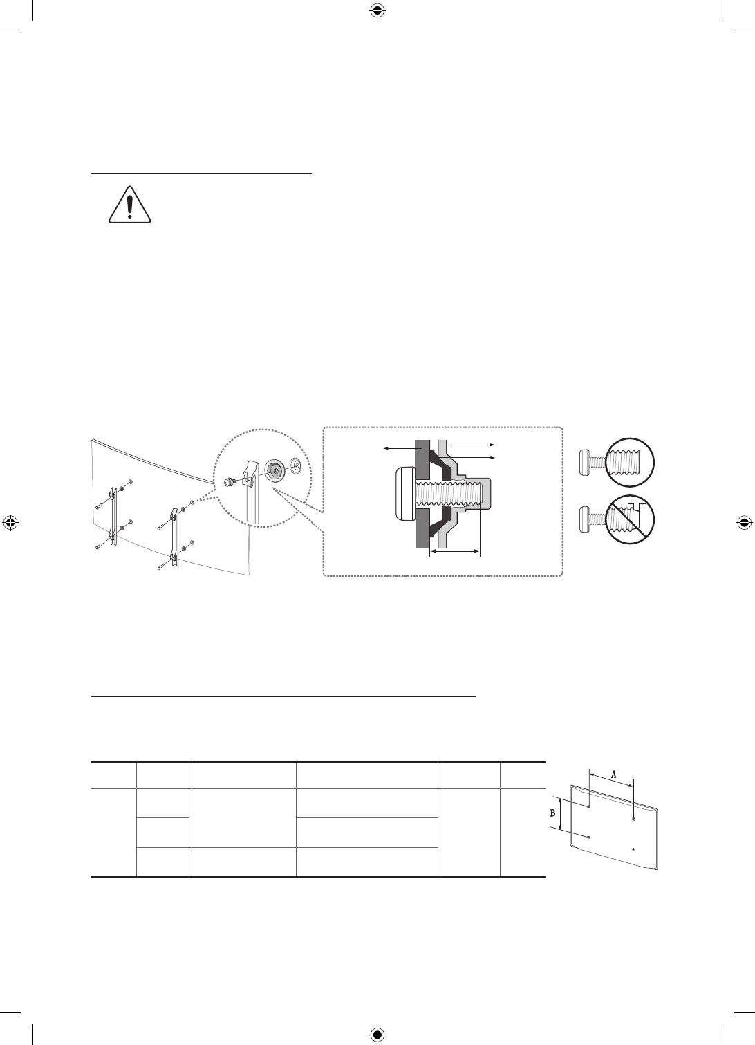
Installing the wall mount kit
You can mount the TV on the wall using a wall mount kit (sold separately). For models providing wall mount adapters, install
them as shown in the figures below before installing the wall mount kit.
- Refer to the installation manual included with the Samsung wall mount kit.
Before you install the screws for the wall mount, put the Styrofoam that came with the TV's packaging on the TV to protect it.
Then, lay the TV down and attach the screws.
- The Styrofoam is not provided for the 40-inch or less TVs.
To mount both a soundbar and the TV onto a wall using the wall mount, mount the soundbar onto the TV first, and then mount
the TV/Soundbar combination onto the wall mount. For detailed information, see the instructions provided with the soundbar.
- The soundbar installation with the wall mount may not be supported for the specific region or model.
TV
Wall mount
Bracket
C
Wall mount
Adapter
For detailed information about installing the wall mount, see the instructions provided with the wall mount kit. We recommend
that you contact a technician for assistance when installing the wall mount bracket. We do not advise you to do it yourself.
Samsung Electronics is not responsible for any damage to the product or injury to yourself or others if you choose to install the
wall mount on your own.
VESA wall mount kit notes and specifications
You can install your wall mount on a solid wall perpendicular to the floor. Before attaching the wall mount to surfaces other than
plaster board, contact your nearest dealer for additional information. If you install the TV on a ceiling or slanted wall, it may fall
and result in severe personal injury.
Product
Family
TV size in
inches
VESA screw hole specs
(A * B) in millimetres
C (mm)
Standard
Screw
Quantity
LED-TV
[Curved]
32
200 X 200
27.6 ~ 32.6
M8
4
40
27.4 ~ 32.4
48 ~ 55
400 X 400
27.4 ~ 32.4
English - 10
[UJ6500-RU]BN68-07076H-02L04.indb 10
2015-03-27 오후 4:30:25













