Телевизоры Panasonic TX-R32LX80K (KS) - инструкция пользователя по применению, эксплуатации и установке на русском языке. Мы надеемся, она поможет вам решить возникшие у вас вопросы при эксплуатации техники.
Если остались вопросы, задайте их в комментариях после инструкции.
"Загружаем инструкцию", означает, что нужно подождать пока файл загрузится и можно будет его читать онлайн. Некоторые инструкции очень большие и время их появления зависит от вашей скорости интернета.

25
Подключение к HDMI разъему
HDMI (мультимедийный интерфейс высокого разрешения) позволяет наслаждаться изображением высокого
разрешения и высококачественным звуком при подключении к телевизору соответствующих внешних
устройств.
Внешние устройства, совместимые с функцией HDMI (*1) с выходными разъёмами HDMI или DVI, например,
декодер спутникового телевидения или DVD-плеер, может подключаться к разъёму HDMI с помощью кабеля
HDMI (полностью подключенный). Для выполнения подключений, смотрите раздел “Внешние устройства” на
странице 22.
Примечание
Интерфейс HDMI является первым полным цифровым потребительским аудио-видео интерфейсом, не
использующим сжатие информации.
Если внешняя аппаратура имеет только DVI выход, подключитесь к разъёму HDMI1 с помощью кабеля
подключения разъема DVI к разъему HDMI (*2).
Когда используется кабель для подключения разъема DVI к разъему HDMI, подключите аудио кабель к
входному аудио разъёму (для HDMI1 используйте AUDIO IN).
Настройки звука можно произвести в меню “Вход HDMI1”.
Доступные частоты дискретизации звука (2 канальная линейная импульсно-кодовая модуляция): 48 кГц,
44,1 кГц, 32 кГц.
Разъём HDMI2 предназначен только для цифрового аудио сигнала.
Подключение к ПК не предусмотрено.
Если подключаемая аппаратура имеет функцию настройки формата, установите формат “16:9”.
Данные HDMI разъемы относятся к “типу A”.
Внешние устройства, не имеющие выходных цифровых разъёмов, могут быть подключены к входным
разъёмам “Компонент. ” , “S-VIDEO” или “Video” для приема аналоговых сигналов.
Входной разъём HDMI может использоваться только для следующих сигналов изображения: 480i, 480p, 576i,
576p, 720p и 1080i. Проверьте настройку выходного сигнала цифровой аппаратуры.
Подробную информацию о применимых типах HDMI сигнала Вы можете найти на стр. 26.
(*1) : На совместимых с форматом HDMI устройствах имеется логотип
стандарта HDMI.
(*2) : Узнайте в Вашем местном магазине, торгующем цифровой
аппаратурой в розницу.
Подключение ПК
ПК может быть подключен к данному телевизору таким образом, что будет отображаться экран ПК, а звук
будет выводиться из телевизора.
Адаптер ПК не нужен для DOS/V-совместимого D-sub 15-штырькового коннектора.
Примечание
Подключение некоторых моделей ПК к данному телевизору невозможно.
При использовании ПК установите дисплей качества цвета ПК в самое высокое положение.
Подробнее о применяемых сигналах ПК смотрите ниже.
Максимальное разрешение экрана.
Соотношение
4:3
1 024 x 768 Пиксели
16:9
1 366 x 768 Пиксели
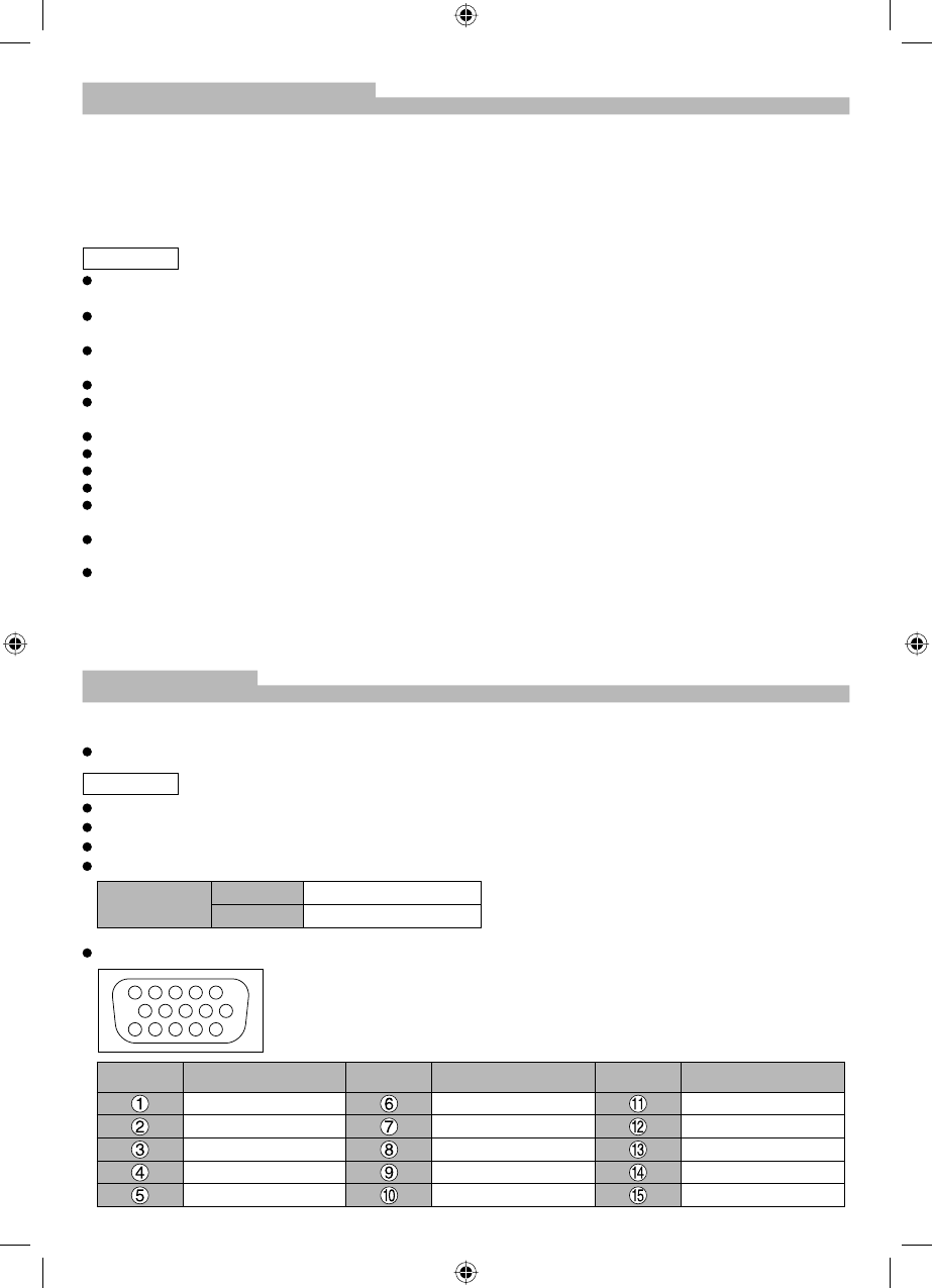
Сигнал 15-штырькового D-sub коннектора
1
6
7
8
3
9
4
5
10
15 14 13 12 1 1
2
Контакт №
Название сигнала
Контакт №
Название сигнала
Контакт №
Название сигнала
R
GND (заземление)
NC (не подключен)
G
GND (заземление)
NC (не подключен)
B
GND (заземление)
HD
NC (не подключен)
NC (не подключен)
VD
GND (заземление)
GND (заземление)
NC (не подключен)
TX-R32LX80K&KS_0052_RU.indd 25
TX-R32LX80K&KS_0052_RU.indd 25
4/10/08 3:42:18 PM
4/10/08 3:42:18 PM
Характеристики
Остались вопросы?Не нашли свой ответ в руководстве или возникли другие проблемы? Задайте свой вопрос в форме ниже с подробным описанием вашей ситуации, чтобы другие люди и специалисты смогли дать на него ответ. Если вы знаете как решить проблему другого человека, пожалуйста, подскажите ему :)