Телевизоры Mystery MTV-5531LTA2 - инструкция пользователя по применению, эксплуатации и установке на русском языке. Мы надеемся, она поможет вам решить возникшие у вас вопросы при эксплуатации техники.
Если остались вопросы, задайте их в комментариях после инструкции.
"Загружаем инструкцию", означает, что нужно подождать пока файл загрузится и можно будет его читать онлайн. Некоторые инструкции очень большие и время их появления зависит от вашей скорости интернета.

-11-
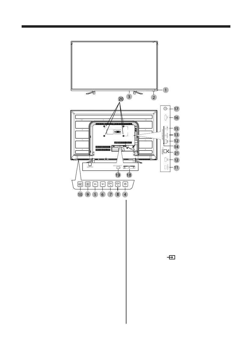
РУКОВОДСТВО ПО ЭКСПЛУАТАЦИИ
1.
ИК-датчик
системы дистанционного
управления.
2.
Индикатор
рабочего режима/ режима
ожидания.
3.
Выключатель питания:
Отключение
основного питания телевизора.
4.
Клавиша
o
:
Рабочий режим/ режим
ожидания.
5.
Клавиша VOL-:
Уменьшение уровня
громкости. В режиме меню используй-
те эту кнопку для перехода к предыду-
щему пункту меню или для уменьшения
параметра настройки.
6.
Клавиша VOL+:
Увеличение уровня
громкости. В режиме меню используй-
те эту кнопку для перехода к следую-
щему пункту меню или для увеличения
параметра настройки.
7.
Клавиша СН-:
Переход на предыду-
щий канал. В режиме меню используй-
те эту кнопку как стрелку вниз ПДУ.
8.
Клавиша СН+
: Переход на следующий
канал. В режиме меню используйте эту
кнопку как стрелку вверх ПДУ.
9.
Клавиша MENU
: Выбор основного
меню.
10.
Клавиша
:
Выбор источника сиг-
нала.
11.
Вход USB (ТВ режим):
Подключение
внешних USB устройств, например для
обработки файлов форматов MP3 и
JPEG, а также для использования функ-
ции Time Shift (сдвига по времени) и
функции записи (подробное описание
данных функций см. в соответствующем
разделе руководства по эксплуатации).
12.
HDMI вход:
Мультимедийный интер-
ПАНЕЛЬ УПРАВЛЕНИЯ И РАЗЪЕМЫ ТЕЛЕВИЗОРА
Содержание
- 3 ВВЕДЕНИЕ; - Широкий диапазон поддерживаемых разрешений; Режим ANDROID TV
- 4 УВАЖАЕМЫЙ ПОКУПАТЕЛЬ!
- 5 Рекомендации покупателю; - При покупке телевизора требуйте про-; Комплект поставки; Установка на подставку
- 6 ТЕХНИЧЕСКИЕ ХАРАКТЕРИСТИКИ
- 7 Примечание
- 9 ПОДГОТОВКА К РАБОТЕ; Установка телевизора на подставку
- 12 ПУЛЬТ ДИСТАНЦИОННОГО УПРАВЛЕНИЯ
- 13 EDFG
- 14 Подготовка пульта к работе; Предостережения относительно батарей
- 15 ОСНОВНЫЕ ОПЕРАЦИИ; Подсоединение антенны к телевизору; ОК
- 16 ED
- 17 Обращаем Ваше внимание
- 18 Начальная настройка; EXIT
- 19 Автоматическая настройка; Цифровое и Аналоговое ТВ
- 21 FG
- 24 Режим изображения
- 25 Температура цвета
- 26 Источник сигнала HDMI, AV; Режим звука
- 27 Автогромкость; Меню Время; Час; Время выключения
- 28 Время включения; Автовыключение
- 31 Запись на USB-носитель; REC; Запись на USB-носитель по таймеру; EPG; КРАСНАЯ
- 33 Основные характеристики DMP
- 34 Просмотр файлов в режиме медиаплеера
- 35 Управление работой медиаплеера
- 37 Иногда скорость чтения файлов с USB-
- 38 РАБОТА С ТЕЛЕТЕКСТОМ; КНОПКА; TEXT; Эта кнопка используется для фиксирования страницы.
- 39 Режимы работы с внешними источниками
- 40 В связи с постоянным совершенство-; Установка модуля CI в слот CI
- 41 SMART TV; на ПДУ; Первоначальная настройка
- 42 Меню; Онлайн видео
- 43 Музыка
- 44 Технические характеристики; Основные характери
- 45 ВОЗМОЖНЫЕ НЕИСПРАВНОСТИ И МЕТОДЫ ИХ УСТРАНЕНИЯ
- 46 ТЕХНИЧЕСКАЯ ПОДДЕРЖКА; Единая справочная служба: