Телевизоры Mystery MTV-3029LT2 - инструкция пользователя по применению, эксплуатации и установке на русском языке. Мы надеемся, она поможет вам решить возникшие у вас вопросы при эксплуатации техники.
Если остались вопросы, задайте их в комментариях после инструкции.
"Загружаем инструкцию", означает, что нужно подождать пока файл загрузится и можно будет его читать онлайн. Некоторые инструкции очень большие и время их появления зависит от вашей скорости интернета.

-11-
РУКОВОДСТВО ПО ЭКСПЛУАТАЦИИ
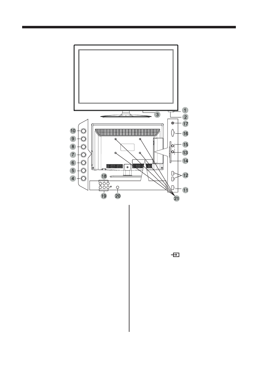
1.
ИК-датчик
системы дистанционного
управления.
2.
Индикатор
рабочего режима/ режима
ожидания.
3.
Выключатель питания:
Отключение
основного питания телевизора.
4.
Клавиша
o
:
Рабочий режим/ режим
ожидания.
5.
Клавиша СН+
: Переход на следующий
канал. В режиме меню используйте эту 
кнопку как стрелку вверх ПДУ.
6.
Клавиша СН-:
Переход на предыду-
щий канал. В режиме меню используй-
те эту кнопку как стрелку вниз ПДУ.
7.
Клавиша VOL+:
Увеличение уровня
громкости. В режиме меню используй-
те  эту  кнопку  для  перехода  к  следую-
щему  пункту  меню  или  для  увеличения 
параметра настройки.
8.
Клавиша VOL-:
Уменьшение уровня
громкости. В режиме меню используй-
те  эту  кнопку  для  перехода  к  предыду-
щему пункту меню или для уменьшения 
параметра настройки.
9.
Клавиша MENU
: Выбор основного
меню.
10.
Клавиша
:
Выбор источника сиг-
нала.
11.
Вход USB:
Подключение внешних USB
устройств,  например  для  обработки 
файлов  форматов  MP3  и  JPEG,  а  также 
для  использования  функции  Time  Shift 
(сдвига  по  времени)  и  функции  записи 
(подробное  описание  данных  функций 
см.  в  соответствующем  разделе  руко-
водства по эксплуатации).
12.
HDMI вход:
Мультимедийный интер-
фейс высокой четкости.
ПАНЕЛЬ УПРАВЛЕНИЯ И РАЗЪЕМЫ ТЕЛЕВИЗОРА
Содержание
- 3 ВВЕДЕНИЕ; - Широкий диапазон поддерживаемых разрешений
- 4 УВАЖАЕМЫЙ ПОКУПАТЕЛЬ!
- 5 Рекомендации покупателю; - При покупке телевизора требуйте про-; Комплект поставки; Установка на подставку
- 6 ТЕХНИЧЕСКИЕ ХАРАКТЕРИСТИКИ
- 7 Примечание
- 9 ПОДГОТОВКА К РАБОТЕ; Монтаж подставки ЖК-телевизора
- 12 ПУЛЬТ ДИСТАНЦИОННОГО УПРАВЛЕНИЯ
- 13 EDFG
- 14 Подготовка пульта к работе; Предостережения относительно батарей
- 15 ОСНОВНЫЕ ОПЕРАЦИИ; Подсоединение антенны к телевизору; ОК
- 16 ED
- 17 Обращаем Ваше внимание
- 18 Начальная настройка; EXIT; Цифровое и Аналоговое ТВ
- 20 FG
- 21 РЕДАКТОР ПРОГРАММ
- 24 Режим изображения
- 25 Экран; Источник сигнала HDMI, AV
- 27 Время выключения
- 28 Автовыключение
- 29 кируемой программы появится символ .; ЗЕЛЕНАЯ; или цифровыми кнопками; ками
- 31 Запись на USB-носитель по таймеру; EPG; КРАСНАЯ
- 32 Основные характеристики DMP
- 33 Просмотр файлов в режиме медиаплеера
- 34 Управление работой медиаплеера
- 36 РАБОТА С ТЕЛЕТЕКСТОМ; КНОПКА; TEXT; Эта кнопка используется для фиксирования страницы.
- 37 Режимы работы с внешними источниками
- 38 В связи с постоянным совершенство-; Установка модуля CI в слот CI
- 39 ВОЗМОЖНЫЕ НЕИСПРАВНОСТИ И МЕТОДЫ ИХ УСТРАНЕНИЯ
- 40 ТЕХНИЧЕСКАЯ ПОДДЕРЖКА; Единая справочная служба:
 
  
  
  
  
  
  
  
  
  
  
  
  
  
  
  
  
  
  
  
  
  
  
  
  
  
  
  
  
  
  
  
  
  
  
  
  
  
  
  
 











