Телевизоры Mystery MTV-2414LW - инструкция пользователя по применению, эксплуатации и установке на русском языке. Мы надеемся, она поможет вам решить возникшие у вас вопросы при эксплуатации техники.
Если остались вопросы, задайте их в комментариях после инструкции.
"Загружаем инструкцию", означает, что нужно подождать пока файл загрузится и можно будет его читать онлайн. Некоторые инструкции очень большие и время их появления зависит от вашей скорости интернета.

-11-
руководство по эксплуатации
УСТАНОВКА
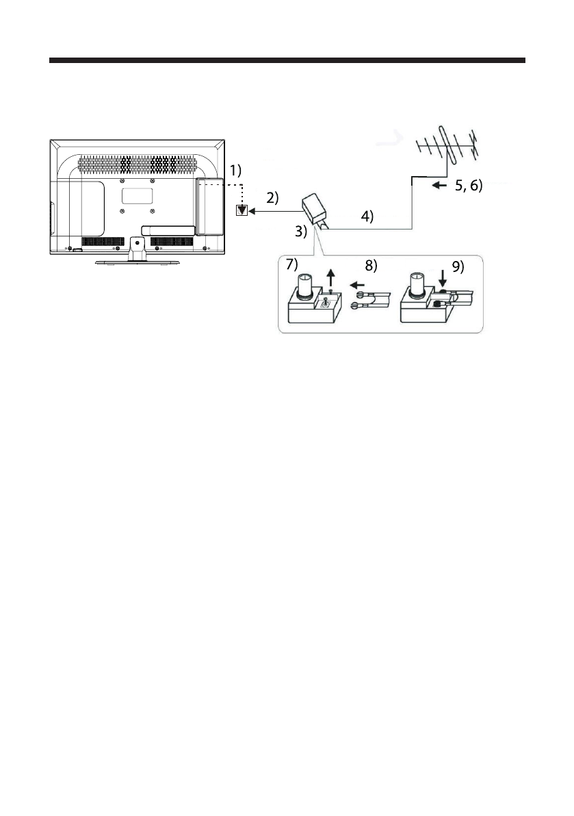
Подсоединение антенны
1. Разъем
2. Антенна75Ом
3. Переходник(неприлагается)
4. Симметричнаялиния(300Ом)
5. Извлекитеболты
6. Подключитесимметричнуюлинию
7. Установитеболтыобратно
8. Внутренняяантенна(кабельноетелевидение)
9. Внешняяантенна
Примечание:
Подсоединениеантенны:IEC(гнездо)
Волновоесопротивление:75Ом(коаксиальный