Телевизоры LG OLED77G1RLA - инструкция пользователя по применению, эксплуатации и установке на русском языке. Мы надеемся, она поможет вам решить возникшие у вас вопросы при эксплуатации техники.
Если остались вопросы, задайте их в комментариях после инструкции.
"Загружаем инструкцию", означает, что нужно подождать пока файл загрузится и можно будет его читать онлайн. Некоторые инструкции очень большие и время их появления зависит от вашей скорости интернета.

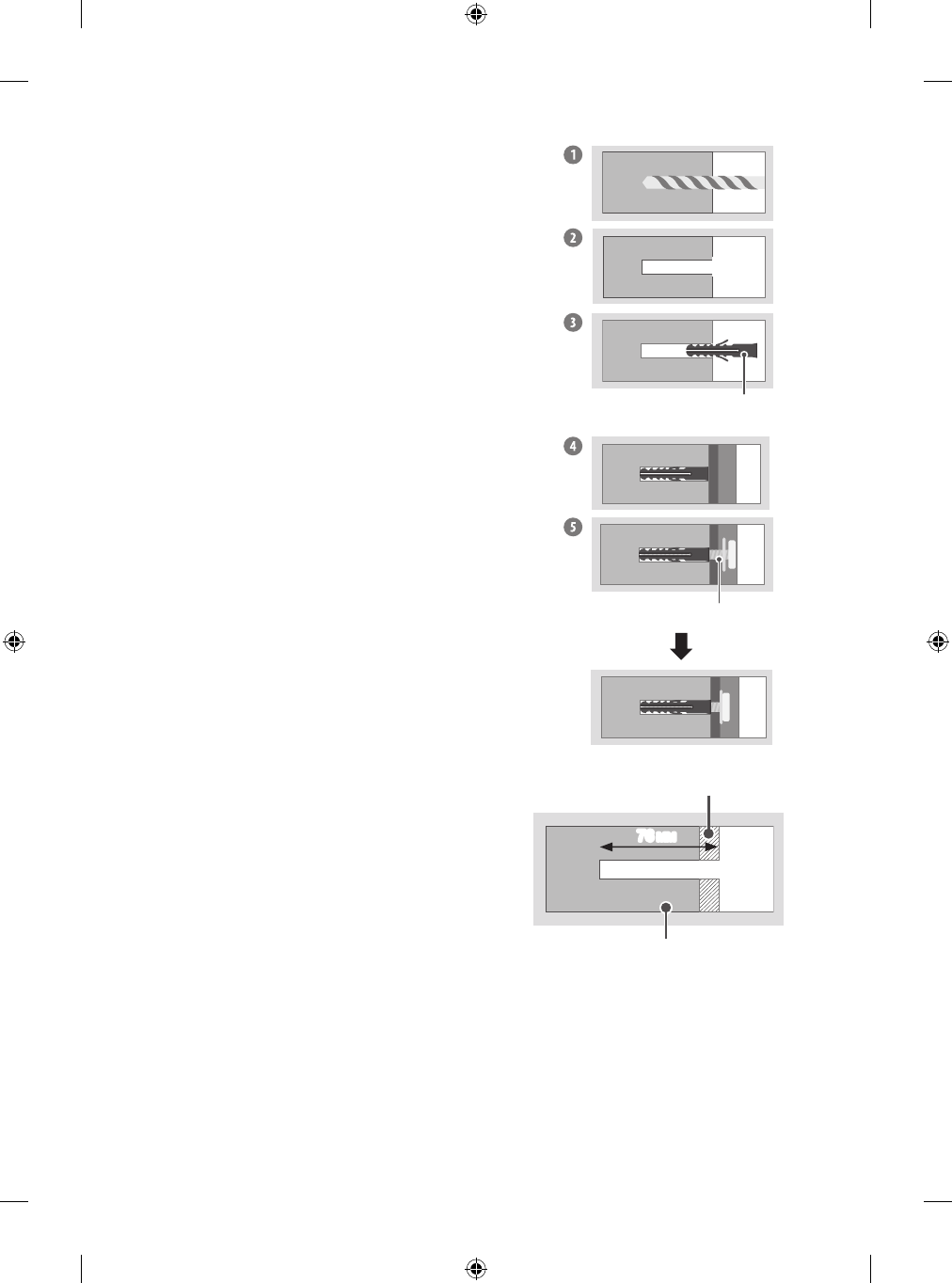
Для монтажа на бетонной стене
1
Просверлите отверстия под дюбели глубиной 80–100
мм с помощью
сверла Ø
8
мм.
2
Очистите просверленные отверстия.
3
Вставьте в отверстия дюбели из комплекта поставки для фиксации
настенного кронштейна. (Для установки дюбелей используйте молоток.)
Анкерное крепление для
настенного монтажа
4
Расположите настенный кронштейн так, чтобы его отверстия совпадали с
отверстиями в стене, и плотно прижмите.
5
Вкрутите в отверстия винты для крепления настенного кронштейна.
Затяните винты с усилием 45–60
кгс/см.
Винт для настенного монтажа
Для монтажа на деревянной балке
Используйте сверло Ø
4
мм для сверления отверстий глубиной
76
мм в деревянной балке. (Очистите просверленное отверстие.)
Закрепите винт для настенного монтажа непосредственно на
деревянной балке без применения анкерного крепления для
настенного монтажа.
Гипсокартон
Деревянная
балка
76
мм
23













