Телевизоры Hyundai H-LED65EU8000 - инструкция пользователя по применению, эксплуатации и установке на русском языке. Мы надеемся, она поможет вам решить возникшие у вас вопросы при эксплуатации техники.
Если остались вопросы, задайте их в комментариях после инструкции.
"Загружаем инструкцию", означает, что нужно подождать пока файл загрузится и можно будет его читать онлайн. Некоторые инструкции очень большие и время их появления зависит от вашей скорости интернета.

Подключение и управление
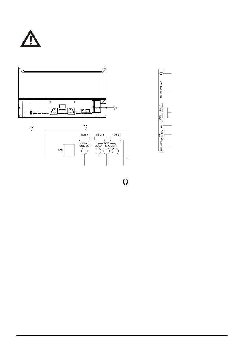
ВНИМАНИЕ: Перед подключением или отключением любых кабелей
необходимо отключать от питания телевизор и подключаемое устройство. В
противном случае возможно повреждение устройств.
Задняя часть устройства
1.
Разъем для подключения наушников
2.
CI разъем – для подключения CI карты
3.
USB – разъем для подключения USB устройств
4.
ANT1 – разъем для подключения антенны
5.
ANT2 – разъем для подключения спутниковой антенны
6.
Разъемы HDMI (HDMI1 поддерживает функцию HDCP 2.2, CEC и ARC – Audio Return
Channel)
7.
LAN (Local Area Network) – разъем для подключения кабеля LAN
8.
Цифровой аудио выход
9.
AV IN – разъем для подключения аудио/видео сигнала
1
2
3
4
5
6
7 8 9 6
7













