Телевизоры Haier LET42H320 - инструкция пользователя по применению, эксплуатации и установке на русском языке. Мы надеемся, она поможет вам решить возникшие у вас вопросы при эксплуатации техники.
Если остались вопросы, задайте их в комментариях после инструкции.
"Загружаем инструкцию", означает, что нужно подождать пока файл загрузится и можно будет его читать онлайн. Некоторые инструкции очень большие и время их появления зависит от вашей скорости интернета.

11
Только для моделей 26”/32” LED LCD:
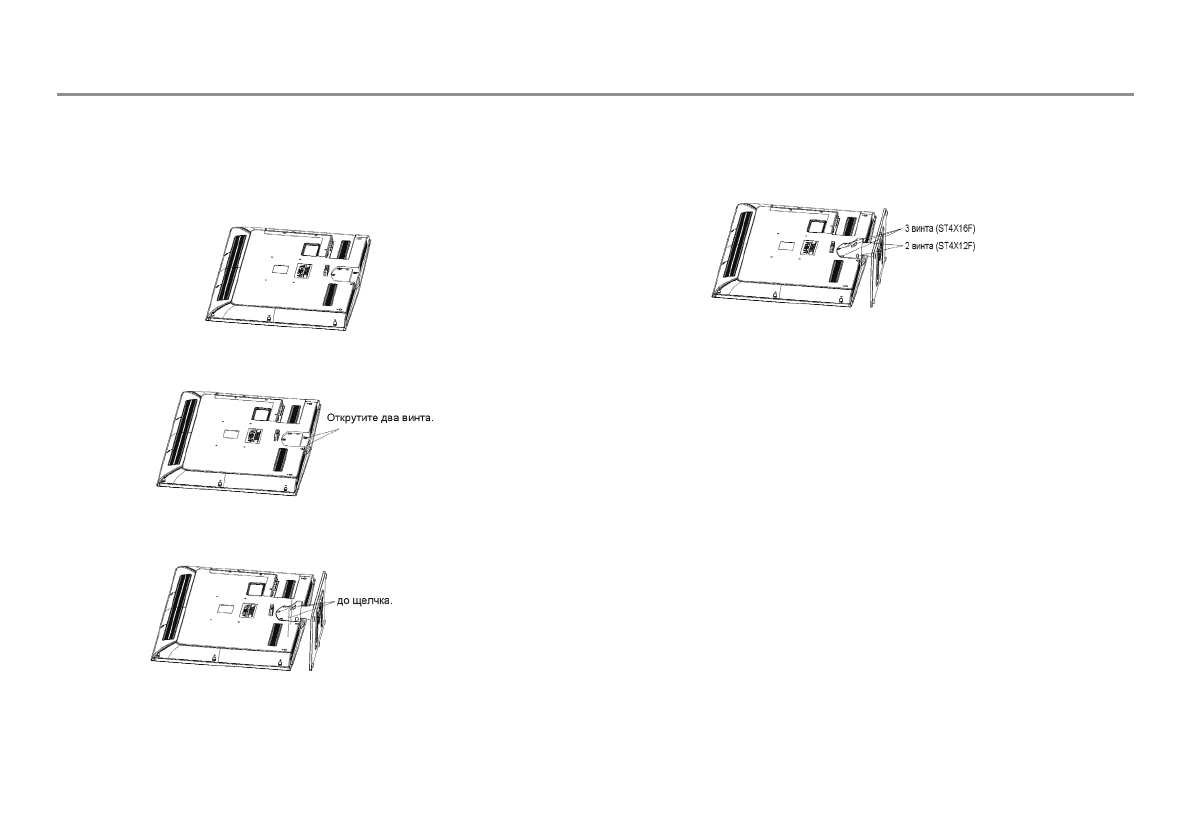
1. Осторожно положите телевизор на стол экраном
вниз. Во избежание повреждения экрана на стол
рекомендуется постелить упаковочный материал.
2. Открутите два винта крепления подставки.
3. Вставьте подставку в телевизор.
4. Закрепите подставку с помощью винтов.
Монтаж подставки ЖК-т елевизора
Содержание
- 3 Содержание
- 5 Инструкции по технике безопасности; Для вашей безопасности!
- 6 Примечание
- 10 Меры предосторожности и напоминания
- 11 Замечания по использованию пульта дистанционного управления:
- 12 Упаковка и утилизация изделия
- 13 Монтаж подставки ЖК-т елевизора
- 14 Монтаж телевизора на стену; Только для модели 42” LED LCD:
- 15 Общее знакомство с устройством ЖК-т елевизора; Элементы управления на передней
- 16 Разъемы на задней панели телевизора
- 17 Установка элементов питания; Пульт дистанционного управления
- 18 Подключение внешнего оборудования; Подключение телевизора
- 19 Автопоиск (эфирное или кабельное
- 20 Поиск спутника
- 24 вручную
- 25 Ручной поиск аналоговых каналов; Пропустить
- 26 Сортировка; Изменение настройки
- 28 Общий интерфейс; Отключите телевизор перед установкой какого-
- 29 Функция программного обновления
- 33 Настройка функций
- 35 TTX; Настройка
- 37 Отображение меню ярлыков
- 39 Использование функций; Функции телетекста
- 40 Удержание
- 41 Режим USB
- 43 Воспроизведение музыки
- 44 Воспроизведение видео; Пауза; Использование внешнего USB-диска для
- 45 Показать инфо; Воспроизведение текста; Шрифт
- 49 Спецификация (технические характеристики)
- 51 Гарантийное и послегарантийное сервисное обслуживание
- 52 Упаковочный лист; Поставляемый комплект












