Телевизоры GoldStar LT-26A340R - инструкция пользователя по применению, эксплуатации и установке на русском языке. Мы надеемся, она поможет вам решить возникшие у вас вопросы при эксплуатации техники.
Если остались вопросы, задайте их в комментариях после инструкции.
"Загружаем инструкцию", означает, что нужно подождать пока файл загрузится и можно будет его читать онлайн. Некоторые инструкции очень большие и время их появления зависит от вашей скорости интернета.

Руководство по эксплуатации
- используйте винты, подходящие для материала,
из которого сделана стена;
- строго соблюдайте инструкции, приведенные в
разделе «Меры безопасности и меры предосто-
рожности» настоящего руководства .
примечание:
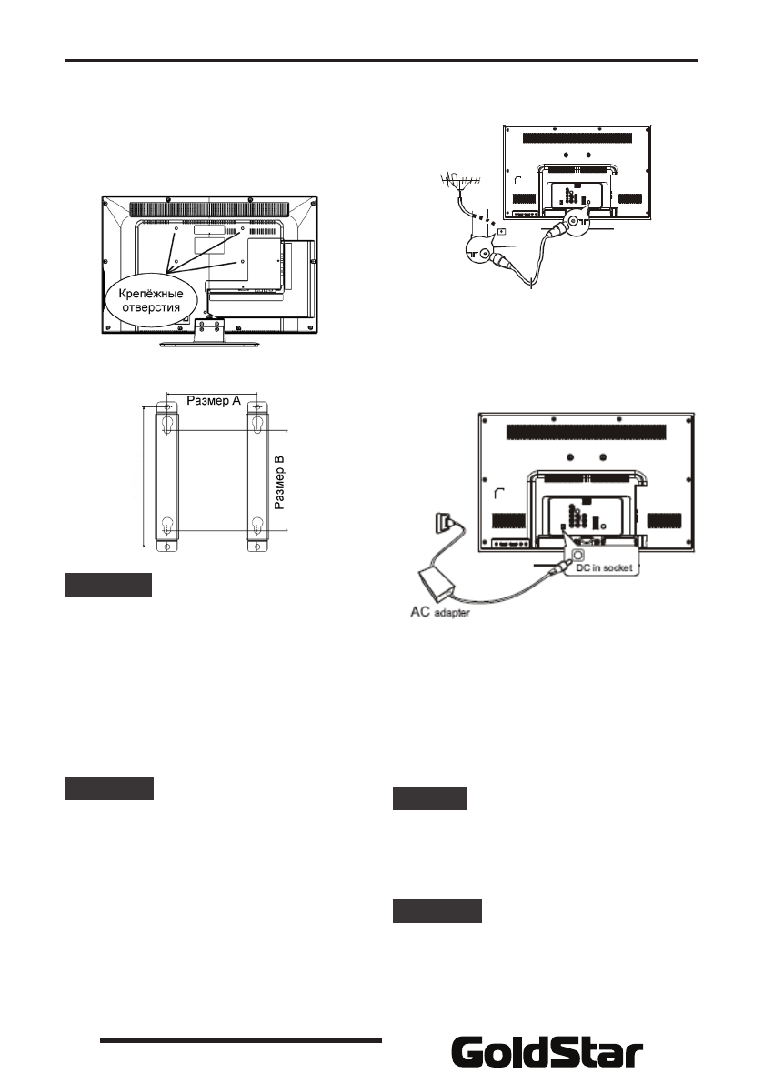
Для правильного выбора подходящего кронштейна
крепления Вам необходимо предварительно выяс-
нить (измерить) размеры А и В вашей модели те-
левизора. Для разных моделей телевизора они мо-
гут отличаться, но находятся в пределах
стандартного ряда величин: 75мм, 100мм, 150мм,
200мм и т.д.
ВЫПОЛНЕНИЕ ПРИСОЕДИНЕНИЙ
примечание:
Перед тем, как подключить к телевизору какое-
либо устройство, либо отключить устройство от
телевизора, отключите питание телевизора и
устройства, выполните необходимые соединения,
затем включите питание телевизора и подклю-
ченного устройства. Когда вы отключаете или под-
ключаете кабель питания или сигнальный кабель,
то держите его за вилку (изолированную часть) и
не тяните за кабель.
1. подключение телевизионной антенны
Подключите антенну или антенный кабель к соот-
ветствующему разъему на корпусе телевизора . Со-
противление антенного гнезда телевизора 75 Ом .
2. подключение питания
DC in socket – Разъем для подключения кабеля пита-
ния (постоянный ток)
AC adapter – Адаптер питания
Подключите кабель питания к соответствующему
разъему на корпусе телевизора (если кабель уже
подсоединен к телевизору, пропустите этот шаг) .
Подключите вилку кабеля питания к розетке пере-
менного тока .
внимание:
Сначала следует подключить кабель питания к
телевизору и только потом к розетке. Не подклю-
чайте кабель питания к розетке, если он еще не
подсоединен к телевизору, чтобы не допустить по-
ражения электрическим током.
примечания:
1. Телевизор должен быть подключен к сети пере-
менного тока с напряжением 100-240 В и частотой
50/60 Гц. Ни в коем случае не подсоединяйте теле-
визор к источнику питания с другими характери-
стиками.
10
Содержание
- 3 МЕРЫ БЕЗОПАСНОСТИ
- 5 Все рисунки в данном руководстве приведены в каче-; КОМПЛЕКТАЦИЯ; Для безопасной и удобной транспортировки теле-
- 6 ОСНОВНЫЕ ЭЛЕМЕНТЫ; В зависимости от модели количество разъемов USB
- 7 ПУЛЬТ
- 8 DEFG
- 9 ПОДГОТОВКА; Если телевизор поставляется уже в собранном со-; Для монтажа телевизора на стену необходимо два
- 10 ВЫПОЛНЕНИЕ ПРИСОЕДИНЕНИЙ; подключение телевизионной антенны
- 12 ОСНОВНЫЕ ОПЕРАЦИИ; Не рекомендуется надолго оставлять телевизор в; НАСТРОЙКА ТЕЛЕВИЗОРА
- 13 Если пульт ДУ не работает, для выполнения на-
- 14 DE
- 15 FG
- 16 Если вы забудете установленный пароль, восполь-
- 17 ВОСПРОИЗВЕДЕНИЕ фАЙЛОВ; Movie Show
- 18 Photo Show; Music Show
- 19 СПЕЦИАЛЬНЫЕ фУНКЦИИ; E Care; Рекомендуется проводить демонстрацию функции; ЧИСТКА И УХОД; В целях вашей личной безопасности обязательно
- 20 ПОИСК И УСТРАНЕНИЕ ПРОСТЫХ НЕИСПРАВНОСТЕЙ; признаки
- 22 ТИПИЧНЫЕ ИСКАЖЕНИЯ ИЗОБРА-; Описанные дефекты изображения могут быть
- 23 Жидкокристаллический телевизор; БЕЗОПАСНАЯ УТИЛИЗАЦИЯ
- 24 ТЕХНИЧЕСКИЕ
- 26 LED; ИНфОРМАЦИЯ О
- 27 список сЕРвисНЫХ цЕНтРов