Телевизоры BBK 43LEM-1089/FT2C - инструкция пользователя по применению, эксплуатации и установке на русском языке. Мы надеемся, она поможет вам решить возникшие у вас вопросы при эксплуатации техники.
Если остались вопросы, задайте их в комментариях после инструкции.
"Загружаем инструкцию", означает, что нужно подождать пока файл загрузится и можно будет его читать онлайн. Некоторые инструкции очень большие и время их появления зависит от вашей скорости интернета.

4
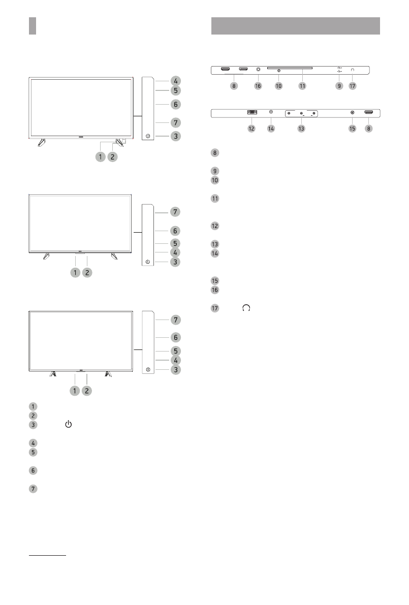
ОБЩИЙ ВИД ПАНЕЛЕЙ УПРАВЛЕНИЯ
ОБЩИЙ ВИД ПАНЕЛЕЙ УПРАВЛЕНИЯ
*
Для моделей 32LEM-1089/T2C и 32LEM-1090/T2C
Для модели 39LEM-1089/T2C
VOL+
VOL-
CH+
CH-
MENU
INPUT
Для модели 43LEM-1089/FT2C
VOL+
VOL-
CH+
CH-
MENU
INPUT
Датчик инфракрасного излучения пульта ДУ
Индикатор питания
Клавиша
Рабочий режим/режим ожидания.
Клавиша выбора источника сигнала
Клавиша вызова основного
меню телевизора
Клавиши CH+/-
Переключение каналов.
Клавиши VOL+/-
Увеличение/уменьшение уровня громкости.
Для всех моделей**
ANT
HDMI1
PC AUDIO IN
PC
HDMI2
HDMI3
CI
DIGITAL AUDIO
OUT
YPbPr
EARPHONE
USB 1
USB 2
ANT
HDMI1
PC AUDIO IN
PC
VIDEO
AUDIO
R
L
AV INPUT
Разъемы HDMI
Интерфейсы для передачи сигнала высокой четкости.
USB2.0-порт
Разъем YPrPb
Компонентный видеовход.
CI-слот
Предназначен для подключения модуля условного
доступа.
Разъем PC для подключения к
компьютеру
Аудиовидеовход AV
Разъем PC AUDIO IN
Предназначен для подключения внешнего источника
звука (со звуковой карты компьютера/ноутбука).
Разъем для подключения ТV-антенны
DIGITAL AUDIO OUT
Разъем коаксиального цифрового аудиовыхода.
Разъем
Разъем для подключения наушников.
VOL+
VOL-
CH+
CH-
MENU
INPUT
* На рисунках схематично изображены панели телевизоров соответствующих серий.
** Наличие или отсутствие разъемов зависит от комплектации ТВ.
Характеристики
Остались вопросы?Не нашли свой ответ в руководстве или возникли другие проблемы? Задайте свой вопрос в форме ниже с подробным описанием вашей ситуации, чтобы другие люди и специалисты смогли дать на него ответ. Если вы знаете как решить проблему другого человека, пожалуйста, подскажите ему :)













