Телевизоры BBK 40LEX-5009/FT2C - инструкция пользователя по применению, эксплуатации и установке на русском языке. Мы надеемся, она поможет вам решить возникшие у вас вопросы при эксплуатации техники.
Если остались вопросы, задайте их в комментариях после инструкции.
"Загружаем инструкцию", означает, что нужно подождать пока файл загрузится и можно будет его читать онлайн. Некоторые инструкции очень большие и время их появления зависит от вашей скорости интернета.

ОБЗОР УСТРОЙСТВА
5
КОМПЛЕКТАЦИЯ
ЖК-телевизор ...................................................................................1 шт.
Пульт дистанционного управления ..........................................1 шт.
Батарейка ААА ..................................................................................2 шт.
Подставка для телевизора...........................................................1 шт.
Комплект крепежных элементов ...............................................1 шт.
Переходник YPbPr/AV ....................................................................1 шт.
Руководство по эксплуатации с гарантийным талоном ... 1 шт.
УСТАНОВКА
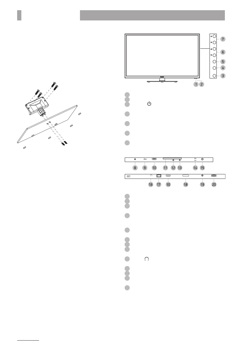
ОБЩИй ВИД ПАНЕЛЕй УПРАВЛЕНИЯ*
MENU
SOURCE
CH
VO
LP
OWER
1
Датчик инфракрасного излучения пульта ДУ
2
Индикатор питания
3
Клавиша
Рабочий режим/режим ожидания.
4
Клавиша SOURCE
Выбор источника сигнала.
5
Клавиша MENU
Вызов меню настройки телевизора.
6
Клавиши CH+/-
Переключение каналов.
7
Клавиши VOL+/-
Увеличение/уменьшение уровня громкости.
CI
YPbPr
HDMI2
DIGITAL AUDIO
OUT
AV
ANT
USB 1
USB 2
USB 3
EARPHONE
HDMI1
SCART
PC AUDIO IN
PC
LAN
8
Разъем для подключения ТV-антенны
9
USB3.0-порт
10
Разъемы HDMI
Интерфейсы для передачи сигнала высокой четкости.
11
CI-слот
Предназначен для подключения модуля условного
доступа.
12
Разъем YPrPb
Компонентный видеовход.
13
Аудиовидеовход AV
14
USB2.0-порт
15
DIGITAL AUDIO OUT
Разъем коаксиального цифрового аудиовыхода.
16
Разъем
Разъем для подключения наушников.
17
Разъем LAN
18
Разъем SCART
19
Разъем PC AUDIO IN
Предназначен для подключения внешнего источника.
20
Разъем PC для подключения к компьютеру
* На рисунках схематично изображены передние панели телевизора. Иллюстрация может отличаться от реального внешнего вида устройства.
Содержание
- 3 СОДЕРЖАНИЕ; EPG
- 4 ВВЕДЕНИЕ; ИНСТРУКЦИЯ ПО МЕРАМ БЕЗОПАСНОСТИ; Символ опасности
- 5 СВЕДЕНИЯ ОБ АВТОРСКИХ ПРАВАХ
- 6 ОСОБЕННОСТИ; Оснащение
- 7 ОБЗОР УСТРОЙСТВА; КОМПЛЕКТАЦИЯ
- 8 УСТАНОВКА БАТАРЕЕК В ПУЛЬТ; Не более 5 м
- 9 ПУЛЬТ ДИСТАНЦИОННОГО УПРАВЛЕНИЯ
- 10 ПОДКЛЮЧЕНИЕ; • Перед подключением убедитесь, что все компоненты; Метод А; Метод С; • Перед подключением убедитесь, что все устройства; Coax In; • Перед подключением убедитесь, что все устройства
- 11 ПОДКЛюЧЕНИЕ К СЕТИ ИНТЕРНЕТ; ПРИМЕЧАНИЕ; • Для получения доступа в Интернет заключите договор; Подключение с помощью кабеля.; Подключение по беспроводной технологии.
- 12 ОСНОВНЫЕ ОПЕРАЦИИ; ВКЛюЧЕНИЕ; Добро пожаловать; Для перехода к настройке нажмите клавишу Enter.; Выберите язык и нажмите Enter.; Выберите стартовую страницу и нажмите Enter.; Выберите «Пропуск сетевых настроек» → Enter.
- 13 AV IN
- 14 СПИСОК КАНАЛОВ; Список каналов; ТЕЛЕТЕКСТ; Нажмите один раз на клавишу REVEAL, чтобы увидеть
- 15 ФУНКЦИОНАЛЬНЫЕ ВОЗМОЖНОСТИ; ИСПОЛЬЗОВАНИЕ МЕНю; НАСТРОйКА ИЗОБРАжЕНИЯ; НАСТРОйКА ЗВУКА; НАСТРОйКА ВРЕМЕНИ
- 16 НАСТРОйКИ; Время вывода меню; фУНКЦИЯ PVR; ПРИМЕЧАНИЯ; ПОДКЛюЧЕНИЕ КАРТЫ УСЛОВНОГО
- 17 ПРИЛОжЕНИЕ «МЕДИАЦЕНТР»; АППАРАТНЫЕ ВОЗМОжНОСТИ ТВ ПРИ
- 18 ПРОЧЕЕ; НАВИГАЦИЯ; Язык и методы ввода.
- 19 HDMI; КРИТЕРИИ ОПРЕДЕЛЕНИЯ
- 20 ПОДДЕРжИВАЕМЫЕ ТИПЫ СИГНАЛА; ПОИСК НЕИСПРАВНОСТЕй; Признак неисправности; ПОЛЕЗНЫЕ ПРИМЕЧАНИЯ
- 21 ТЕХНИЧЕСКИЕ ХАРАКТЕРИСТИКИ
- 23 СЕРВИСНОЕ ОБСЛУжИВАНИЕ; Условия гарантийных обязательств
- 24 Использование изделия по истечении срока службы
- 26 ГАРАНТИЯ; Заполняется фирмой-продавцом
- 28 Place for sticker