Телевизоры BBK 40LEM-1058/FTS2C - инструкция пользователя по применению, эксплуатации и установке на русском языке. Мы надеемся, она поможет вам решить возникшие у вас вопросы при эксплуатации техники.
Если остались вопросы, задайте их в комментариях после инструкции.
"Загружаем инструкцию", означает, что нужно подождать пока файл загрузится и можно будет его читать онлайн. Некоторые инструкции очень большие и время их появления зависит от вашей скорости интернета.

4
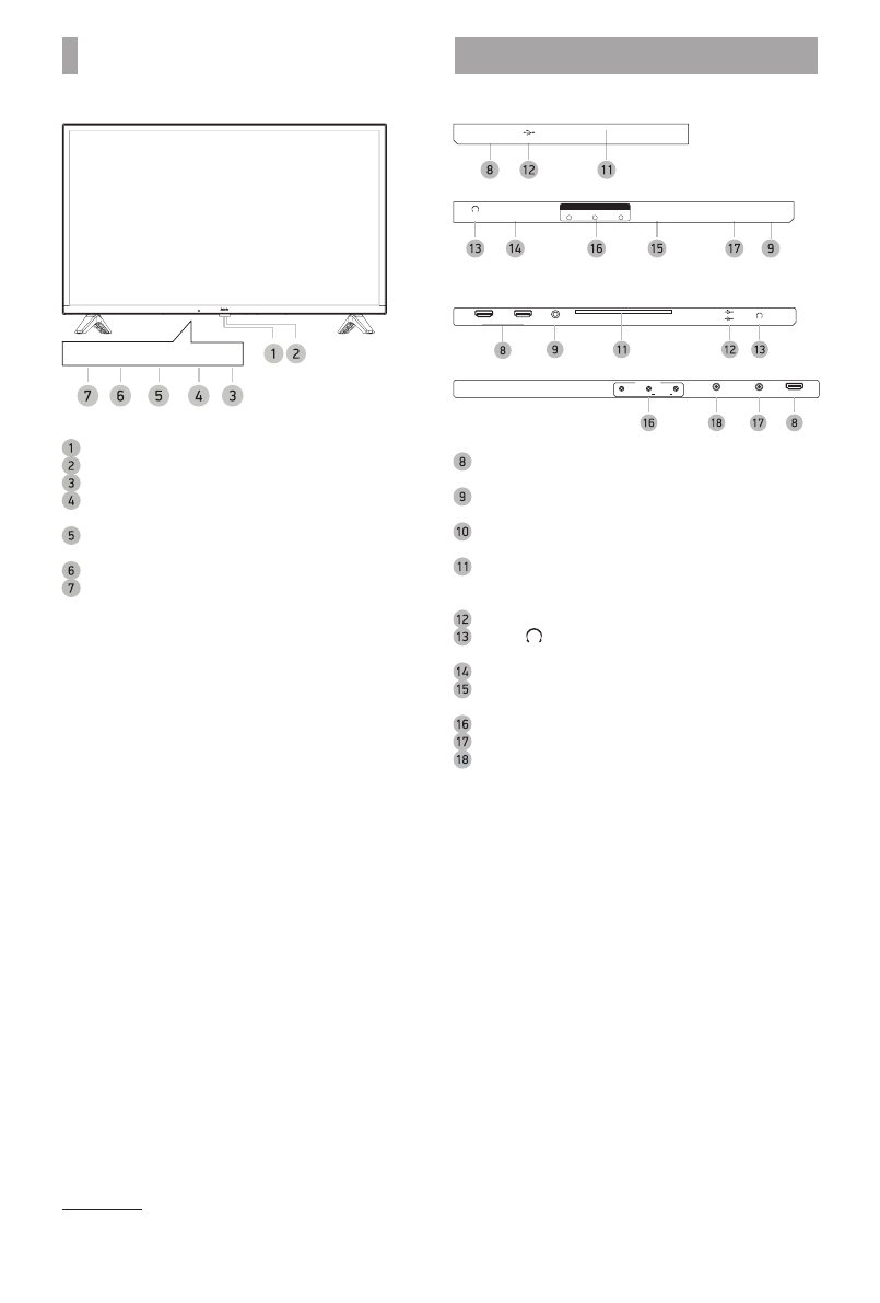
ОБЩИЙ ВИД ПАНЕЛЕЙ УПРАВЛЕНИЯ
ОБЩИЙ ВИД ПАНЕЛЕЙ УПРАВЛЕНИЯ*
VOL-
VOL+
CH-
CH+
MENU
SOURCE
STAND BY
Датчик инфракрасного излучения пульта ДУ
Индикатор питания
Клавиша вызова основного меню телевизора
Клавиши CH+/-
Переключение каналов.
Клавиши VOL+/-
Увеличение/уменьшение уровня громкости.
Клавиша выбора источника сигнала
Клавиша STAND BY
Рабочий режим/режим ожидания.
Для модели 24LEM-1058/T2C**
CI
HDMI
USB
PC
PC AUDIO IN
ANT
OPTICAL
EARPHONE
VIDEO
L
R
INPUT
Для моделей, кроме 24LEM-1058/T2C**
ANT
HDMI1
ANT
HDMI1
SAT
VIDEO
AUDIO
R
L
AV INPUT
HDMI2
HDMI3
CI
OPTICAL
EARPHONE
USB1
USB2
Разъемы HDMI
Интерфейсы для передачи сигнала высокой четкости.
OPTICAL
Разъем оптического цифрового аудиовыхода.
Разъем YPrPb
Компонентный видеовход.
CI-слот
Предназначен для подключения модуля условного
доступа.
USB2.0-порт
Разъем
Разъем для подключения наушников.
Разъем PC для подключения к компьютеру
Разъем PC AUDIO IN
Предназначен для подключения внешнего источника.
Аудиовидеовход AV
Разъем для подключения ТV-антенны
Разъем для подключения спутниковой антенны
* На рисунках схематично изображены панели телевизора. Внешний вид модели может отличаться от представленного
в зависимости от спецификации.
** Наличие или отсутствие разъемов, а также их количество зависит от спецификации ТВ.
Характеристики
Остались вопросы?Не нашли свой ответ в руководстве или возникли другие проблемы? Задайте свой вопрос в форме ниже с подробным описанием вашей ситуации, чтобы другие люди и специалисты смогли дать на него ответ. Если вы знаете как решить проблему другого человека, пожалуйста, подскажите ему :)













