Телевизоры кинескопные Sony KV-SZ252M91 / KV-SZ292M91 - инструкция пользователя по применению, эксплуатации и установке на русском языке. Мы надеемся, она поможет вам решить возникшие у вас вопросы при эксплуатации техники.
Если остались вопросы, задайте их в комментариях после инструкции.
"Загружаем инструкцию", означает, что нужно подождать пока файл загрузится и можно будет его читать онлайн. Некоторые инструкции очень большие и время их появления зависит от вашей скорости интернета.

1
Y
C
B
C
R
Y
R
L
C
B
C
R
(MONO)
L
R
(MONO)
L
R
R
L
R
L
R
L
L(MONO)
R
2
F
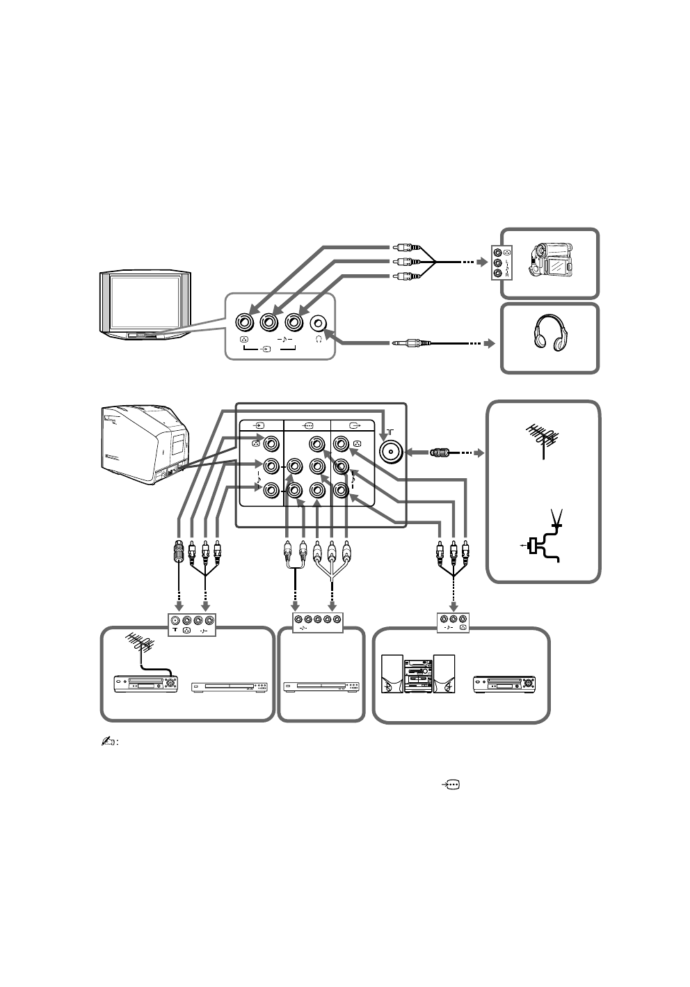
Подключение дополнительных
компонентов
К телевизору можно по
дключа
ть разнообразную дополнительную
аппаратуру. Соединительные кабели не прилагаются.
Подключение к телевизору (передняя панель)
Подключение к телевизору (задняя панель)
Антенный
кабель
•
При подключении видеомагнитофона к разъему
8
(вход антенны) настройте
сигнал с видеомагнитофона на программе номер 0 на ТВ (см.
M
).
• Если DVD-проигрыватель может посылать сигналы в режимах чересстрочной или
прогрессивной развертки, при подсоединении к разъему
(компонентный
видеовход) на ТВ выбирайте чересстрочный режим. Данный телевизор может
приниимать сигналы 525 строк/60 Гц или 625 строк/50 Гц.
• Разъемы компонентного видеосигнала проигрывателя DVD в некоторых случаях
отмечены как Y/C
B
/C
R,
Y/P
B
/P
R,
Y/C
b
/C
r
или Y/B-Y/R-Y.
• При выборе опции “DVD” на телеэкране сигнал не будет правильно выдаваться на
видео/aудио выход
T
. Это не является неполадкой.
Видеокамера
Аудио/
видео кабель
Наушники
или
Если прием FM–
сигнала невозможен
Антенный
переключатель
Сигнал
диапазона
FM
Сигнал диапазона ТВ
Антенный
кабель
DVD-
проигрыватель
Аудио/
видео кабель
DVD-
проигрыватель
кабель компо-
нентного видео
Аудиокабель
Видеомагнитофон
Аудиосистема Видеомагнитофон
Аудио/
видео кабель
ТВ, CATV, Спутник
Содержание
- 22 Технические характеристики
- 23 • Внутри телевизора очень высокое напряжение.
- 24 Безопасная установка телевизора; Винты; или
- 25 Перед эксплуатацией; Уст; на ТВ для включения телевизора.
- 27 Подключение к телевизору (передняя панель)
- 31 Устранение неисправностей
- 33 Навигатор WEGA GATE; Использование WEGA GATE
- 34 Настройка меню “Изображение”; пиктограмма
- 35 Настройка меню “Изображение” (продолжение); Выбор “Сброс” вернёт ТВ к заводским настройкам.
- 36 Настройка меню “Звук”
- 37 Настройка меню “Настройка каналов”
- 38 Настройка меню
- 39 После выбора пункта “Ручная настройка программ”
- 40 Настройка меню “Установка”; Нажимайте кнопки












