Телевизоры кинескопные Sony KV-29LS40K - инструкция пользователя по применению, эксплуатации и установке на русском языке. Мы надеемся, она поможет вам решить возникшие у вас вопросы при эксплуатации техники.
Если остались вопросы, задайте их в комментариях после инструкции.
"Загружаем инструкцию", означает, что нужно подождать пока файл загрузится и можно будет его читать онлайн. Некоторые инструкции очень большие и время их появления зависит от вашей скорости интернета.

14
Ниво
1
Ниво
2
Ниво
3 /
Функция
ПОТИСКАНЕ НА ШУМА
Опцията
«Потискане
на
шума»
в
менюто
«Подробна
начална
настр»
позволява
автоматичното потискане на шума на образа в
случай на слаби TB сигнали.
За целта: след като изберете тази опция, натиснете
b
. След което натиснете
v
или
V
, за да изберете
Auto
и накрая натиснете
OK
, за запаметяване.
Ако по-нататък желаете да премахнете тази
функция, изберете «Изкл.» вместо «Auto».
AV2 ИЗХОД
Опцията «AV2 изход» в менюто «Подробна начална
настр» позволява избор на изхода на Евроконетора
2
/
и дава възможност за запис чрез този
Евроконетор на който и да е сигнал идващ от
телевизора или от друг външен апарат свързан към
Евроконектора
1
/
или към лицевите букси
3
и
3
.
Ако видеото Ви разполага със Smartlink, този
процес не е необходим.
За целта: след избора на опцията натиснете
b
.
След това натиснете
v
или
V
за избор на желания
изходен сигнал
TV, AV1, AV3, YC3
или
AUTO
.
При избор на «AUTO» изходния сигнал винаги
ще бъде еднакъв с този който е на екрана на
телевизора.
Ако
сте
свързали
декодера
към
Евроконектора
2
/
или към видеото
свързано към този Евроконектор, трябва да
изберете «AUTO» или «TV» при «AV2 изход» за
правилно декодиране.
OK
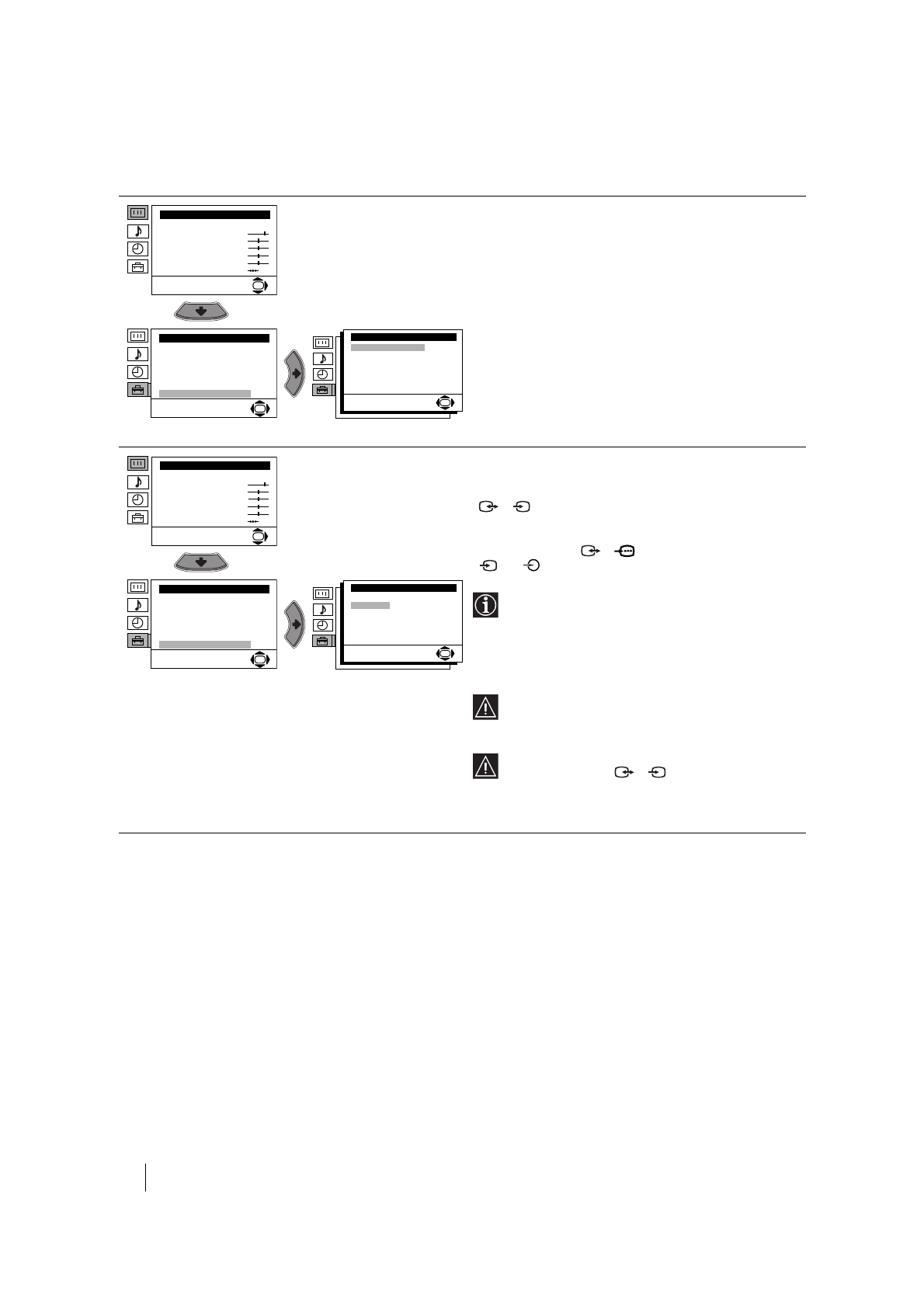
ПoДpoбнa нaчaлнa нacтp
Пoтиcкaнe нa Шyмa:
AV2 изxoД:
RGB Цeнтъp:
Bъpтeнe нa Kapт.:
Auto
TV
0
0
OK
Инcтaлиpaнe
Eзик/Дъpжaвa
Aвтoм. Зaxвaщaнe
Пoдpeждaнe нa Пpoгpaми
HaДпиcвaнe нa пpoгpaми
Зaпaмeтeни AV нacтpoйки
Пpoгpaмa Pъчeн Избop
Пoдpoбнa нaчaлнa нacтp
Hacтpoйкa нa Kapтинaтa
Peжим: Личeн
Koнтpacт
Яpкocт
Цвeтнocт
Ocтpoтa
Toнaлнocт
Hyлиpaнe
OK
OK
ПoДpoбнa нaчaлнa нacтp
Пoтиcкaнe нa Шyмa:
AV2 изxoД:
RGB Цeнтъp:
Bъpтeнe нa Kapт.:
Auto
TV
0
0
Hacтpoйкa нa Kapтинaтa
Peжим: Личeн
Koнтpacт
Яpкocт
Цвeтнocт
Ocтpoтa
Toнaлнocт
Hyлиpaнe
OK
OK
Инcтaлиpaнe
Eзик/Дъpжaвa
Aвтoм. Зaxвaщaнe
Пoдpeждaнe нa Пpoгpaми
HaДпиcвaнe нa пpoгpaми
Зaпaмeтeни AV нacтpoйки
Пpoгpaмa Pъчeн Избop
Пoдpoбнa нaчaлнa нacтp
S
S
Система от менюта на екрана
продължава...
Содержание
- 103 Введение; Оглавление
- 104 бщие правила техники безопасности; Общие правила техники безопасности
- 105 Общее описание
- 106 Общее описание кнопок телевизора; Общее описание -Установка; Установка батареек в пульт дистанционного управления; Подключение антенны и видеомагнитофона
- 107 Включение и автоматическая настройка телевизора; Первое включение телевизора в работу
- 108 Your TV is now ready for use.
- 109 Введение и работа с системой меню; Вывод системы меню на экран; Схема меню; Уровень; НАСТРОЙКА ИЗОБРАЖЕНИЯ
- 110 НАСТРОЙКА ЗВУКА
- 111 ТАЙМЕР ВЫКЛЮЧЕНИЯ
- 112 СОРТИРОВКА ПРОГРАММ
- 113 РУЧНАЯ НАСТРОЙКА ПРОГРАММ
- 114 ШУМОПОНИЖЕНИЕ; ВЫХОД AV2
- 115 RGB ЦЕНТРИРОВАНИЕ; ПОВОРОТ ИЗОБРАЖЕНИЯ
- 117 Подключение дополнительных устройств; Дополнительная информация
- 118 Подключение внeшнeй звyкoвocпpoизвoдящeй aппapaтypы:; Использование дополнительных устройств
- 119 пецификации
- 120 Выявление неисправностей; Неисправность












