Телевизоры кинескопные Sony KV-28CL11K - инструкция пользователя по применению, эксплуатации и установке на русском языке. Мы надеемся, она поможет вам решить возникшие у вас вопросы при эксплуатации техники.
Если остались вопросы, задайте их в комментариях после инструкции.
"Загружаем инструкцию", означает, что нужно подождать пока файл загрузится и можно будет его читать онлайн. Некоторые инструкции очень большие и время их появления зависит от вашей скорости интернета.

16
System menu na ekranie
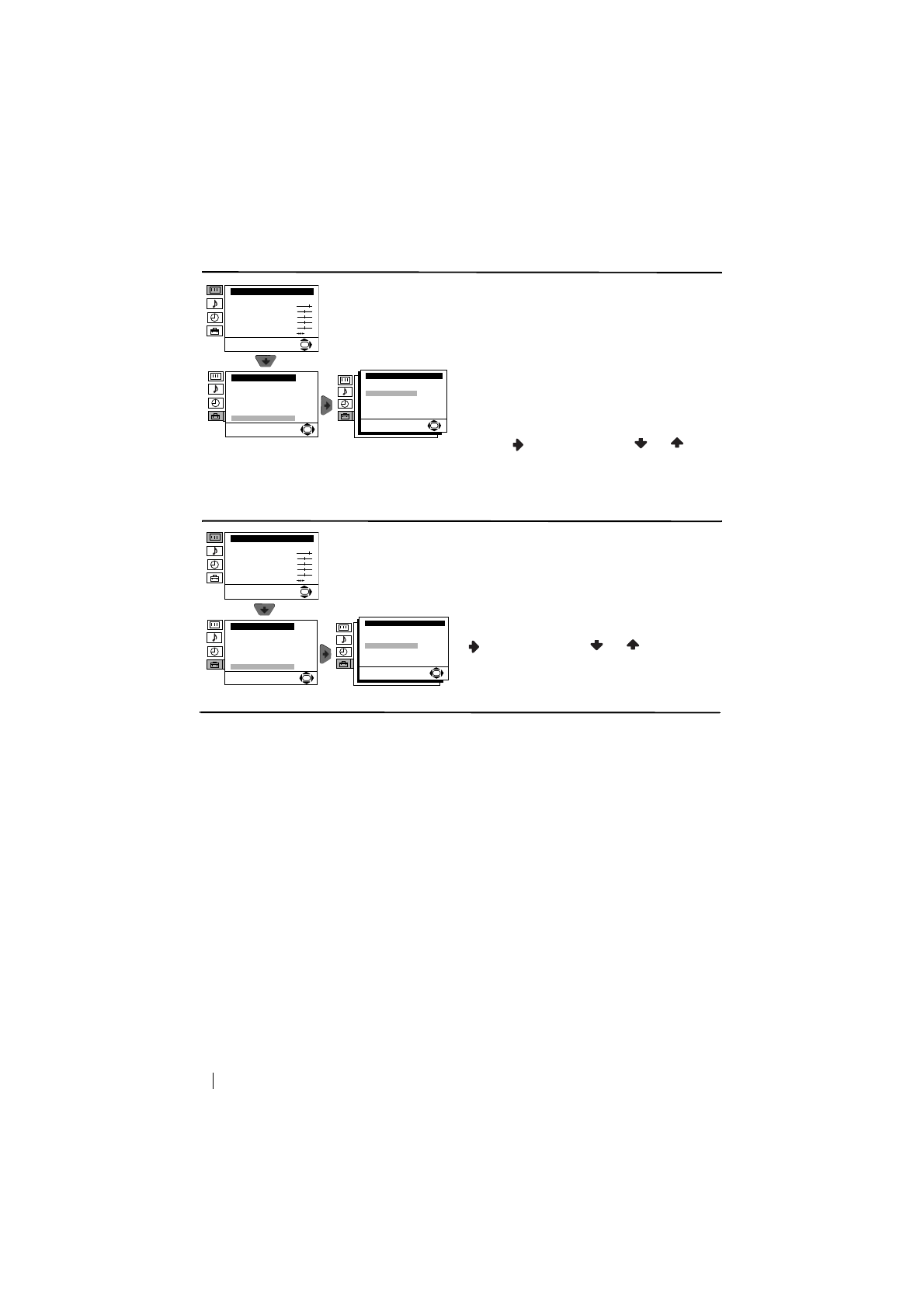
CENTROWANIE RGB
Gdy podłączone jest śródło sygnałów RGB, jak
np. konsola PlayStation , może się okazaç
niezbędna regulacja poziomego centrowania
obrazu. Można jej dokonaç przy użyciu opcji
Centrowanie RGB w menu Ustawienia
szczególów .
W tym celu: widząc sygnał wejściowy RGB,
wybierz opcję Centrowanie RGB i naciśnij
przycisk
. Następnie naciśnij
lub
by
ustawiç centrowanie obrazu między -10 i +10. Na
zakończenie naciśnij OK by zapisaç
ustawienie.
OBRÓT OBRAZU
Z powodu magnetyzmu ziemskiego istnieje
możliwośç, że obraz będzie przechylony. Można
go wówczas uregulowaç przy użyciu opcji Obrót
obrazu w menu Ustawienia szczególów .
W tym celu: po wybraniu opcji naciśnij przycisk
. Następnie naciśnij
lub
by ustawiç
przechylenie obrazu między -5 i +5. Na
zakończenie naciśnij OK by zapisaç
ustawienie.
Poziom 1
Poziom 2
Poziom
3 / Funkcja
Regulacja Obrazu
Tryb: W
ł
asny
Kontrast
Jasno
ść
Kolor
Ostro
ść
Odcie
ń
Zerowanie
OK
Ustawienia szczególów
Redukcja zak
ł
ó
ce
ń
:
Wyj
ś
cie AV2:
Centrowanie RGB:
Obr
ó
t Obrazu:
Auto
TV
0
0
OK
Ustawianie
J
ę
zyk/Kraj
Autoprogramowanie
Sortowanie Program
ó
w
Nazwy Program
ó
w
Ustawienia A/V
Programowanie R
ę
czne
Ustawienia szczeg
ó
l
ó
w
OK
Regulacja Obrazu
Tryb: W
ł
asny
Kontrast
Jasno
ść
Kolor
Ostro
ść
Odcie
ń
Zerowanie
OK
Ustawianie
J
ę
zyk/Kraj
Autoprogramowanie
Sortowanie Program
ó
w
Nazwy Program
ó
w
Ustawienia A/V
Programowanie R
ę
czne
Ustawienia szczeg
ó
l
ó
w
OK
Ustawienia szczególów
Redukcja zak
ł
ó
ce
ń
:
Wyj
ś
cie AV2:
Centrowanie RGB:
Obr
ó
t Obrazu:
Auto
TV
0
0
OK
Содержание
- 104 Общие правила техники безопасности
- 106 Общее описание кнопок телевизора; Общее описание; Переключатель
- 107 Подлючение антенны и видеомагнитофона; Установка батареек в пульт дистанционного; Установка; ИЛИ
- 109 Первое включение телевизора в работу
- 110 Введение и работа с системой меню; Нажмите на кнопку; Схема меню; (для прямых трансляций, а также сигналов с DVD и
- 111 Вы можете изменить настройку режима звука в меню «Настройка звука».; Режим; Уровень 1; Вывод системы меню на зкран
- 112 АВТОНАСТРОЙКА
- 113 ПРЕДУС; Автоматически появится заданное название в
- 114 декодер
- 115 УМОПОНИЖЕНИЕ; . После зтого нажмите; Auto; , после чего нажмите; TV
- 117 Как войти в услуги Телетекста:; Фастекст
- 118 Подключение дополнительных устройств; Подключение видеомагнитофона:; ony Computer; Дополнительная информация
- 119 Использование дополнительных устойств; Для моно оборудования
- 120 Спецификации
- 121 Устранение неполадок; ремонта












