Телевизоры кинескопные Sony KV-28CL11K - инструкция пользователя по применению, эксплуатации и установке на русском языке. Мы надеемся, она поможет вам решить возникшие у вас вопросы при эксплуатации техники.
Если остались вопросы, задайте их в комментариях после инструкции.
"Загружаем инструкцию", означает, что нужно подождать пока файл загрузится и можно будет его читать онлайн. Некоторые инструкции очень большие и время их появления зависит от вашей скорости интернета.

16
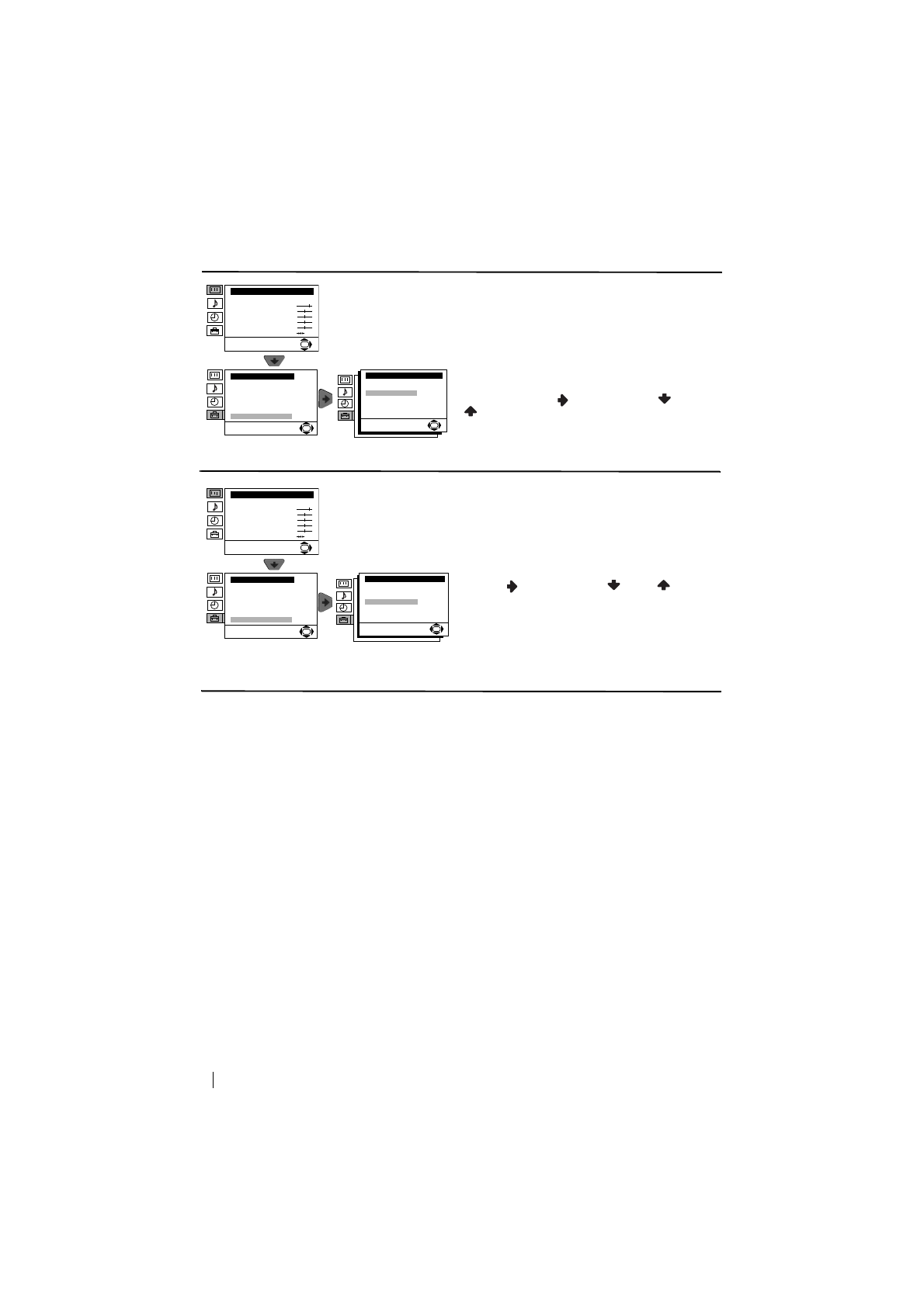
Režim menu na obrazovce
RGB CENTROVÁNÍ
Při zapojení vnějších signálů RGB, jako
“PlayStation”, je možné, že bude třeba seřídit
vodorovné centrování obrazu. V tomto případě
se seřizuje pomocí funkce “RGB centrování” v
režimu menu “Prodrobnějši nastaveni”.
K tomu je třeba: zatímco sledujete vstupní signál
RGB, zvolte funkci “RGB Centróvaní” a
stiskněte tlačítko
. Poté stiskněte
nebo
pro upravení centra obrazu (seřizujte od - 10
do + 10). Nakonec stiskněte tlačítko OK pro jeho
uložení.
OTOČENÍ OBRAZU
Vzhledem k zemské přitažlivosti se může stát, že
se obraz nakloní. V tomto případě ho můžete
upravit použitím funkce “Otočení obrazu” v
režimu menu “Prodrobnějši nastaveni”.
K tomu je třeba: po zvolení funkce, stiskněte
tlačítko
. Poté stiskněte
nebo
pro
seřízení otočení obrazu v rozmezí od - 5 do + 5.
Nakonec stiskněte tlačítko OK pro jeho uložení.
Stupeň 1
Stupeň 2
Stupeň 3 / Funkce
Nastavení obrazu
Režim: Osobní
Kontrast
Jas
Barevná sytost
Ostrost
Odstín
Reset
OK
Instalace
Jazyk/Země
Automatické ladění
Třídění programů
Označení programů
AV předvolby
Ruční ladění
Prodrobnější nastavení
OK
Prodrobnější nastavení
Redukce šumu:
Výstup AV2:
RGB centrování:
Otočení obrazu:
Auto
TV
0
0
OK
Nastavení obrazu
Režim: Osobní
Kontrast
Jas
Barevná sytost
Ostrost
Odstín
Reset
OK
Instalace
Jazyk/Země
Automatické ladění
Třídění programů
Označení programů
AV předvolby
Ruční ladění
Prodrobnější nastavení
OK
Prodrobnější nastavení
Redukce šumu:
Výstup AV2:
RGB centrování:
Otočení obrazu:
Auto
TV
0
0
OK
Содержание
- 104 Общие правила техники безопасности
- 106 Общее описание кнопок телевизора; Общее описание; Переключатель
- 107 Подлючение антенны и видеомагнитофона; Установка батареек в пульт дистанционного; Установка; ИЛИ
- 109 Первое включение телевизора в работу
- 110 Введение и работа с системой меню; Нажмите на кнопку; Схема меню; (для прямых трансляций, а также сигналов с DVD и
- 111 Вы можете изменить настройку режима звука в меню «Настройка звука».; Режим; Уровень 1; Вывод системы меню на зкран
- 112 АВТОНАСТРОЙКА
- 113 ПРЕДУС; Автоматически появится заданное название в
- 114 декодер
- 115 УМОПОНИЖЕНИЕ; . После зтого нажмите; Auto; , после чего нажмите; TV
- 117 Как войти в услуги Телетекста:; Фастекст
- 118 Подключение дополнительных устройств; Подключение видеомагнитофона:; ony Computer; Дополнительная информация
- 119 Использование дополнительных устойств; Для моно оборудования
- 120 Спецификации
- 121 Устранение неполадок; ремонта












