Телевизоры кинескопные Sony KV-28CL11K - инструкция пользователя по применению, эксплуатации и установке на русском языке. Мы надеемся, она поможет вам решить возникшие у вас вопросы при эксплуатации техники.
Если остались вопросы, задайте их в комментариях после инструкции.
"Загружаем инструкцию", означает, что нужно подождать пока файл загрузится и можно будет его читать онлайн. Некоторые инструкции очень большие и время их появления зависит от вашей скорости интернета.

16
•
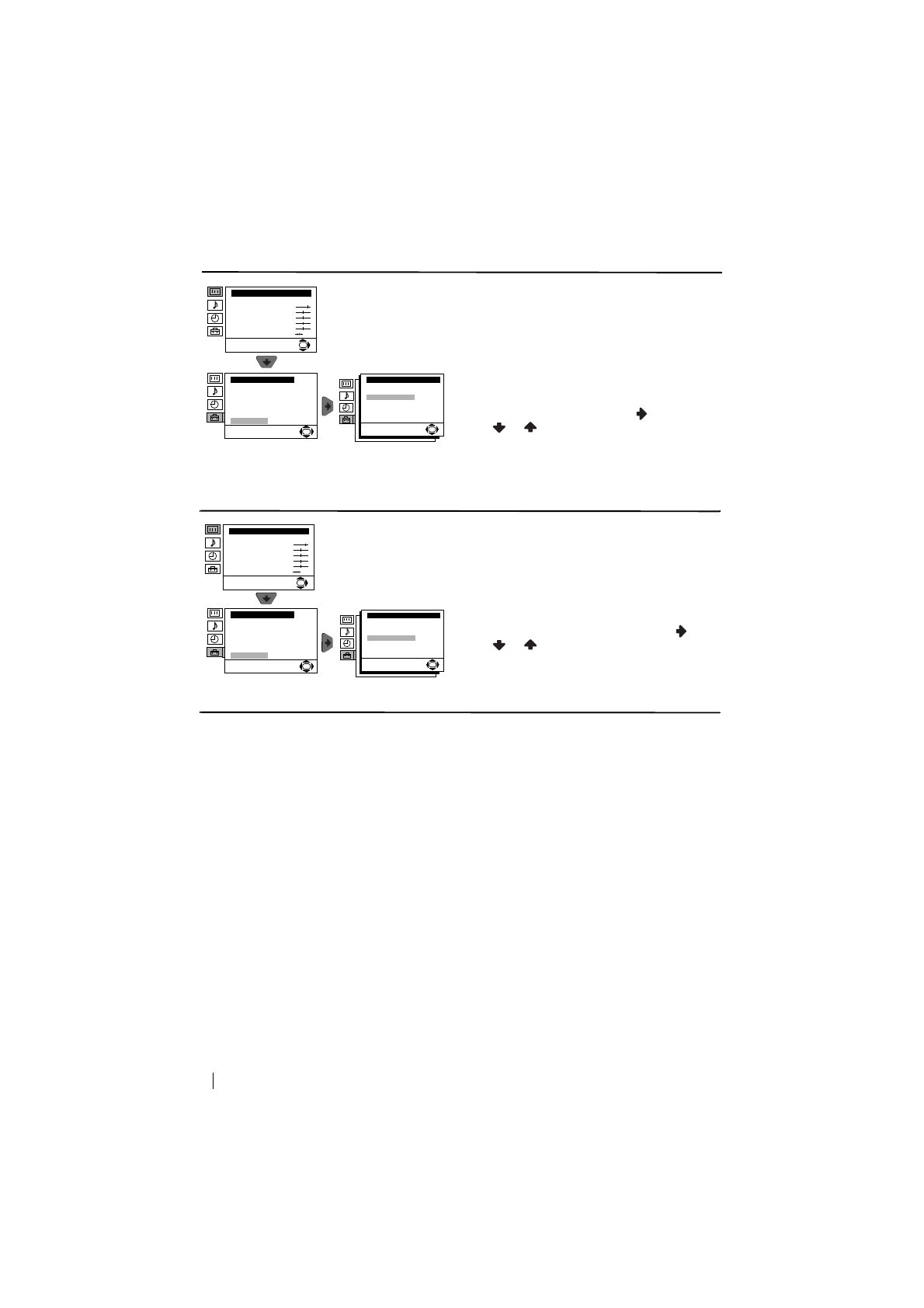
Menu System
RGB CENTRING
When connecting an RGB source, such as a
“PlayStation”, you may need to readjust the
horizontal position of the picture. In that case, you
can readjust it through the “RGB Centring” option in
the “Detail Set Up”.
To do this: while watching an RGB source select the
“RGB Centring” option and press
. Then
press
or
to adjust the centre of the
picture between –10 and +10. Finally press
OK
to confirm and store.
PICTURE ROTATION
Because of the earth’s magnetism, the picture may
slant. In this case, you can correct the picture slant by
using the option “Picture Rotation” in the “Detail Set
Up” menu.
To do this: after selecting the option, press
. Then
press
or
to correct any slant of the picture
between -5 and +5 and finally press
OK
to store.
Level 1
Level 2
Level 3 / Function
Set Up
Language/Country
Auto Tuning
Programme Sorting
Progamme Labels
AV Preset
Manual Programme Preset
Detail Set Up
OK
Detail Set Up
Noise Reduction:
AV2 Output:
RGB Centring:
Picture Rotation:
Auto
TV
0
0
OK
Picture Adjustment
Mode: Personal
Contrast
Brightness
Colour
Sharpness
Hue
Reset
OK
Set Up
Language/Country
Auto Tuning
Programme Sorting
Progamme Labels
AV Preset
Manual Programme Preset
Detail Set Up
OK
Detail Set Up
Noise Reduction:
AV2 Output:
RGB Centring:
Picture Rotation:
Auto
TV
0
0
OK
Picture Adjustment
Mode: Personal
Contrast
Brightness
Colour
Sharpness
Hue
Reset
OK
Содержание
- 104 Общие правила техники безопасности
- 106 Общее описание кнопок телевизора; Общее описание; Переключатель
- 107 Подлючение антенны и видеомагнитофона; Установка батареек в пульт дистанционного; Установка; ИЛИ
- 109 Первое включение телевизора в работу
- 110 Введение и работа с системой меню; Нажмите на кнопку; Схема меню; (для прямых трансляций, а также сигналов с DVD и
- 111 Вы можете изменить настройку режима звука в меню «Настройка звука».; Режим; Уровень 1; Вывод системы меню на зкран
- 112 АВТОНАСТРОЙКА
- 113 ПРЕДУС; Автоматически появится заданное название в
- 114 декодер
- 115 УМОПОНИЖЕНИЕ; . После зтого нажмите; Auto; , после чего нажмите; TV
- 117 Как войти в услуги Телетекста:; Фастекст
- 118 Подключение дополнительных устройств; Подключение видеомагнитофона:; ony Computer; Дополнительная информация
- 119 Использование дополнительных устойств; Для моно оборудования
- 120 Спецификации
- 121 Устранение неполадок; ремонта












