Телевизоры кинескопные Sony KV-21FX30K - инструкция пользователя по применению, эксплуатации и установке на русском языке. Мы надеемся, она поможет вам решить возникшие у вас вопросы при эксплуатации техники.
Если остались вопросы, задайте их в комментариях после инструкции.
"Загружаем инструкцию", означает, что нужно подождать пока файл загрузится и можно будет его читать онлайн. Некоторые инструкции очень большие и время их появления зависит от вашей скорости интернета.

16
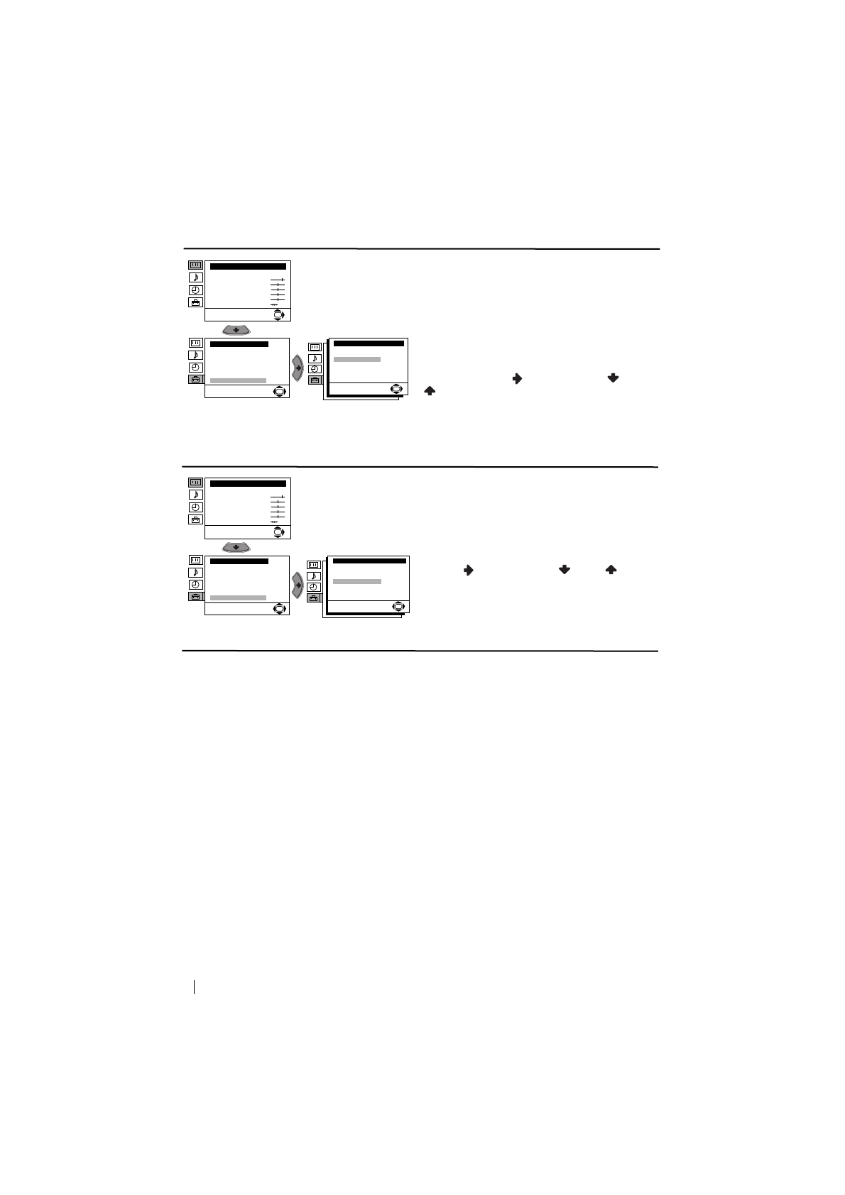
Režim menu na obrazovce
RGB CENTROVÁNÍ
Při zapojení vnějších signálů RGB, jako
“PlayStation”, je možné, že bude třeba seřídit
vodorovné centrování obrazu. V tomto případě
se seřizuje pomocí funkce “RGB centrování” v
režimu menu “Prodrobnější nastavení”.
K tomu je třeba: zatímco sledujete vstupní
signál RGB, zvolte funkci “RGB Centróvaní” a
stiskněte tlačítko
. Poté stiskněte
nebo
pro upravení centra obrazu (seřizujte od - 10
do + 10). Nakonec stiskněte tlačítko
OK
pro
jeho uložení.
OTOČENÍ OBRAZU
Vzhledem k zemské přitažlivosti se může stát,
že se obraz nakloní. V tomto případě ho můžete
upravit použitím funkce “Otočení obrazu” v
režimu menu “Prodrobnější nastavení”.
K tomu je třeba: po zvolení funkce, stiskněte
tlačítko
. Poté stiskněte
nebo
pro
seřízení otočení obrazu v rozmezí od - 5 do + 5.
Nakonec stiskněte
OK
pro jeho uložení.
Stupeň
1
Stupeň
2
Stupeň 3 / Funkce
Nastavení obrazu
Režim: Osobní
Kontrast
Jas
Barevná sytost
Ostrost
Odstín
Reset
OK
Instalace
Jazyk/Země
Automatické ladění
Třídění programů
Označení programů
AV předvolby
Ruční ladění
Prodrobnější nastavení
OK
Prodrobnější nastavení
Redukce šumu:
Výstup AV2:
RGB centrování:
Otočení obrazu:
Auto
TV
0
0
OK
Nastavení obrazu
Režim: Osobní
Kontrast
Jas
Barevná sytost
Ostrost
Odstín
Reset
OK
Instalace
Jazyk/Země
Automatické ladění
Třídění programů
Označení programů
AV předvolby
Ruční ladění
Prodrobnější nastavení
OK
Prodrobnější nastavení
Redukce šumu:
Výstup AV2:
RGB centrování:
Otočení obrazu:
Auto
TV
0
0
OK
Содержание
- 99 Назначение кнопок на пульте дистанционного управления; Общее описание
- 100 специально установленные для этого контейнеры.; Подключение антенны и видеомагнитофона; Провода для подключения не входят в комплект поставки.; Общее описание - Установка; Переключатель; выключение; Нажмите на отметку
- 101 Включение и автоматическая настройка телевизора; Первое включение телевизора в работу
- 103 Введение и работа с системой меню; Вывод системы меню на экран; Схема меню; Уровень; Резкость; можно изменить только в том случае, если Вы; Цветовой Тон; можно изменять только в системе цвета NTSC (например, видеопленки; Сброс; и нажмите на
- 105 ТАЙМЕР ВЫКЛЮЧЕНИЯ; отключения, нажмите на кнопку; ТАЙМЕР ВКЛЮЧЕНИЯ; Индикатор
- 106 АВТОНАСТРОЙКА
- 107 Повторите все эти шаги для настройки и
- 108 Если Вы захотите отменить эту функцию в
- 109 ШУMOПОНИЖЕНИЕ
- 111 В этом случае введите другой номер страницы.; Фастекст
- 112 Подключение дополнительных устройств; Подключение видеомагнитофона:; Дополнительная информация
- 113 Подключение внeшнeй звyкoвocпpoизвoдящeй aппapaтypы:; Использование дополнительных устройств
- 114 Спецификации; Допoлнитeльнaя инфомация; Otæezataho b Cjobaknn.
- 115 Выявление неисправностей; Неисправность












