Телевизоры кинескопные Sony KV-21CL5K - инструкция пользователя по применению, эксплуатации и установке на русском языке. Мы надеемся, она поможет вам решить возникшие у вас вопросы при эксплуатации техники.
Если остались вопросы, задайте их в комментариях после инструкции.
"Загружаем инструкцию", означает, что нужно подождать пока файл загрузится и можно будет его читать онлайн. Некоторые инструкции очень большие и время их появления зависит от вашей скорости интернета.

BG
5
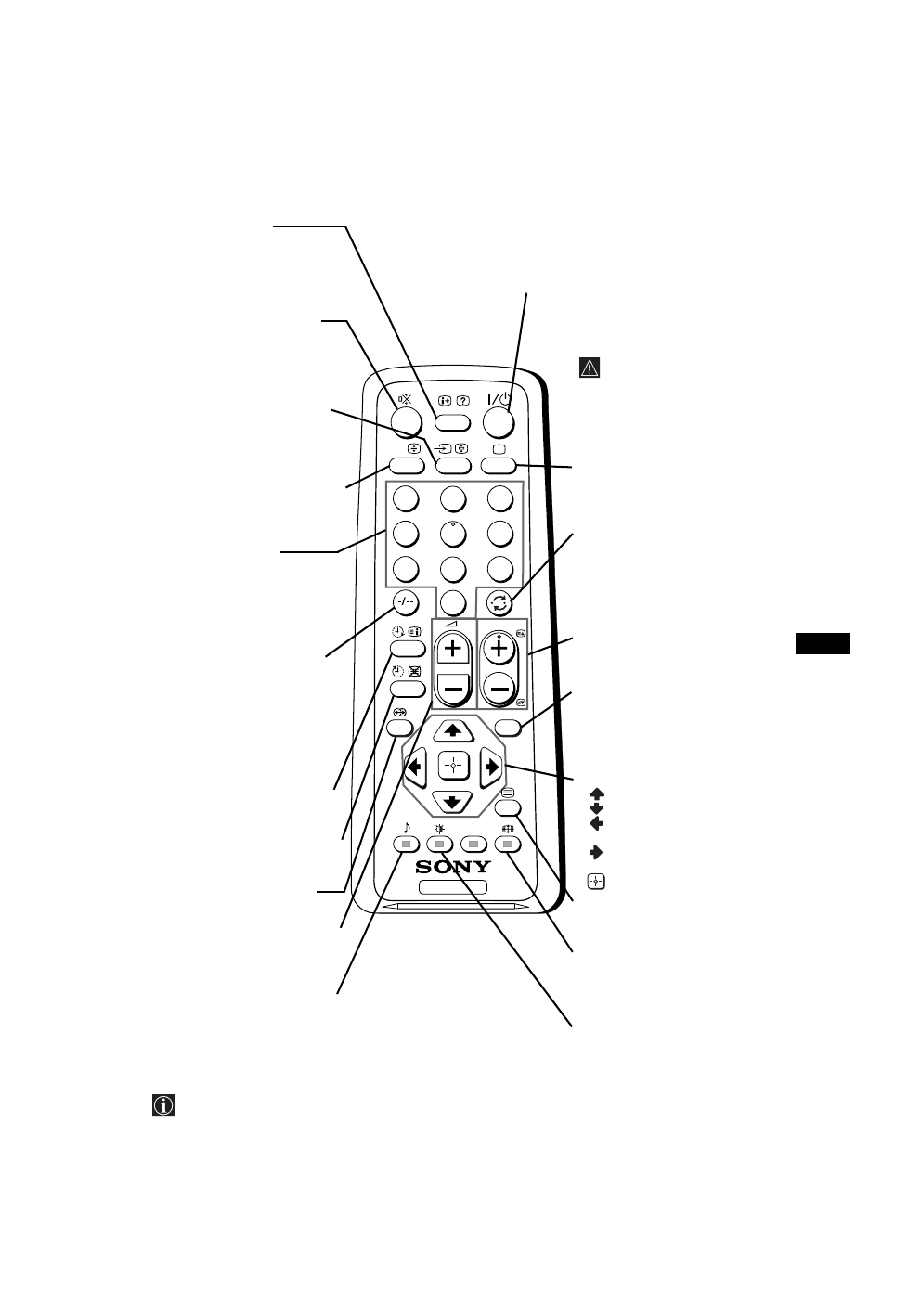
Основно описание на бутоните на дистанционното управление
Освен телевизионните функции, всички цветни бутони се използват също така и за
операциите на телетекста. За повече информация вижте в главата “Телетекст” в
това ръководство за експлоатация (на стр. 16).
TV
1
2
3
4
6
7
8
9
0
5
MENU
PROG
A / B
Изобразяване на
информация на екрана
Натиснете го за изобразяване
на всички индикации на
екрана. Натиснете го отново за
премахване.
Елинимиране на звука
Натиснете го за премахване
на звука.
Натиснете го отново за
възвръщане на звука.
Избор на входен сигнал
Натиснете го няколко пъти,
докато символът на желания
входен сигнал се появи на
екрана.
Този бутон функционира само в
режим на телетекст. Функцията
A/B, свързана с този бутон, не
функционира с този телевизор
.
Избор на канали
Натиснете ги за избор на канали.
За двуцифрени пограмни номера
натиснете втората цифра за
времетраене по-малко от 3 сек.
или
Натиснете -/-- и след това
въведете първата и втората
цифра.
Ако сбъркате при въвеждането
на първата цифра, продължете
въвеждайки и втората (от 0 до
9) и веднага след това
повторете операцията.
Автоматично влючване
Настройте телевизора да се
включва автоматично.
Автоматично изключване
Настройте телевизора да се
изключва автоматично.
Бутон без функция с този
апарат.
Настройване на силата на
звука
Натиснете го за настройване
на силата на звука.
Избор на режим за звука
Натиснете няколко пъти, за
промяна на режимa на звука.
Временно изключване на телевизора
Натиснете го за временно изключване на телевизора
(индикаторът за режим на изчакване
1
ще светне).
Натиснете го отново, за да включите телевизора от
режима на временно изключване (standby).
За икономия на ел. енергия
се препоръчва цялостното
изключване на телевизора,
когато не се използва.
Ако в продължение на
15 мин. няма ТВ сигнал и
не се натискат бутоните,
телевизорът ще мине
автоматично в режим на
временно изключване
(standby).
Избор на режим на
телевизия
Натиснете го, за да изключите
телетекста или входа за видео.
Връщане към последния
избран канал
Натиснете го, за да върнете
последния избран канал
(предходният канал трябва да
е бил изобразен в продължение
на най-малко 5 сек.).
Избор на канали
Натиснете го за избор на
предходен или следващ канал.
Активиране на системата
от менюта
Натиснете го, за да видите
менюто на екрана. Натиснете го
отново за премахване и връщане
на нормалния ТВ екран.
Бутони за избора на менюто
Качване с едно ниво
Слизане с едно ниво
Отиване в предходно меню
или избор
Отиване в следващо меню
или избор
Потвърждаване на избора
Избор на телетекста
Натиснете го за
изобразяване на телетекста.
Избор на формат на екрана
Натиснете го няколко пъти за
смяна на формат на екрана: 4:3 за
обикновенен образ или 16:9 за
имитация на панорамен екран.
Избор на режим на образа
Натиснете го неколкократно,
за да промените режима на
картината.
Основно описание
Содержание
- 95 Назначeниe кнопок на пультe дистанционного управлeния
- 96 Провода для подключения не входят в комплект поставки.; выключeниe; чтобы; видеомагнитофон
- 97 Включeниe и автоматичeская настройка тeлeвизора
- 98 Теперь телевизор готов к эксплуатации.
- 102 Таймер; Для этого
- 103 Настройка канaлoв; Автонастройка
- 104 Нeт; ” вмeсто “
- 105 Установка
- 106 этом случаe ввeдитe другой номeр страницы.
- 107 Подключeниe дополнитeльных устройств; Подключeниe видeомагнитофона; Использованиe дополнитeльных устройств
- 108 Спeцификации; Плоский экран FD Trinitron
- 109 Выявлeниe нeисправностeй; Нeисправность












