Телевизоры кинескопные Panasonic TC-21FS10T - инструкция пользователя по применению, эксплуатации и установке на русском языке. Мы надеемся, она поможет вам решить возникшие у вас вопросы при эксплуатации техники.
Если остались вопросы, задайте их в комментариях после инструкции.
"Загружаем инструкцию", означает, что нужно подождать пока файл загрузится и можно будет его читать онлайн. Некоторые инструкции очень большие и время их появления зависит от вашей скорости интернета.

14
Процедура Настройки
■
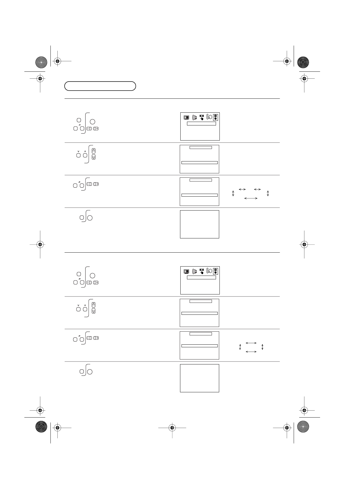
Выбор Цветовой Система
Используйте эту функцию, если достигается четкое изображение со слабыми цветами при приеме 
Телевизионного или AV (ВИДЕО) сигнала.
■
Выбор Звуковой Система
Эта функция используется только в режиме ТВ (Телевизор) и неприменима в AV (ВИДЕО) режиме. 
Когда на канале звук не чистый или звука нет вообще.
1
Нажмите кнопку “MENU” (МЕНЮ) и 
кнопку Громкости Прибавление 
Вверх “+” или Убавление Вниз “–” до 
тех пор пока не будет выбрана МЕНЮ 
ПРЕДУСТАНОВКА.
2
Нажмите кнопку номера Канала 
Вверх “
3
” или Вниз “
4
” , до тех пор,
пока не будет выбрана функция 
“ЦВЕТ. СИСТЕМА” .
Состояние “ЦВЕТ. СИСТЕМА” .
3
Нажимайте кнопку Громкости Вверх 
“+” или Вниз “–” неоднократно пока 
не будет произведено оптимальное 
изображение.
Цветовая система 
изменится как показано:
4
Дважды нажмите кнопку “MENU” 
(МЕНЮ).
Это возвращает аппарат в 
состояние обычного 
контроля изображения.
Выбранная Цветовая 
Система запоминается 
автоматически.
1
Нажмите кнопку “MENU” (МЕНЮ) и 
кнопку Громкости Прибавление 
Вверх “+” или Убавление Вниз “–” до 
тех пор пока не будет выбрана МЕНЮ 
ПРЕДУСТАНОВКА.
2
Нажмите кнопку номера Канала 
Вверх “
3
” или Вниз “
4
” , до тех пор,
пока не будет выбрана функция 
“ЗВУК. СИСТЕМА” .
Состояние “ЗВУК. 
СИСТЕМА” .
3
Нажимайте кнопку Громкости 
Прибавление Вверх “+” или кнопку 
Громкости Убавление Вниз “–”  
неоднократно, пока не будет 
достигнут оптимальный звук.
Звуковая система изменится 
как показано:
4
Дважды нажмите кнопку “MENU” 
(МЕНЮ).
Это возвращает аппарат в 
состояние обычного 
контроля изображения.
Выбранная Звуковая 
Система запоминается 
автоматически.
MENU
–
+
MENU
ПРЕДУСТАНОВКА
ПРЕД УСТАНОВКА
ПОЗ.3
АВТОНАСТРОЙКА
РУЧН.НАСТР.
ЗВУК.СИСТЕМА 5. 5MHz
ЦВЕТ.СИСТЕМА АВТ.
Т.НАСТР.
ПЕРЕКЛЮЧЕНИЕ ВЫКЛ
ОБМЕН НАСТР.3
–
+
ПРЕД УСТАНОВКА
ПОЗ.3
АВТОНАСТРОЙКА
РУЧН.НАСТР.
ЗВУК.СИСТЕМА 5. 5MHz
ЦВЕТ.СИСТЕМА АВТ.
Т.НАСТР.
ПЕРЕКЛЮЧЕНИЕ ВЫКЛ
ОБМЕН НАСТР.3
АВТ.PAL
NTSC 3.58
NTSC 4.43
SECAM
MENU
MENU
3
MENU
–
+
MENU
ПРЕДУСТАНОВКА
ПРЕД УСТАНОВКА
ПОЗ.3
АВТОНАСТРОЙКА
РУЧН.НАСТР.
ЗВУК.СИСТЕМА 5. 5MHz
ЦВЕТ.СИСТЕМА АВТ.
Т.НАСТР.
ПЕРЕКЛЮЧЕНИЕ ВЫКЛ
ОБМЕН НАСТР.3
–
+
ПРЕД УСТАНОВКА
ПОЗ.3
АВТОНАСТРОЙКА
РУЧН.НАСТР.
ЗВУК.СИСТЕМА 5. 5MHz
ЦВЕТ.СИСТЕМА АВТ.
Т.НАСТР.
ПЕРЕКЛЮЧЕНИЕ ВЫКЛ
ОБМЕН НАСТР.3
4.5 MHz
5.5 MHz
6.5 MHz
6.0 MHz
MENU
MENU
3
TC21FS10T-2909_RU.fm Page 14 Wednesday, May 11, 2005 11:30 AM
Содержание
- 2 Увaжaeмый клиeнт фирмы Пaнacoник; Указания по технике безопасности
- 3 Пеpед Пользованием Аппаpатом; Подключение Антенного Кабеля в Гнездо RF In; режения; Микшеp; Вставьте две батарейки.
- 4 Для просмотра через видеомагнитофонь:; Запись
- 5 Графическая Схема Главного Меню
- 6 Основные Операции; Нажмите Кнопку номера программы Вверх “; Нажмите кнопку; Устанавливaeмый диапoзон
- 7 Упpавление Меню Изобpажения; После настройки таймера включ. переключите телевизор в режим; Кнопка Быстрой Настройки; МЕНЮ
- 8 Процедура Настройки; Позиционная; ” или Вниз “
- 9 Ручная Настройка
- 10 Тонкой Настройка
- 11 Как отменить Тонкую Настройку; слева от Номера Канала.
- 12 Как Пропустить Номер Программы
- 13 Как Отменить Функцию Пропуска; ” или назад “
- 14 Выбор Цветовой Система
- 15 Изменение Позиции
- 16 Действие Меню Изображения; * Когда принимается сигнал в формате NTSC.; Действие Меню Звук; МЕНЮ ДИНАМИЧЕСКИЙ; Полезный Совет; 0 Ц В Е Т
- 17 индивидуально защищён.; ЯРКИЙ
- 18 Выявление Неиспpавностей; Симптомы
- 19 Технические Хаpактеpистики; глуб; Видео Вход; Номеp Модели
 
  
  
  
  
  
  
  
  
  
  
  
  
  
  
  
  
  
  
  
 











