Телевизоры кинескопные Panasonic TC-21FJ10T - инструкция пользователя по применению, эксплуатации и установке на русском языке. Мы надеемся, она поможет вам решить возникшие у вас вопросы при эксплуатации техники.
Если остались вопросы, задайте их в комментариях после инструкции.
"Загружаем инструкцию", означает, что нужно подождать пока файл загрузится и можно будет его читать онлайн. Некоторые инструкции очень большие и время их появления зависит от вашей скорости интернета.

17
Усовершенствованные Действия Пульта Дистанционного Управления
■
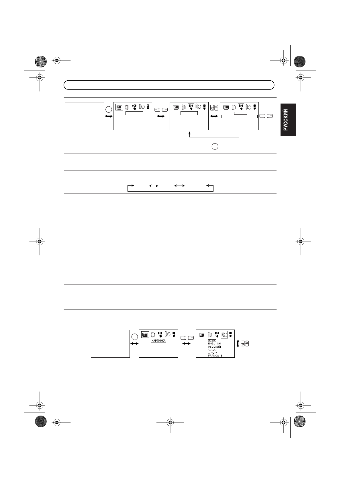
Действие Меню Функции
Примечание:
Меню Функций также может быть изображено на экране путём использования клавиш на
панели (МЕНЮ, Громкость Вверх или Вниз и кнопки Номера Программы Вверх или Вниз).
■
Действие Меню Языка
Нажмите кнопку “Номера Канала Вверх или Вниз” . Индикация языка на экране изменится как показано:
Примечание:
Меню Языка также может быть изображено на экране путём использования клавиш на
панели (МЕНЮ, Громкость Вверх или Вниз и кнопки Номера Программы Вверх или Вниз).
СИН. ЭКРАН
Когда не принимается сигнал изображения или сигнал слабый, экран возвращается к
синему цвету фона, и звук приглушен.
Обездействуйте эту функцию, чтобы продолжать смотреть очень слабые сигналы.
УСТ. ЦВ.
КАНАЛА
Разница интенсивности цвета между телевизионными каналами может быть
отрегулирована по трем уровням для каждого приема канала следующим образом:
ВКЛ.
ЗАЩИТЫ
Для включения режима защиты от ребёнка на каком либо канале, нажмите кнопку
Громкости Прибавление Вверх или Громкости Убавление Вниз до тех пор пока не будет
получен сигнал “ВКЛ. ЗАЩИТЫ” .
1. Когда канал “ЗАЩИЩЕН” , звук приглушен и экран становится голубого цвета.
2. Если какой - либо из 100 каналов ВКЛ. ЗАЩИТЫ ВКЛ., тогда устанавливающее меню
ограничивается от ввода при нажатии клавиши на панели. В дополнение, если нажата
клавиша на панели, Номер Канала Вверх/Вниз, на экране появится сообщение OSD
“ВКЛ. ЗАЩИТЫ ВКЛ. ” указывающая на то, что канал защищен.
3. Г лавный выключатель ВКЛ. на защищенном от ребенка канале покажет на экране “ВКЛ.
ЗАЩИТЫ ВКЛ. ” для того, чтобы напомнить пользователю, что Защита От Ребенка ВКЛ. и
канал защищен от ребенка.
4. Каждый канал имеет свою собственную память для каналов и может быть
индивидуально защищён.
5. Функцию блокировки от детей можно отключить только с пульта дистанционного
управления.
ВИДЕО/ИГРА
Воспроизведение необычных сигналов, таких как от Телевизионных игр и видеокассет,
взятых напрокат, может быть улучшено.
Режим ВИДЕО/ИГРА изменяется, как показано:
ВКЛ.
↔
ВЫКЛ
1
КАРТИНКА
ФУНКЦИИ
MENU
MENU
ФУ Н К Ц И И
С И Н . Э К Р А Н
В К Л .
У С Т. Ц В . К А Н А Л А С ТА Н Д .
В К Л . З А Щ И Т Ы
В Ы К Л
В И Д Е О / И Г Р А
В Ы К Л
СТАНД.
ЯРКИЙ
БЛЕДНЫЙ
MENU
1
TQB4G2705_RU.fm Page 17 Friday, May 28, 2004 1:22 PM
Содержание
- 2 Увaжaeмый клиeнт фирмы Пaнacoник; Указания по технике безопасности
- 3 Пеpед Пользованием Аппаpатом; Подключение Антенного Кабеля в Гнездо RF In; режения; Микшеp; Вставьте две батарейки.
- 4 Для просмотра через видеомагнитофонь:; Запись
- 5 Графическая Схема Главного Меню
- 6 Основные Операции; Нажмите Кнопку номера программы Вверх “; Нажмите кнопку; Устанавливaeмый диапoзон
- 7 Упpавление Меню Изобpажения; После настройки таймера включ. переключите телевизор в режим; Кнопка Быстрой Настройки; МЕНЮ CTAHДAPT
- 8 Процедура Настройки; Позиционная; ” или Вниз “
- 9 Ручная Настройка
- 10 Тонкой Настройка
- 11 Как отменить Тонкую Настройку; слева от Номера Канала.
- 12 Как Пропустить Номер Программы
- 13 Как Отменить Функцию Пропуска; ” или назад “
- 14 Выбор Цветовой Система
- 15 Изменение Позиции
- 16 Действие Меню Изображения; Когда принимается сигнал в формате NTSC.; Действие Меню Звук; МЕНЮ ДИНАМИЧЕСКИЙ; Полезный Совет
- 17 индивидуально защищён.; ВЫКЛ; ЯРКИЙ
- 18 Выявление Неиспpавностей; Симптомы
- 19 Технические Хаpактеpистики; глуб; СИСТЕМЫ; Номеp Модели












