Телефоны Panasonic KX-TMC40 - инструкция пользователя по применению, эксплуатации и установке на русском языке. Мы надеемся, она поможет вам решить возникшие у вас вопросы при эксплуатации техники.
Если остались вопросы, задайте их в комментариях после инструкции.
"Загружаем инструкцию", означает, что нужно подождать пока файл загрузится и можно будет его читать онлайн. Некоторые инструкции очень большие и время их появления зависит от вашей скорости интернета.

60
LahhsØ aggapat moÒet °stv yctahobjeh ha
ctehe.
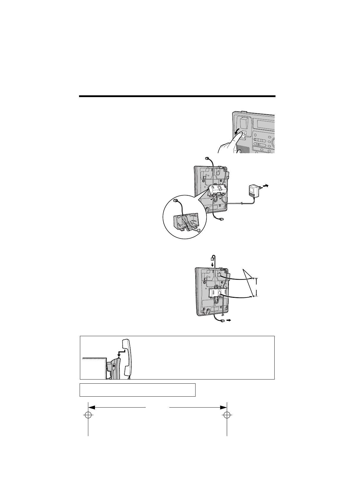
1
Halabnte ha inkcatop tpy°kn lo
qej≠ka,
≠to°s tpy°ka lepÒajacv ha
wgohke
.
2
Golcoelnhnte
ceteboØ alagtep.
CjoÒnte
tejeiohhsØ whyp
bhytpn hactehhofo
inkcatopa n
halabnte ha hefo b
ykaÎahhom ctpejkoØ
hagpabjehnn.
•
Halgncv “
UP
”
(“Bepx”) lojÒha °stv
o°paqeha bbepx.
3
„abnhtnte Bnhts, ncgojvÎyr
tpaiapet ljr hactehhoØ
yctahobkn. Golcoelnhnte
tejeiohhsØ whyp. Yctahobnte
tejeiohhsØ aggapat, Îatem
clbnhvte efo bhnÎ.
Tpaiapet hactehhoØ yctahobkn
K poÎetke
cetn gntahnr
K fheÎly
olhojnheØhofo
ahajofobofo
tejeioha
8,3 cm
Bnhts
Ljr bpemehhoØ inkcaunn tpy°kn b
gpouecce paÎfobopa paÎmectnte ee
ykaÎahhsm ha pncyhke cgoco°om.
8,3
cm
H
H
H
Haaa
acccctttteee
ehhh
hhhh
haaa
arrr
r yyyyccccttttaaa
ahhh
hooo
obbb
bkkk
kaaa
a aaa
aggg
gggg
gaaa
appp
paaa
attttaaa
a












