Страница 4 - m n
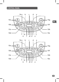
1 ПАНЕЛЬ УПРАВЛЕНИЯ ОПИСАНИЕ 1 Крышка 2 Внутренняя съемная крышка 3 Чаша мультиварки 4 Кнопка открывания крышки 5 Ручка 6 Гнездо шнура питания 7 Ложка для риса 8 Ложка для супа 9 Мерный стакан 10 Паровая корзина a 14 f k o l m n g i j h b c d e 13a 13c 13h 13d 13e 13b 13f 13g a 14 f k o l m n g i j ...
Страница 5 - ПЕРЕД ПЕРВЫМ ИСПОЛЬЗОВАНИЕМ; Распакуйте прибор; Внимательно прочтите инструкции и следуйте методике работы.; Очистка прибора
2 RU ПЕРЕД ПЕРВЫМ ИСПОЛЬЗОВАНИЕМ Распакуйте прибор • Достаньте прибор из упаковки и распакуйте все аксессуары и печатные документы. • Откройте крышку, нажав на кнопку открывания, расположенную на корпусе – рис.1 . Внимательно прочтите инструкции и следуйте методике работы. Очистка прибора • Вытащите...
Страница 6 - УКАЗАНИЯ ПО УСТРОЙСТВУ И ВСЕМ ФУНКЦИЯМ
3 УКАЗАНИЯ ПО УСТРОЙСТВУ И ВСЕМ ФУНКЦИЯМ • Тщательно протрите наружную часть чаши (особенно основание). Убедитесь в отсутствии остатков пищи или жидкости снизу чаши и на нагревательном элементе – рис.5 . • Поместите чашу в прибор, убедившись, что она установлена правильно – рис.6 . • Убедитесь в над...
Страница 7 - ТАБЛИЦА ПРОГРАММ ПРИГОТОВЛЕНИЯ ПИЩИ
4 RU ТАБЛИЦА ПРОГРАММ ПРИГОТОВЛЕНИЯ ПИЩИ Ф ункци я по дд ер ж ани я т еп ла дос тупна на Р учном режиме то льк о в том с лучае, ес ли она ес ть в режиме, на основе к от орой выс тав ля лись с обс твенные нас тройки. Например, ес ли мо дифик ации произво ди лись на основе режима «Йог ур т», гд е ф ун...
Страница 8 - КЛАВИША МЕНЮ; Если Вы хотите добавить звук, повторно нажмите на кнопку меню.; ФУНКЦИЯ ЗАПЕКАНИЯ/ВЫПЕЧКА
5 КЛАВИША МЕНЮ • В состоянии ожидания прибора нажмите на клавишу «Menu» [Меню], чтобы выбрать следующие функции: Запекание Приготовление на пару Тушение Образование корочки/ жарка Разморозка Детское питание/Бобовые* Каша Йогурт Суп/Кипячение Десерт Рис/Крупы Плов/ Ризотто Паста/Пельмени* Тесто Подог...
Страница 9 - Рекомендации для приготовления на пару; ФУНКЦИЯ ТУШЕНИЕ
6 RU • Для выбора функции «Steam» [Пароварка], нажмите на клавишу «Menu» [Меню]. На экране отобразится заданное по умолчанию время приготовления и подсветка кнопки «Start» [Запуск] начнет мерцать красным. Затем нажмите на клавиши «<» или «>», чтобы выбрать тип продуктов: овощи, рыба, птица или...
Страница 10 - ФУНКЦИЯ ЖАРКИ
7 • Для выбора функции «Crust Fry» [Жарка], нажмите на клавишу «Menu» [Меню]. На экране отобразится заданное по умолчанию время приготовления и подсветка кнопки «Start» [Запуск] начнет мерцать красным. Затем нажмите на клавиши «<» или «>», чтобы выбрать тип продуктов: овощи, рыба, птица или мя...
Страница 11 - ФУНКЦИЯ РАЗМОРОЗКА; Примечание: Для наилучшего результата поместите продукты в; ФУНКЦИЯ ПРИГОТОВЛЕНИЯ ДЕТСКОГО ПИТАНИЯ*
8 RU ФУНКЦИЯ РАЗМОРОЗКА • Нажмите кнопку «Menu» [Меню], чтобы выбрать функцию «Defrost» [Разморозка]. На экране появится время разморозки по умолчанию, индикатор кнопки «Start» [Запуск] начнет мигать красным. Затем нажимайте кнопку «<» или «>», чтобы выбрать тип продукта: овощи, рыба, птица ил...
Страница 13 - По окончании процесса приготовления функция поддержания
10 RU ФУНКЦИЯ ПРИГОТОВЛЕНИЯ КАШИ • Для выбора функции «Porridge» [Каша] нажмите на клавишу «Menu» [Меню]. На экране отобразится заданное по умолчанию время приготовления и подсветка кнопки «Start» [Запуск] начнет мерцать красным. • Нажмите на клавишу «Температура / Таймер», чтобы активировать функци...
Страница 14 - Фермент
11 ВЫБОР ИНГРЕДИЕНТОВ ДЛЯ ЙОГУРТАМолоко Какое молоко следует использовать? Все наши рецепты (за исключением отдельно обозначенных случаев) готовятся с применением коровьего молока. Вы можете использовать растительное молоко, например соевое, а также овечье или козье, но, в этом случае, плотность йог...
Страница 15 - Время ферментации
12 RU • Из одного из Ваших недавно приготовленных йогуртов – он должен быть натуральным и приготовленным недавно. Это называется культивирование. После пяти операций культивирования использованный йогурт теряет активные ферменты и, следовательно, его структура может стать менее плотной. Затем необхо...
Страница 16 - Примечание: Всегда сначала добавляйте рис, иначе будет
13 ФУНКЦИЯ ПРИГОТОВЛЕНИЯ ДЕСЕРТА • Для выбора функции «Dessert» [Десерт], нажмите на клавишу «Menu» [Меню]. На экране отобразится заданное по умолчанию время приготовления, и подсветка кнопки «Start» [Запуск] начнет мерцать красным. • Нажмите на клавишу «Temperature / Timer» [Температура / Таймер], ...
Страница 17 - ФУНКЦИЯ ПРИГОТОВЛЕНИЯ ПЛОВА/РИЗОТТО; РЕКОМЕНДАЦИИ ДЛЯ НАИЛУЧШЕГО СПОСОБА; ИНСТРУКЦИИ ПО ПРИГОТОВЛЕНИЮ БЕЛОГО РИСА - 10 стаканов
14 RU ФУНКЦИЯ ПРИГОТОВЛЕНИЯ ПЛОВА/РИЗОТТО • Для выбора функции «Pilaf/Risotto» [Плов/Ризотто], нажмите на клавишу «Menu» [Меню]. На экране отобразится « », подсветка кнопки «Start» [Запуск] начнет мерцать, нажмите на кнопку «Start» [Запуск]. Мультиварка перейдет в режим «Pilaf/Risotto» [Плов/ Ризотт...
Страница 18 - ФУНКЦИЯ ПРИГОТОВЛЕНИЯ ПАСТЫ*; В процессе приготовления пасты
15 ФУНКЦИЯ ПРИГОТОВЛЕНИЯ ПАСТЫ* • Для приготовления пасты, важно дождаться, когда вода достигнет нужной температуры, прежде чем добавлять пасту. • Для выбора функции «Pasta*» [Паста*], нажмите на клавишу «Menu» [Меню]. На экране отобразится заданное по умолчанию время приготовления, и подсветка кноп...
Страница 19 - ФУНКЦИЯ РАССТОЙКИ ТЕСТА; Во время
16 RU ФУНКЦИЯ ПЕЛЬМЕНИ* ФУНКЦИЯ РАССТОЙКИ ТЕСТА • При приготовлении пельменей важно дождаться, пока вода достигнет правильной температуры перед добавлением в нее пельменей. • Для выбора функции «Dumplings*» [Пельмени*], нажмите на клавишу «Menu» [Меню]. На экране отобразится заданное по умолчанию вр...
Страница 20 - ФУНКЦИЯ ПОДОГРЕВА
17 ФУНКЦИЯ ПОДОГРЕВА • Этот режим предназначен для подогрева уже приготовленной пищи. • Для выбора функции «Reheat» [Подогрев], нажмите на клавишу «Menu» [Меню]. На экране отобразится заданное по умолчанию время приготовления и подсветка кнопки «Start» [Запуск] начнет мерцать красным. • Нажмите на к...
Страница 21 - ФУНКЦИЯ ПОДДЕРЖАНИЕ ТЕПЛА/ОТМЕНА
18 RU ФУНКЦИЯ ПОДДЕРЖАНИЕ ТЕПЛА/ОТМЕНА У этой клавиши - 2 разных функции: Поддержание тепла и Отмена. 1. Функция поддержания тепла: 1.1 Ручная функция поддержания тепла: Вы можете нажать на клавишу «Keep warm/Cancel» [Поддержание тепла/Отмена] вручную, включится индикатор функции «Keep warm/ Cancel»...
Страница 25 - ОЧИСТКА И УХОД; Чаша, паровая корзина
22 RU ОЧИСТКА И УХОД • Перед проведением чистки и технического обслуживания, убедитесь, что мультиварка отключена от сети и полностью остыла. • Настоятельно рекомендуется очищать прибор после каждого использования при помощи губки – рис.12 . • Чашу, внутренняя съемную крышку, стакан и ложки для риса...
Страница 26 - РУКОВОДСТВО ПО УСТРАНЕНИЮ НЕИСПРАВНОСТЕЙ
23 • Не используйте воду для чистки корпуса прибора внутри, поскольку это может повредить датчик нагрева. Описание неисправности Причины Решения Лампочка любого индикатора не горит и нагрев не осуществляется. Прибор не подключен к сети питания. Проверьте, включен ли шнур питания в розетку и в сеть. ...
Страница 28 - ЗАЩИТА ОКРУЖАЮЩЕЙ СРЕДЫ; Помогите защитить окружающую среду!
25 ЗАЩИТА ОКРУЖАЮЩЕЙ СРЕДЫ Помогите защитить окружающую среду! Ваш прибор содержит материалы, пригодные для переработки и вторичного использования. Отнесите его в местный гражданский пункт сбора отходов. Примечание: Если внутренняя чаша деформирована, не используйте ее и замените на новую в авторизо...