Tatramat OVK 121P - Инструкция по эксплуатации

Tatramat OVK 121P

Водонагреватель Tatramat OVK 121P - инструкция пользователя по применению, эксплуатации и установке на русском языке. Мы надеемся, она поможет вам решить возникшие у вас вопросы при эксплуатации техники.

Если остались дополнительные вопросы — свяжитесь с нами через контактную форму.

1 Страница 1
2 Страница 2
3 Страница 3
4 Страница 4
5 Страница 5
6 Страница 6
7 Страница 7
8 Страница 8
9 Страница 9
10 Страница 10
Страница: / 10
Загрузка инструкции

SK

CZ

DE

PL

EN

Elektrické a kombinované
akumulačné ohrievače vody
Návod na montáž a obsluhu

Elektrické a kombinované
akumulační ohřívače vody
Návod na montáž a obsluhu

Elektrische und kombinierte
speicherwasserwärmer
Installations- und Bedienungsanleitung

Ogrzewacze wody pojemnościowe
elektryczne i kombinowane
Instrukcja montažu i obsługi

Electric and combined storage
water heaters
Instructions for installation and use

RUS

UA

Электрические и комбинированные
аккумуляционные водонагреватели
Руководство по установке
и обслуживанию

Електричні і комбіновані
накопичувальні водонагрівачі
Інструкція по встановленню
та обслуговуванню

LV

LT

EST

Elektriskie un kombinētie ūdens sildītāji
Lietošanas un uzstādīšanas noteikumi

Elektrinis ir kombinuotas
vandens šildytuvas
Instaliavimo ir naudojimo instrukcijos

Elektri-ja kombineeritud
küttega vee mahtboiler
Juhised installeerimiseks ja kasutuseks

5

11

17

23

29

35

41

47

53

59

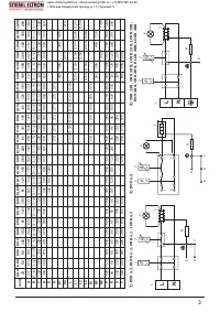
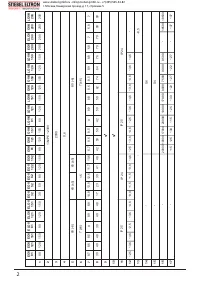
EOV 81
EOV 121
EOV 151
EOV 200

ELOV 81
ELOV 121
ELOV 151
ELOV 200

EOV 32
EOV 52
EOV 82
EOV 122
EOV 152

OVK 81
OVK 121
OVK 151
OVK 200

LOVK 81
LOVK 121
LOVK 151
LOVK 200

OVK 120
OVK 150

LOVK 120
LOVK 150

2006-08

TATRAMAT - ohrievače vody, s.r.o.

www.stiebel-gmbh.ru • info@stiebel-gmbh.ru • +7 (495) 565-34-82
г. Москва, Каширский проезд, д. 17, строение 5

"Загрузка инструкции" означает, что нужно подождать пока файл загрузится и можно будет его читать онлайн. Некоторые инструкции очень большие и время их появления зависит от вашей скорости интернета.

Характеристики

Другие модели - Водонагреватели Tatramat

Все водонагреватели Tatramat