Сварочное оборудование Eurolux IWM-250 - инструкция пользователя по применению, эксплуатации и установке на русском языке. Мы надеемся, она поможет вам решить возникшие у вас вопросы при эксплуатации техники.
Если остались вопросы, задайте их в комментариях после инструкции.
"Загружаем инструкцию", означает, что нужно подождать пока файл загрузится и можно будет его читать онлайн. Некоторые инструкции очень большие и время их появления зависит от вашей скорости интернета.

- 7 -
 
 
 
короткого
замыкания
более
1,5
секунд
(
прилипание
электрода
)
аппарат
выключается
.
Включение
происходит
автоматически
.
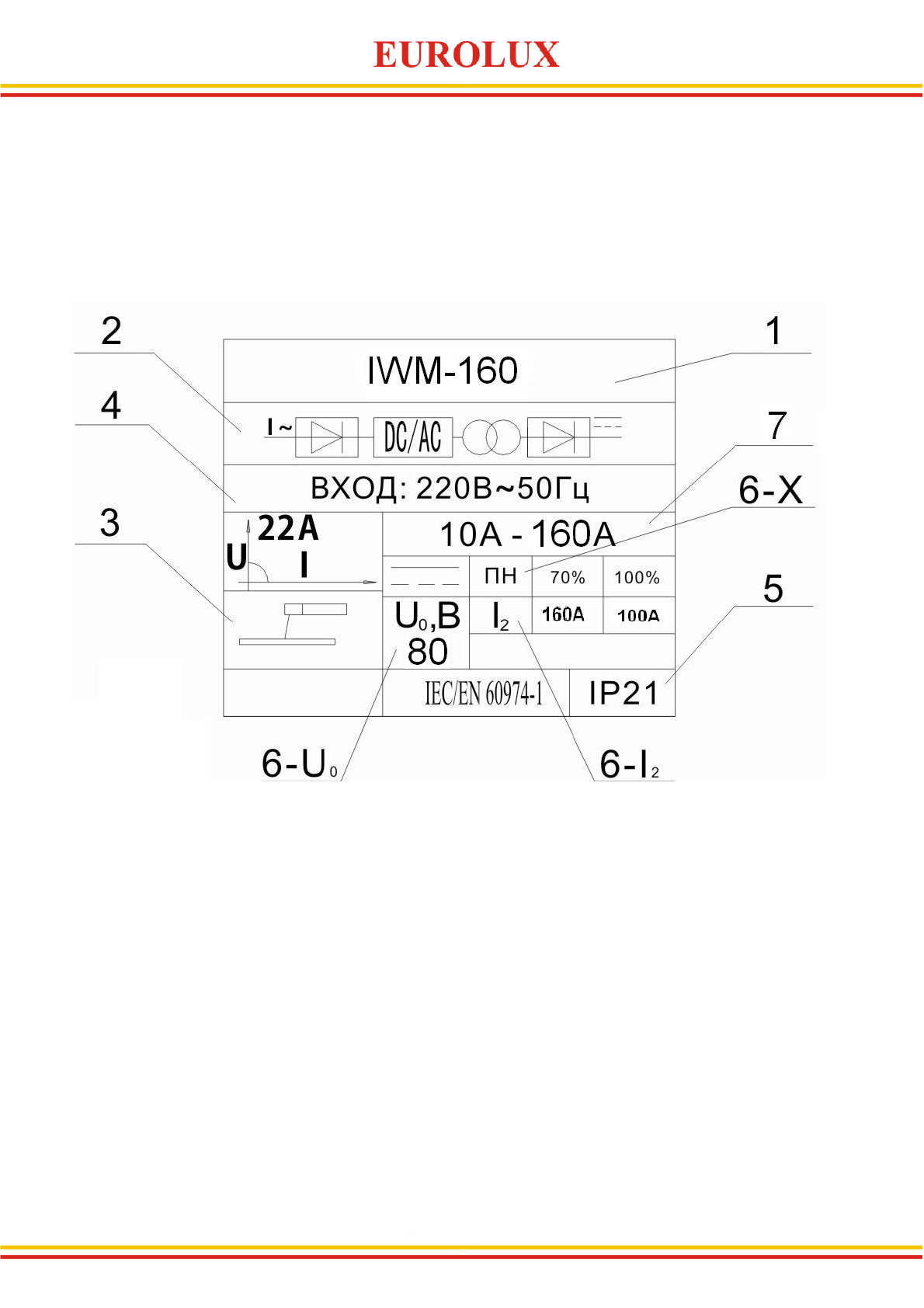
5.
Технические
данные
.
Технические
данные
относящиеся
к
эксплуатационным
параметрам
,
можно
увидеть
на
задней
панели
,
символьные
значения
которых
расшифровываются
следующим
образом
:
1.
Тип
изделия
указанный
производителем
.
2.
Тип
структурной
схемы
аппарата
:
выпрямитель
–
инвертор
–
трансформатор
–
выпрямитель
.
3.
Символ
типа
сварки
:
ручная
дуговая
сварка
покрытым
электродом
.
4.
Напряжения
питающей
сети
:
однофазное
переменное
напряжение
.
5.
Степень
защиты
: IP 21.
Защита
от
твердых
инородных
тех
диаметром
более
12
мм
и
против
вертикально
падающих
капель
воды
.
6.
Характеристики
сварочного
цикла
:
- U
o
–
максимальное
напряжение
при
холостом
ходе
на
пике
(
цепь
сварки
разомкнута
).
- I
2
–
ток
,
который
сварочный
аппарат
может
обеспечивать
во
время
процесса
сварки
,
являющегося
стандартным
.
-
Х
–
продолжительность
включения
.
Отношение
продолжительности
работы
под
нагрузкой
к
продолжительности
полного
цикла
работы
.
Коэффициент
указывается
в
Характеристики
Остались вопросы?Не нашли свой ответ в руководстве или возникли другие проблемы? Задайте свой вопрос в форме ниже с подробным описанием вашей ситуации, чтобы другие люди и специалисты смогли дать на него ответ. Если вы знаете как решить проблему другого человека, пожалуйста, подскажите ему :)

 
  
  
  
  
  
  
  
  
  
  
  
  
  
  
  
 






