Сварочное оборудование Blue Weld Prestige 175 PRO - инструкция пользователя по применению, эксплуатации и установке на русском языке. Мы надеемся, она поможет вам решить возникшие у вас вопросы при эксплуатации техники.
Если остались вопросы, задайте их в комментариях после инструкции.
"Загружаем инструкцию", означает, что нужно подождать пока файл загрузится и можно будет его читать онлайн. Некоторые инструкции очень большие и время их появления зависит от вашей скорости интернета.

- 5 -
www.blueweld.ru
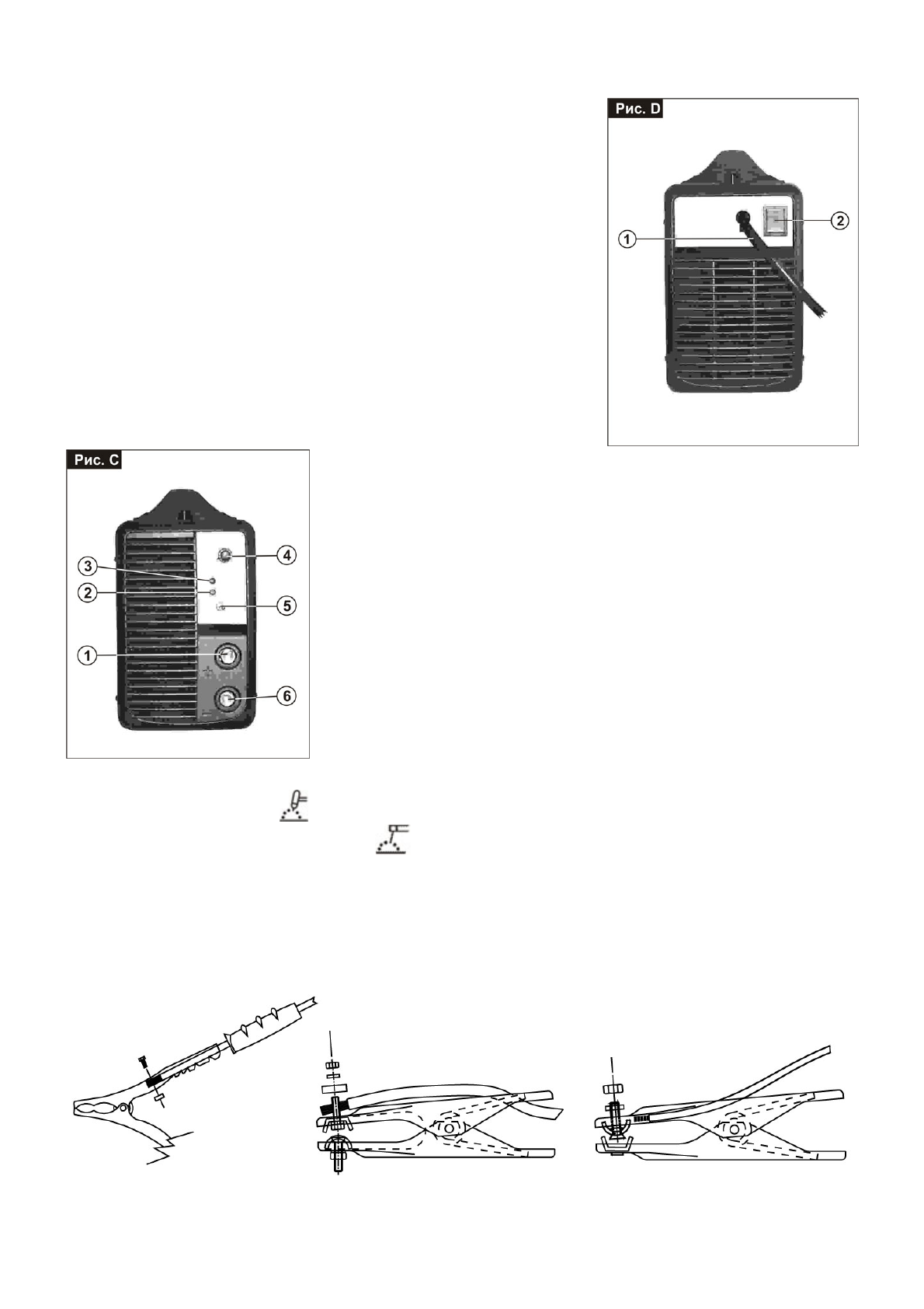
7.
Подключение
,
регулировка
и
индикация
.
7.1.
Задняя
панель
.
1.
Питающий
кабель
(
однофазный
с
занулением
).
2.
Выключатель
питания
О
/
выключен
, I/
включен
.
7.2.
Передняя
панель
.
1.
Быстрозажимная
клемма
«
плюс
»
для
подсоединения
сварочного
кабеля
.
2.
Желтый
индикатор
(
не
горит
в
нормальном
состоянии
).
Если
он
загорелся
,
значит
подача
сварочного
тока
заблокирована
и
дальнейшая
работа
не
возможна
по
одной
из
следующих
причин
:
−
срабатывание
термозащиты
:
слишком
высокая
температура
внутри
корпуса
прибора
.
Аппарат
включен
,
но
сварочный
ток
не
будет
подаваться
до
тех
пор
,
пока
температура
не
понизится
до
нормального
значения
.
При
ее
понижении
включение
произойдет
автоматически
;
−
недопустимая
величина
сетевого
напряжения
:
когда
напряжение
сети
становится
слишком
высоким
или
слишком
низким
,
то
работа
сварочного
аппарата
блокируется
.
−
срабатывание
защиты
от
короткого
замыкания
:
в
случаях
продолжительности
короткого
замыкания
аппарат
выключается
.
3.
Зеленый
индикатор
:
его
индикация
показывает
,
подключено
ли
электропитание
к
сварочному
аппарату
.
Если
индикации
нет
то
аппарат
либо
не
получает
питание
,
либо
неисправен
.
4.
Потенциометр
для
регулировки
сварочного
тока
со
шкалой
,
градуированной
в
амперах
,
позволяющий
производить
регулировку
во
время
сварки
.
5.
Выбор
режима
:
1.
режим
TIG
сварки
(
).
2.
режим
электродной
ММА
сварки
(
).
6.
Быстрозажимная
клемма
«
минус
»
для
подсоединения
сварочного
кабеля
.
8.
Подготовка
к
работе
.
8.1.
Сборка
сварочного
аппарата
.
Снять
со
сварочного
аппарата
упаковку
,
выполнить
сборку
отсоединенных
частей
,
имеющихся
в
упаковке
.
-
собрать
обратный
кабель
с
зажимом
www.blueweld.ru
Содержание
- 4 Примечание; Структурная
- 5 Подготовка
- 6 Сварка
