Сварочное оборудование Aurora PRO SKYWAY 330 SYNERGIC MIG MAG MMA - инструкция пользователя по применению, эксплуатации и установке на русском языке. Мы надеемся, она поможет вам решить возникшие у вас вопросы при эксплуатации техники.
Если остались вопросы, задайте их в комментариях после инструкции.
"Загружаем инструкцию", означает, что нужно подождать пока файл загрузится и можно будет его читать онлайн. Некоторые инструкции очень большие и время их появления зависит от вашей скорости интернета.
Загружаем инструкцию

31
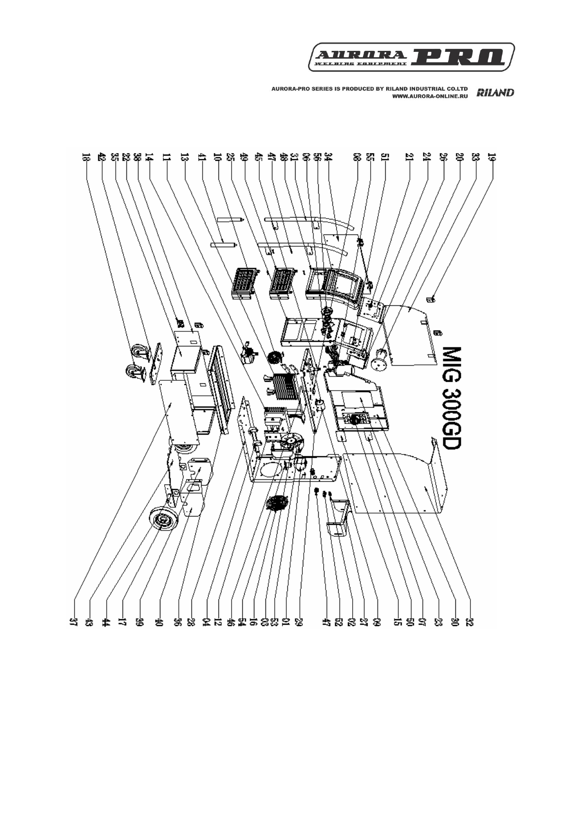
Приложение II Схема электрической цепи
Содержание
- 3 Содержание
- 4 Меры предосторожности; Проволока, вылетающая из горелки может повредить глаза, руки
- 8 Описание аппарата; Общая информация
- 9 Технические параметры; Модель
- 10 Инструкция по установке; Установка SKYWAY 330 SYNERGIC
- 13 Эксплуатация; Дисплей передней панели; Описание
- 14 Инструкция по эксплуатации; Дисплей
- 19 Перегрев; Рабочее помещение
- 20 Возможные проблемы и их устранение
- 21 Ежедневная диагностика и обслуживание; Ежедневное обслуживание
- 22 Ежедневная проверка
- 24 Возможные неисправности и способы их устранения; Неисправности и способы их устранения на SKYWAY 330 SYNERGIC :
- 25 ДИАГНОСТИКА НЕИСПРАВНОСТЕЙ НА РАННЕМ ЭТАПЕ; Диагностика первичных неисправностей
- 27 Приложение I Таблица сварочных параметров; электрода, в соответствии с таблицей; Диаметр; Различные сварочные параметры при работе в режиме MIG