Сушильные машины Electrolux EW6CR527P - инструкция пользователя по применению, эксплуатации и установке на русском языке. Мы надеемся, она поможет вам решить возникшие у вас вопросы при эксплуатации техники.
Если остались вопросы, задайте их в комментариях после инструкции.
"Загружаем инструкцию", означает, что нужно подождать пока файл загрузится и можно будет его читать онлайн. Некоторые инструкции очень большие и время их появления зависит от вашей скорости интернета.

3. БҰЙЫМ СИПАТТАМАСЫ
1
2
5
3
4
6
7
8
9
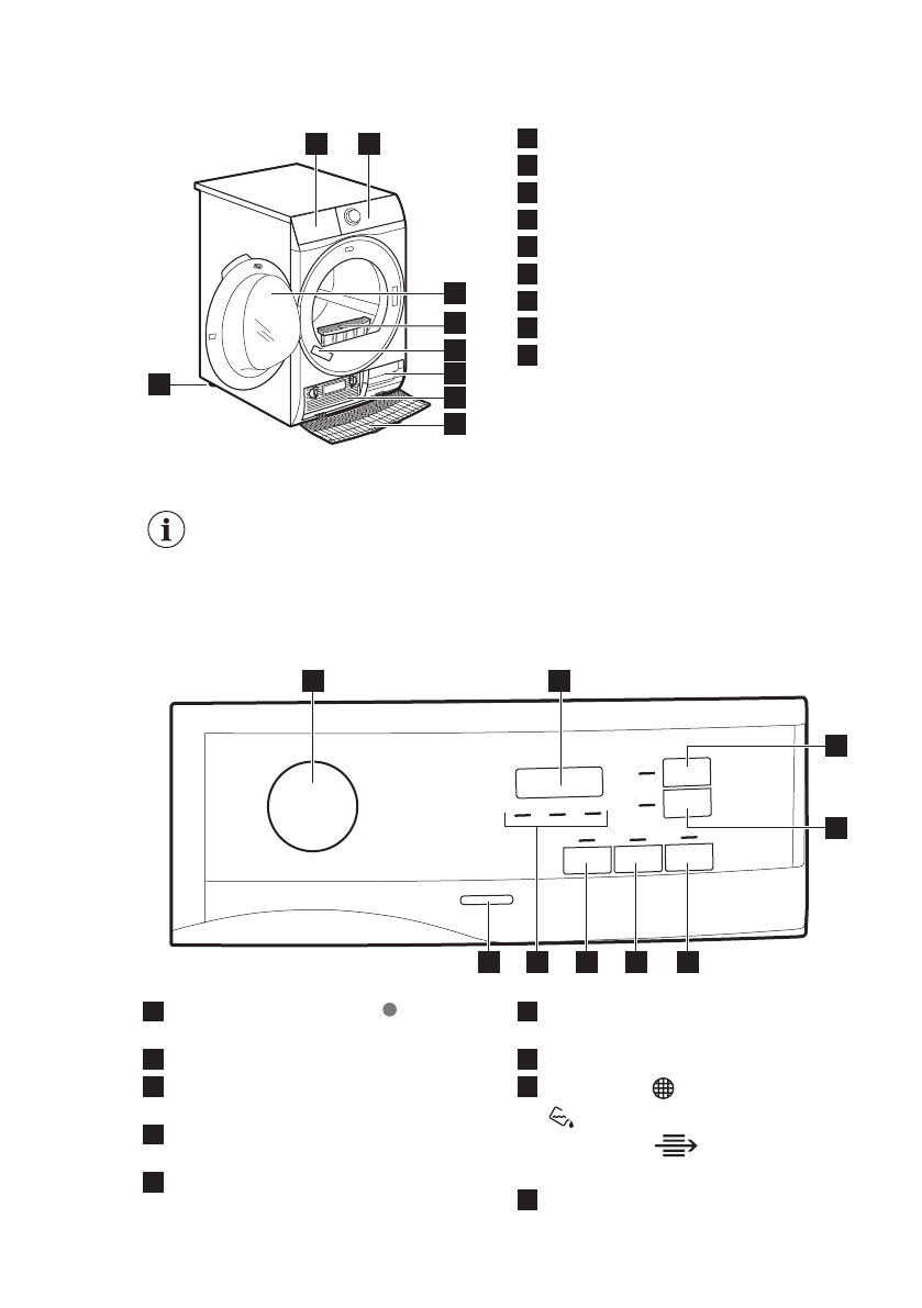
1
Су сауыты
2
Басқару панелі
3
Құрылғының есігі
4
Сүзгі
5
Техникалық ақпарат тақтайшасы
6
Ауа саңылаулары
7
Қызу алмастырғыштың қақпағы
8
Қызу алмастырғыштың қалқаны
9
Реттемелі тірек
Кірді оңай салу үшін
немесе ауыстырылатын
есікті оңай орнату үшін.
(ілеспе парақты қараңыз).
4. БАСҚАРУ ПАНЕЛІ
1
7
8
9
6
5
3
4
2
1
Бағдарлама тетігі және RESET
түймешігі
2
Дисплей
3
Сушка по времени(Уақыт)
түймешігін басыңыз
4
Кешіктіріп бастау түймешігін
басыңыз
5
Бастау/Үзіліс түймешігін басыңыз
6
Антисминание+ (Мыжылудан
сақтау+) түймешігін басыңыз
7
Нәзік маталар түймешігін басыңыз
8
Индикатор: сүзгіні тазалаңыз,
төгілетін су сауытын
босатыңыз,
конденсаторды
тексеріңіз
9
Қосу/Өшіру түймешігі
ҚАЗАҚ
7
Содержание
- 25 возможностями
- 26 Общие правила техники безопасности
- 28 УКАЗАНИЯ ПО БЕЗОПАСНОСТИ; электросети
- 34 Функция «Защита от; детей»
- 35 Настройка остаточной; влажности белья; Индикация контейнера; для конденсата
- 36 Запуск программы без; отсрочки пуска; Запуск программы с; отсрочкой
- 37 Изменение выбранной; программы; По окончании программы
- 39 Слив воды из контейнера для сбора конденсата
- 40 Очистка теплообменника
- 41 управления и корпуса; Очистка вентиляционных; щелей; ПОИСК И УСТРАНЕНИЕ НЕИСПРАВНОСТЕЙ
- 42 Результаты сушки; неудовлетворительны; ТЕХНИЧЕСКИЕ ДАННЫЕ
- 43 Данные по потреблению энергии
- 44 КРАТКОЕ РУКОВОДСТВО; использование
- 45 Таблица программ
- 47 ОХРАНА ОКРУЖАЮЩЕЙ СРЕДЫ
Характеристики
Остались вопросы?Не нашли свой ответ в руководстве или возникли другие проблемы? Задайте свой вопрос в форме ниже с подробным описанием вашей ситуации, чтобы другие люди и специалисты смогли дать на него ответ. Если вы знаете как решить проблему другого человека, пожалуйста, подскажите ему :)












